OWNER’S MANUAL
36” Glass Canopy Chimney Vent Hood
MODEL INFORMATION
MODEL NUMBERS
- ZV900
- ZV925
WRITE DOWN THE MODEL AND SERIAL NUMBERS
You’ll find them on a label on the hood.
Use these numbers in any correspondence or service calls concerning your appliance.
Please write these numbers here:
Model Number
Serial Number
CONSUMER SUPPORT
MONOGRAM WEBSITE
Have a question or need assistance with your appliance? Try the Monogram website 24 hours a day, any day of the year! You can also shop for more great Monogram products and take advantage of all our online support services designed for your convenience. In the US: monogram.com or in Canada: monogram.ca
REGISTER YOUR APPLIANCE
Register your new appliance online at your convenience! Timely product registration will allow for enhanced communication and prompt service under the terms of your warranty, should the need arise. You may also mail in the pre-printed registration card included in the packing material. In the US: monogram.com/register or in Canada: Prodsupport.mabe.ca/crm/Products/ProductRegistration.aspx
SCHEDULE SERVICE
Expert Monogram repair service is only one step away from your door. To request service in the US, visit our website at monogram.com/contact. or in Canada, visit our website at monogram.ca/contact
REMOTE CONNECTIVITY
For assistance with wireless network connectivity (for models with remote enable), visit our website at monogram.com/connect
PARTS AND ACCESSORIES
Individuals qualified to service their own appliances can have parts or accessories sent directly to their homes (VISA, MasterCard, and Discover cards are accepted). Order online today 24 hours every day.
In the US: monogram.com/use-and-care/parts
Instructions contained in this manual cover procedures to be performed by any user. Other servicing generally should be referred to qualified service personnel. Caution must be exercised, since improper servicing may cause unsafe operation.
Customers in Canada should consult the nearest Mabe service center, visit our website at monogram.ca
CONTACT US
If you are not satisfied with the service you receive from Monogram, contact us on our website with all the details including your phone number, or write to:
In the US: General Manager, Customer Relations | Monogram Appliances, Appliance Park | Louisville, KY 40225 monogram.com/contact
In Canada: monogram.ca/contact
IMPORTANT SAFETY INFORMATION
READ ALL INSTRUCTIONS BEFORE USING THE APPLIANCE
Read all safety instructions before using the product. Failure to follow these instructions may result in fire, electrical shock, serious injury, or death.
GENERAL SAFETY INSTRUCTIONS
TO REDUCE THE RISK OF FIRE, ELECTRIC SHOCK, OR INJURY TO PERSONS, OBSERVE THE FOLLOWING:
A. Use this unit only in the manner intended by the manufacturer. If you have questions, contact the manufacturer.
B. Before servicing or cleaning the unit, switch power off at the service panel and lock the service disconnecting means to prevent power from being switched on accidentally. When the service disconnecting means cannot be locked, securely fasten a prominent warning device, such as a tag, to the service panel.
C. Do not use this unit with any solid-state speed control device.
D. This unit must be grounded.
CAUTION FOR GENERAL VENTILATING USE ONLY. DO NOT USE TO EXHAUST HAZARDOUS OR EXPLOSIVE MATERIALS AND VAPORS.
TO REDUCE THE RISK OF INJURY TO PERSONS IN THE EVENT OF A RANGE TOP GREASE FIRE, OBSERVE THE FOLLOWING*:
A. SMOTHER FLAMES with a close-fitting lid, cookie sheet, or metal tray, then turn off the burner. BE CAREFUL TO PREVENT BURNS. If the flames do not go out immediately, EVACUATE AND CALL THE FIRE DEPARTMENT.
B. NEVER PICK UP A FLAMING PAN—You may be burned.
C. DO NOT USE WATER, including wet dishcloths or towels—a violent steam explosion will result.
D. Use an extinguisher ONLY if:
- You know you have a Class ABC extinguisher, and you already know how to operate it.
2. The fire is small and contained in the area where it started.
3. The fire department is being called.
4. You can fight the fire with your back to an exit.
* Based on “Kitchen Firesafety Tips” published by NFPA.
TO REDUCE THE RISK OF A RANGE TOP GREASE FIRE:
A. Never leave surface units unattended at high settings.
Boilovers cause smoking and greasy spillovers that may ignite. Heat oils slowly on low or medium settings.
B. Always turn hood ON when cooking at high heat or when flambéing food (i.e. Crepes Suzette, Cherries Jubilee, Peppercorn Beef Flambé).
C. Clean ventilating fans frequently. Grease should not be allowed to accumulate on the fan or filter.
D. Use proper pan size. Always use cookware appropriate for the size of the surface element.
TO REDUCE THE RISK OF FIRE, ELECTRIC SHOCK, OR INJURY TO PERSONS, OBSERVE THE FOLLOWING:
A. Installation work and electrical wiring must be done by a qualified person(s) in accordance with all applicable codes and standards, including fire-related construction.
B. Sufficient air is needed for proper combustion and exhausting of gases through the flue (chimney) of fuel-burning equipment to prevent back drafting. Follow the heating equipment manufacturer’s guidelines and safety standards such as those published by the National Fire Protection Association (NFPA), and the American Society for Heating, Refrigeration and Air Conditioning Engineers (ASHRAE), and the local code authorities. When applicable, install any makeup (replacement) air system in accordance with local building code requirements. Visit Monogram.com for available makeup air solutions.
C. When cutting or drilling into a wall or ceiling, do not damage electrical wiring and other hidden utilities.
D. Ducted fans must always be vented to the outdoors.
TO REDUCE THE RISK OF FIRE, USE ONLY METAL DUCTWORK.
- Do not attempt to repair or replace any part of your hood unless it is specifically recommended in this manual. All other servicing should be referred to a qualified technician.
CAUTION AUTOMATICALLY OPERATED DEVICE. TO REDUCE THE RISK OF INJURY, DISCONNECT FROM THE POWER SUPPLY BEFORE SERVICING. THE UNIT IS EQUIPPED WITH AN INTEGRAL DISCONNECTING SWITCH LOCATED INSIDE THE BLOWER HOUSING.
READ AND SAVE THESE INSTRUCTIONS
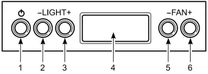
CONTROLS AND FEATURES
CONTROLS
NOTE: Avoid using food products that produce flames under the range hood.
- POWER ON/OFF. Press to activate (turn on)/deactivate (turn off) the control buttons. When the buttons are active (turned on), their outer rings will be illuminated.
When active (turned on), the hood lights and fan will automatically turn on at their last settings.
NOTES:
• Always deactivate (turn off) the buttons when the hood is not in use.
• If both the LIGHT and FAN are set to OFF, the buttons will automatically deactivate (turn off) after 10 seconds. - LIGHT DECREASES ON/OFF. Press to turn on and dim the lights. It remembers the last light level used. The buttons allow you to cycle around to the desired setting.
(There are four light levels/settings and OFF.) - LIGHT INCREASE ON/OFF. Press to turn on and brighten the lights. It remembers the last light level used. The buttons allow you to cycle around to the desired setting. (There are four light levels/settings and OFF.)
- Display. Shows the fan setting.
- FAN DECREASE ON/OFF. Press to turn on and decrease fan settings. It remembers the last fan level used. The buttons allow you to cycle around to the desired setting. (Use to set the fan speed to LOW, MED, HIGH, BOOST, or OFF.)
- FAN INCREASE ON/OFF. Press to turn on and increase fan settings. It remembers the last fan level used. The buttons allow you to cycle around to the desired setting. (Use to set the fan speed to LOW, MED, HIGH, BOOST, or OFF.)
BOOST—Provides five minutes at the maximum fan setting and then automatically sets to the HIGH fan.
SENSOR FEATURE—The hood fan will automatically turn on at the MED setting and the display will show AUTO MODE ON if cooking temperatures become too hot. The fan will stay on for a minimum of 3 minutes and will then turn off when temperatures cool to an appropriate level.
LOCATE ON/OFF SWITCH. Grasp the filter handle, press inward, and then pull down. Remove charcoal filter, if present. Reach into the motor compartment and locate
the ON/OFF push-button switch on the side of the motor.
Press switch to OFF position.

CARE AND CLEANING
FOR YOUR SAFETY
Before servicing or cleaning the unit, switch power off at the service panel and lock the service panel to prevent power from being switched on accidentally.
If the service panel cannot be locked, fasten a tag or prominent warning label to the panel.
METAL GREASE FILTER
The metal filter traps grease released by foods on the cooktop. The filter also helps prevent flames (from food, grease) from damaging the inside of the hood.
For this reason, the filter must ALWAYS be in place when the hood is used. The grease filter should be cleaned every 6 months, or as needed.

To remove:
Grasp the filter lock and pivot it open to release. Pull the filter down and out.
To replace:
- Place the two tabs on the filter edge into the locating slots on the left or right side of the hood opening.
- Push the filter up, open the filter lock and snap it into place in the hood.
To clean, swish the filter in hot soapy water and rinse in clean water or wash it in the dishwasher. Do not use abrasive cleansers.
CHARCOAL FILTER (on some models)
If the model is not vented to the outside, the air will be recirculated through a disposable charcoal filter that helps remove smoke and odors.
The charcoal filter should be replaced when it is noticeably dirty or discolored (usually after 6 to 12 months, depending on hood usage).
NOTE: DO NOT rinse, or put the charcoal filter in an automatic dishwasher.
The charcoal filter cannot be cleaned. It must be replaced.
Order Charcoal Filter WB02X11284.
To inquire about purchasing replacement charcoal filters or to find the location of a dealer nearest you, please visit monogram.com
To remove:
- Remove the metal filter—see the Metal grease filter section above.
2. Remove the two thumbscrews and lower the filter down and out.

To replace:
- Place the new filter over the filter mounting bolts in the hood and secure it with the thumbscrews.
- Replace the metal filter—see the Metal grease filter section above.
GLASS CANOPY
Clean with a damp, soapy cloth and dry with a clean cloth.
A glass cleaner may also be used.
STAINLESS STEEL HOOD SURFACES
Do not use a steel wool pad; it will scratch the surface.
To clean the stainless steel surface, use warm sudsy water or a stainless steel cleaner or polish. Always wipe the surface in the direction of the grain. Follow the cleaner instructions for cleaning the stainless steel surface.
To inquire about purchasing stainless steel appliance cleaner or polish, or to find the location of a dealer nearest you, visit monogram.com
LIGHT BULBS
To change the light bulbs:

- Remove the inner lamp lens cover by inserting a small flat blade screwdriver into each of the three slots and gently prying it free.
NOTE: Do not remove the outer trim ring (lamp assembly). - Grasp the bulb and pull it straight out.
- Replace with the same wattage, type, and size bulb.
Wear Gloves. Do not touch the bulb with your bare fingers.
These 12 volts, 20-watt halogen bulbs with a G4 base are available at specialty lighting stores and home building centers.
NOTE: If WRONG WATT BULB appears in the display, the wrong kind of replacement bulb has been used.
Replace with the same wattage, type, and size bulb as the one removed. - Replace the inner cover by inserting the three retaining tabs into the three slots and pressing them firmly in place.
NOTE: Make sure the tabs are inserted into the slots.
TROUBLESHOOTING
Save time and money! Review the charts on the following pages first and you may not need to call for service.
Problem | Possible Cause | What To Do |
| Fan automatically turns on and can not be turned off | The Sensor feature will automatically turn the fan on at the MED setting and the display will show AUTO MODE ON if cooking temperatures become too hot. The fan will stay on for a minimum of 3 minutes and will then turn off when temperatures cool to an appropriate level. | |
| The fan does not operate when turned on | A fuse may be blown or a circuit breaker tripped. | Replace fuse or reset circuit breaker. |
| The power disconnect switch inside the hood may be switched off. | Remove the metal grease filter and the charcoal filter (if present) and flip the switch on. | |
| Fan fails to circulate air or moves air slower than normal | Check to be sure the metal grease filter and the charcoal filter (if present) are clean. Clean the metal grease filter (see the Metal grease filter section) and, if the hood is recirculated (not vented to the outside), replace the charcoal filter (see the Charcoal filter section). If cleaning and replacing the filters does not correct the problem, call for service. | |
| Sufficient makeup (replacement) air is required for exhausting appliances to operate to rating. | Check with local building codes, which may require or strongly advise the use of makeup air. Visit Monogram.com for available makeup air solutions. | |
| The fan keeps going off and on | The motor is probably overheating and turning itself off. This can be harmful to the motor. | Check to be sure the filter is clean. If it continues to cycle on and off, call for service. |
| Light will not stay on high setting or “wrong watt bulb” appears in the display | Use 12 volts, 20-watt halogen bulbs with a G4 base and make sure they are inserted securely. See the Light bulbs section. | |
| The hood controls or display are not operating correctly | Disconnect power to the hood by removing the fuse or turning the circuit breaker off in the home fuse box. Wait 30 seconds to allow the hood controls to reset and then replace the fuse or move the circuit breaker back on. | |
| Sequential presses of the light or fan buttons will sometimes change the setting from the lowest setting— to off to the highest setting, or from the highest setting—to off—to the lowest setting | It is normal for the light and fan buttons to cycle around through the settings so that you can easily set the controls to the desired setting. | |
| When pressing the power on/off button to turn on the light, the fan comes on instead | For your convenience, it is normal for the lights and fans to remember their last setting when you press the Power On/Off button. If you want only the lights on, press the TAN +” (or the “FAN —” ) button until “Off’ is in the display. When you power the hood up next time, only the lights will function. |
MONOGRAM LIMITED WARRANTY
Monogram.com
All warranty service is provided by our Factory Service Centers or an authorized Customer Care® technician. To schedule service online, visit us at monogram.com/contact. In Canada, visit monogram.ca.
Servicing your range hood may require the use of the onboard data port for diagnostics. This gives a Monogram Factory Service technician the ability to quickly diagnose any issues with your appliance and helps Monogram improve its products by providing Monogram with information on your appliance. If you do not
want your appliance data to be sent to Monogram, please advise your technician NOT to submit the data to Monogram at the time of service.
For the period of | Monogram Appliances will replace |
Limited two-year warranty | For two years from the date of original purchase, we will provide, free of charge, parts, and service labor in your home to repair or replace any part of the vent hood that fails because of a manufacturing defect. |
What Monogram will not cover:
- Service trips to your home to teach you how to use the product.
- Replacement of house fuses or resetting of circuit breakers.
- Incidental or consequential damage caused by possible defects with this appliance.
- Replacement of the filters.
- Damage to the product caused by accident, fire, floods, or acts of God.
- Failure of the product if it is used for other than its intended purpose or used commercially.
- Improper installation, delivery, or maintenance.
- Damage caused after delivery.
- Product not accessible to provide required service.
- Installation or service for a makeup (replacement) air system.
EXCLUSION OF IMPLIED WARRANTIES
Your sole and exclusive remedy is product repair as provided in this Limited Warranty. Any implied warranties, including the implied warranties of merchantability or fitness for a particular purpose, are limited to one year or the shortest period allowed by law.
This limited warranty is extended to the original purchaser and any succeeding owner for products purchased for home use within the USA. If the product is located in an area where service by a Monogram Authorized Servicer is not available, you may be responsible for a trip charge or you may be required to bring the product to an Authorized
Monogram Service location for service. In Alaska, the limited warranty excludes the cost of shipping or service calls to your home.
Some states do not allow the exclusion or limitation of incidental or consequential damages. This limited warranty gives you specific legal rights, and you may also have other rights which vary from state to state. To know what your legal rights are, consult your local or state consumer affairs office or your state’s Attorney General.
Warrantor: GE Appliances, a Haier company, Louisville KY,40225
Warrantor in Canada: MC Commercial, Burlington, ON, L7R 5B6
Staple your receipt here. Proof of the original purchase date is needed to obtain service under the warranty.
NOTES
49-80403 Rev. 6
10-19 GEA
Printed in Mexico


















