User Manual
Stand Mixer
MODEL: CHSM53MB
- READ these instructions carefully before installing and operating the appliance. Keep them for further reference.
- Record in the space below the “SERIAL/MODEL NUMBER” found on the back or bottom of your appliance and retain this information for future reference.
SERIAL NUMBER:
MODEL NUMBER:
DATE OF PURCHASE:
Save and staple your sales receipt to your manual for warranty coverage.
SAFETY INFORMATION
DANGER
DANGER – Immediate hazards which WILL result in severe personal injury or death
WARNING
WARNING – Hazards or unsafe practices which COULD result in severe personal injury or death
CAUTION
CAUTION – Hazards or unsafe practices which COULD result in minor personal injury
IMPORTANT SAFETY INSTRUCTIONS
WARNING
When using electrical appliances, basic safety precautions should be followed, including the following
- READ ALL INSTRUCTIONS BEFORE USE
- To protect against risk of electric shock, do not immerse cord, plug or unit in water or other liquid.
- This appliance is not intended for use by persons (including children) with reduced physical, sensory, or mental capabilities, or lack of experience and knowledge, unless they are closely supervised and instructed concerning use of the appliance by a person responsible for their safety. Close supervision is necessary when any appliance is used by or near children. Children should be supervised to ensure that they do not play with the appliance.
- Turn the appliance OFF, then unplug from the outlet when not in use, before assembling or disassembling parts and before cleaning. To unplug, grasp the plug and pull from the outlet. Never pull from the power cord.
- Avoid contacting moving parts. Keep hands, hair, clothing, as well as spatulas and other utensils away from beaters during operation to reduce the risk of injury to persons, or damage to the mixer.
- Do not operate any appliance with a damaged cord or plug or after the appliance malfunctions or has been damaged in any manner. Contact the manufacturer at their customer service telephone number for information on examination, repair, or adjustment.
- The use of attachments not recommended or sold by the manufacturer may cause fire, electric shock or injury.
- Do not use outdoors.
- Do not let cord hang over the edge of the table or counter.
- Do not let cord contact hot surface, including the stove.
- Remove beaters from mixer before washing.
- Do not touch acidic food or soak in acidic solution for stirring accessories.
SAVE THESE INSTRUCTIONS
HOUSEHOLD USE ONLY
SAFETY INFORMATION
NOTE: Failure to follow instructions and safety precautions is a misuse of your Mixer that can void warranty and increase risk of serious injury.
ELECTRICAL REQUIREMENTS
This appliance has a polarized plug (one blade is wider than the other). To reduce the risk of electric shock, this plug is intended to fit into a polarized outlet only one way. If the plug does not fit into the outlet, reverse the plug. If it still does not fit, contact a qualified electrician. Do not attempt to modify the plug in any way.
POWER SUPPLY CORD
- A short power supply cord is provided to reduce the risk of becoming entangled in or tripping over a longer cord.
- If the power supply cord is too short, do not use an extension cord. Have a qualified electrician or serviceman install an outlet near the appliance.
- If it is absolutely necessary to use longer cord sets or an extension cord, extreme care must be exercised.
a) The marked electrical rating of the cord set or extension cord must equal to or be greater than the electrical rating of the appliance. The longer cord should be arranged so that it will not drape over the counter top or table top where it can be pulled on by children or tripped over unintentionally.
NOTE: Neither Commercial Chef nor the dealer can accept any liability for damage to the product or personal injury resulting from failure to observe the electrical connection procedures.
SAFETY SYSTEM
This appliance is equipped with motor thermal protector. If the appliance overheats, it switches off automatically. Unplug the appliance and let it cool down until room temperature then put the main plug back into the power outlet and switch on the appliance again. Please contact your dealer or an authorized service center if it is activated too often.
SET UP & USE
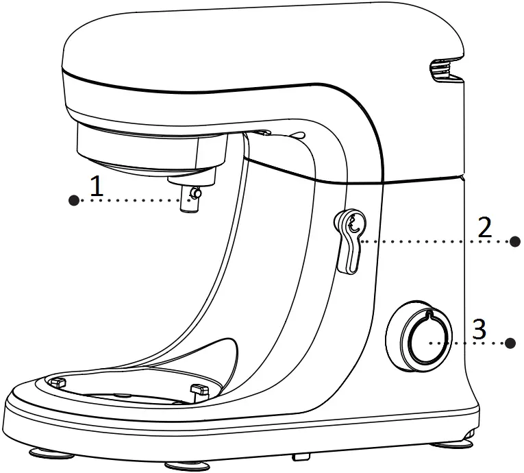
PARTS & FEATURES

- Tool connector
- Arm release button
- Control dial

Dough hook Whisk Beater

- Bowl (4.5L)
- Splash guard
TECHNICAL DATA OF THE PRODUCT
- Rated voltage: 120V
- Rated frequency: 60 Hz
- Rated power: 350W
INSTRUCTIONS FOR USE
- Always make sure mixer is unplugged and setting control is set to OFF(0).
- Press up on mixer release button.
- Tilt mixer head up.
- Place bowl in bowl base and turn clockwise until bowl locks into place.
- Insert attachment onto output shaft and press upward as far as possible. Turn the attachment counterclockwise, hooking attachment on shaft.
- Slide on the splash guard.
- Plug mixer into wall outlet. Select desired speed.
- When finished, rotate speed control to Off(0). Unplug from outlet.
- Slide out the splash guard.
- Press up on mixer release button. Tilt mixer head up.
- Remove attachment by pressing attachment upward as far as possible. Turn the attachment clockwise and pull to remove.
- Remove the bowl by turning it counterclockwise and pull up to remove.
BEFORE FIRST USE
Before you use the stand mixer and accessories for the first time, thoroughly clean the parts that come into contact with food.
- Make sure your stand mixer is on a clean, dry flat surface such as a table or counter top.
- Before switching on your stand mixer, make sure the unit is unplugged and the control dial is in the OFF position.
- Use the arm release button to tilt the stand mixer head back, insert the stainless steel bowl and lock into place.
- Place your ingredients in bowl.
- Insert appropriate attachment (dough hook, whisk or beater) depending on the recipe.
- Move the stand mix head back down into place and use the arm release button to lock.
- Turn the control dial to the recommended speed as directed in recipe.
AUTO STOP
Your kitchen machine will be automatically turned off after 15 minutes of continuous operation. This can avoid potential safety problems due to prolonged usage.
MIXING BOWL TOOLS
Note
- Before switching on your kitchen machine, make sure the knob is at OFF (O) position and then attach the whisk, beater or dough hook.
- Up to 17oz (500g) of flour plus other ingredients can be processed in the bowl.
- Follow the recommended quantities, processing time and speed as indicated. Do not exceed the suggested processing speed to avoid damage to the machine.
| NAME | PURPOSE | |
![]() | Hook |
|
![]() | Beater |
|
![]() | Whisk |
|
TIP
- To avoid splashing, always increase speed gradually.
- Whisk: before whisking egg whites or cream, make sure that the bowl and the whisk are dry and free from grease.
- Kneading: use the dough hook to knead yeast dough for bread and pizzas.
- You need to adjust the amount of liquid to form the dough according to the humidity and temperature condition.
- If you want to re-knead the dough with your kitchen machine, press the dough down to the bottom of the bowl to avoid the dough wrapping on the tool. Make sure that you re-knead the dough within the recommended speed.
RECIPES
Recipes: Bread dough (Hook)
Ingredient:
- 17.6oz of flour (500g)
- 1.75oz of olive oil (50g)
- 1 teaspoon salt
- 1 teaspoon sugar
- 0.25oz yeast (7g)
- 8.8oz (260ml) of water
- Add all the dry ingredients to the bowl and turn the control dial to speed 1.
- Pour in the water and then the oil.
- Switch to speed 2 and continue kneading until a smooth dough ball is formed.
- Grease a bowl with vegetable oil.
- Put the dough ball in this bowl and cover it with cling wrap.
- Let it rise for 1 hour until it has doubled in size.
- Remove the air from the raised dough.
- Fold it into a log shape and fit it into a loaf pan.
- Cover it and let it rise in the tray for 1 hour.
- Bake at 350°F for 40 minutes.
Pie pastry (Beater)
Ingredient:
- 12oz (340g) cups all-purpose flour, plus extra for rolling
- 8oz (227g) cold unsalted butter, cut into 3/4″ cubes
- 1 teaspoon salt
- 1 teaspoon sugar
- 6 to 8 tablespoon ice water
- Put all the dry ingredients to the bowl and turn the control dial to speed 1.
- Add the cold butter into the dry ingredients and gradually increase the speed from 1 to 3.
- Add 1 tablespoon iced water at a time to the mixture until it forms crumbly dough. If the dough doesn’t hold together, add a little more water and mix it for a little longer. Do not add too much water. Otherwise, it will make the crust tough.
- Form the dough into the shape you want and wrap it with plastic wrap.
- Keep it in the refrigerator for at least 1 hour and up to 2 days.
- Rest the dough at room temperature for a few minutes before rolling and baking.
- Bake it for 25-30 minutes at the temperature of 350°F.
Recipes: Meringue (Whisk)
Ingredient:
- 4 egg whites
- 1 cup (200 grams) superfine or caster sugar
- Whisk the egg whites with speed 7 until soft peaks are formed.
- Gradually add the sugar while processing on speed 4 until stiff peaks are formed.
- Spoon the meringue onto a baking tray covered with baking paper.
- Preheat your oven to 220°F and place the tray with the meringue in the center of the oven.
- Bake the meringues for approximately 1-1.5 hours until they are dry and crisp.
- Turn off the oven and dry the meringues in the oven for 1.5 hours.
CLEANING AND MAINTENANCE
CAUTION: • Before you clean the appliance, unplug it.
- Do not immerse the stand mixer or housing in water or other liquid. Wipe area clean with a warm, damp cloth, and dry thoroughly with a soft cloth before re-use or storing.
- Whisk, splash guard and stainless steel bowl can be washed in hot water with nonabrasive dishwashing liquid, or these parts can be cleaned in the dishwasher.
- Dough hook and beater can be washed in hot water with dishwashing liquid. Store stand mixer and accessories in a dry place after cleaning.
- Use a dry toothbrush or toothpick to loosen and remove caked-on material in hard-to-reach areas such as along ridges and around exposed hardware. Wipe clean.
Note: Make sure to use caution when cleaning around exposed screws. Food ingredients such as flour and sugar may penetrate these areas causing damage to interior.
ENVIRONMENTAL PROTECTION
The appliance must not be disposed of with regular household waste. At the end of its service life, the appliance must be properly delivered to a collection point for the recycling of electrical and electronic equipment. By Collection and recycling of old appliances, you are making an important contribution to the conservation of our natural resources and provide for environmentally sound and healthy disposal.
TROUBLESHOOTING & WARRANTY
BEFORE YOU CALL FOR SERVICE
IF THE APPLIANCE FAILS TO OPERATE:
A) Check to make sure that the appliance is plugged in securely. If it is not, remove the plug from the outlet, wait 10 seconds and plug it in again securely.
B) Check for a blown circuit fuse or a tripped main circuit breaker. If these seem to be operating properly, test the outlet with another appliance.
IF NONE OF THE ABOVE SOLVES THE PROBLEM, CONTACT A QUALIFIED TECHNICIAN. DO NOT TRY TO ADJUST OR REPAIR THE APPLIANCE YOURSELF.
CUSTOMER SERVICE
IMPORTANT
DO NOT RETURN THIS Appliance TO THE STORE
If you have a problem with this appliance, please contact the W Appliance Co. Customer Satisfaction Center at 1-855-855-0294.
DATED PROOF OF PURCHASE, MODEL # AND DATE CODE REQUIRED FOR WARRANTY SERVICE
TROUBLESHOOTING
- In case of emergencies such as abnormal noises, smell, smoke, etc., you should immediately cut off power and stop use.
- If the product cannot work, please check if the power supply is connected, if the switch is put to the ON position and if fittings are installed in place.
- If the product still cannot work after checks mentioned above, please consult the designated repair centre for maintenance.
If your appliance does not work, check;
- That it is plugged in correctly.
- That the accessories are correctly locked.
- That the multi-function head is locked in a horizontal position.
- Your appliance comes with a microprocessor that controls and analyzes the operating power. If the load becomes too high, your appliance will stop automatically. To restart your appliance, turn the rotary button to the “0” position and remove some of your ingredients. Allow your appliance to cool down for a few minutes. You can the select the desired speed to complete your preparation.
LIMITED WARRANTY
Commercial Chef brand is used under license. Any repair, replacement, or warranty service, and all questions about this appliance should be directed to W Appliance Co. at 1 (855) 855-0294 from the USA or Puerto Rico.
W Appliance Co. warrants to the original purchaser that the appliance will be free from defects in material, parts and workmanship for the period designated for this appliance. The warranty commences the day the appliance is purchased and covers up to a period of 1 year (12 months) for labor/1 year (12 months) for parts (manufacturing defects only).
W Appliance Co. agrees that it will, at its option, replace the defective appliance with either a new or remanufactured appliance equivalent to your original purchase during the warranty period.
Exclusions: This warranty does not apply to the below:
- If the appearance or exterior of the appliance has been damaged or defaced, altered or modified in design or construction.
- If the appliance original serial number has been altered or removed or cannot be readily determined.
- If there is damage due to power line surge, user damage to the AC power cord or connection to improper voltage source.
- If damage is due to general misuse, accidents or acts of God.
- If repair attempts are done by unauthorized service agents, use of parts other than genuine parts or parts obtained from persons other than authorized service companies.
- On units that have been transferred from the original owner.
- On appliances that have been purchased as refurbished, like new, second-hand, in a “As-Is” or “Final Sale” terms.
- To appliances used in a commercial or rental setting.
- To appliances used in settings other than ordinary household use or used other than in accordance with the provided instructions.
- To damages for service calls for improper installations.
- To glass parts and other accessory items that are included with the unit.
- Transportation and shipping costs associated with the replacement of the unit.
- Food loss for loss due to appliance failure or delay in service, repair or replacement.
- Service calls to instruct you how to use your slow cooker.
- Service calls to repair or replace the house fuse, reset the circuit breaker or correct the wiring in the house.
REPAIR OR REPLACEMENT AS PROVIDED UNDER THIS WARRANTY IS THE EXCLUSIVE REMEDY OF THE CUSTOMER; W Appliance Co. SHALL NOT BE LIABLE FOR ANY INCIDENTAL OR CONSEQUENTIAL DAMAGES FOR BREACH OF ANY EXPRESS OR IMPLIED WARRANTY ON THIS Appliance, EXCEPT TO THE EXTENT PROHIBITED BY APPLICABLE LAW. ANY IMPLIED WARRANTY OF MERCHANTABILITY OF FITNESS FOR A PARTICULAR PURPOSE ON THIS Appliance IS LIMITED TO THE DURATION OF THE WARRANTY.
Some states do not allow the exclusion or limitations of incidental or consequential damages, or limitations on how long the warranty lasts. In these cases the above exclusions or limitations may not apply to you. This warranty gives you specific legal rights and you may also have other rights which vary from state to state.
Obtaining Service: To obtain service, appliance literature, supplies or accessories please call 1 (855) 855-0294 to create a ticket for exchange/ repair. Please make sure to provide the date of purchase, model number and a brief description of the problem. Our customer service representative will contact you or send detailed return instructions.
W Appliance Co. does not warrant that the appliance will work properly in all environmental conditions, and makes no warranty and representation, either implied or expressed, with respect to the quality, performance, merchantability, or fitness for a particular purpose other than the purpose identified within this user’s manual. W Appliance Co. has made every effort to ensure that this user’s manual is accurate and disclaims liability for any inaccuracies or omissions that may have occurred. Information in this user’s manual is subject to change without notice and does not represent a commitment on the part of W Appliance Co.. W Appliance Co. reserves the right to make improvements to this user’s manual and/or to the appliances described in this user’s manual at any time without notice. If you find information in this manual that is incorrect, misleading, or incomplete, please contact us at 1- 855-855-0294.
W Appliance Co.,
1356 Broadway
New York, NY 10018

© 2020 Commercial Chef is a W Appliance Company.
All Rights Reserved.
January 2021























