

Phone Scaning, Hood Installing
www.ciarra.store
Dear customer:
Congratulations on purchasing this device. This instruction manual is designed to provide you with all required instructions related to the installation, use, and maintenance of the appliance. In order to operate the unit correctly and safely, please read this instruction manual carefully before installation and usage.
The cooker hood use high-quality materials and is made with a streamlined design. Equipped with a large power electric motor and centrifugal fan, it also provides strong suction power, low noise operation, a non-stick grease filter, and easy assembly installation.
Scan the QR code to get access to contact CIARRA Amazon Service if you have any questions.
E-mail: [email protected]
Scan to contact CIARRA Amazon Service

Safety
WARNING
TO REDUCE THE RISK OF FIRE, ELECTRIC SHOCK, OR INJURY TO PERSONS, OBSERVE THE FOLLOWING:
Use this unit only in the manner intended by the manufacturer. If you have questions, contact the manufacturer at the address or telephone number listed in the warranty.
Before servicing or cleaning the unit, switch power off at the service panel and lock the service disconnecting means to prevent power from being switched on accidentally. When the service disconnecting means cannot be locked, securely fasten a prominent warning device, such as a tag, to the service panel.- Installation work and electrical wiring must be done by a qualified person(s) in accordance with all applicable codes and standards, including fire-rated construction.
- Sufficient air is needed for proper combustion and exhausting of gases through the flue (chimney) of fuel-burning equipment to prevent back drafting.
- When cutting or drilling into a wall or ceiling, do not damage electrical wiring and other hidden utilities.
- Ducted fans must always be vented to the outdoors.
- Do not use this unit with any additional solid-state speed control device.
- This unit must be grounded.
- When applicable local regulations comprise more restrictive installation and/or certification requirements, the aforementioned requirements prevail on those of this document and the installer agrees to conform to these at his own expense.
TO REDUCE THE RISK OF A RANGE TOP GREASE FIRE:
1)
Never leave surface units unattended at high settings. Boilovers cause smoking and greasy spillovers that may ignite. Heat oils slowly on low or medium settings.
2)
Always turn the hood ON when cooking at high heat or when flambeing food.
3) Clean ventilating fan frequently. Grease should not be allowed to accumulate on fans, filters, or in exhaust ducts.
4) Use proper pan size. Always use cookware appropriate for the size of the surface element.
WARNING
TO REDUCE THE RISK OF INJURY TO PERSONS IN THE EVENT OF A RANGE TOP GREASE FIRE, OBSERVE THE FOLLOWING*:
- SMOTHER FLAMES with a close-fitting lid, cookie sheet, or metal tray, then turn off the burner. BE CAREFUL TO PREVENT BURNS. IF THE FLAMES DO NOT GO OUT IMMEDIATELY, EVACUATE AND CALL THE FIRE DEPARTMENT.
- NEVER PICK UP A FLAMING PAN — You may be burned.
- DO NOT USE WATER, including wet dishcloths or towels — This could cause a violent steam explosion.
- Use an extinguisher ONLY if:
a) You own a Class ABC extinguisher and you know how to operate it.
b) The fire is small and contained in the area where it started.
c) The fire department has been called.
d) You can fight the fire with your back to an exit.
CAUTION
- For indoor use only.
- For general ventilating use only. Do not use to exhaust hazardous or explosive materials and vapors.
- To avoid motor bearing damage and noisy and/or unbalanced fan blade, keep drywall spray, construction dust, etc. off range hood.
- Your hood motor has a thermal overload which will automatically shut off the motor if it becomes overheated. The motor will restart when it cools down. If the motor continues to shut off and restart, have the hood serviced.
- Always follows the cooking equipment manufacturer’s requirements regarding the ventilation needs.
- To reduce the risk of fire and to properly exhaust air, be sure to duct air outside — Do not exhaust air into spaces within walls or ceilings or into attics, crawl spaces, or garages.
- When installing, servicing, or cleaning the unit, it is recommended to wear safety glasses and gloves.
- Please read the specification label on the product for further information and requirements.
Specifications

| Voltage | 220V-240V- 50Hz |
| Power of Motor | 1 x 210W |
| Power of lamps | 2 x 1.5W |
| Cable length | 1.6M |
| Appliance Dimension | 595*390*750-1125m m (W x D x H) |
| Note: The manufacturer reserves the right to change any technological improvement or modification without prior notice. | |
Components

Installation
Prepare for installation:
a) If you have an outlet to the outside, your cooker hood can be connected as below picture by means of an extraction duct (enamel, aluminum, flexible pipe or inflammable material with an interior diameter of 150mm).
Choose a straight, short duct run to allow the hood to perform most efficiently. Long duct runs, elbows and transitions will reduce the performance of the hood. Use as few of them as possible. When possible, use at least 2 feet straight runs before any turns. Larger ductwork may be required for best performance with longer duct runs.

b) Before installation, turn the unit off and unplug it from the outlet.
c) The cooker hood should be placed at a distance of 65~75cm above the cooking plane for best effect.
Recommended Tools for Installation
- Measuring tape
- Phillips screwdriver no. 2
- Flat blade screwdriver (to open knockout holes)
- Drill, 1/8” drill bit and 1½” hole saw (to mark holes for ducting and cut electrical access hole)
- Wood shims (2) and wood screws (4) (required for standard installation to the framed cabinet)
- Saw (to cut holes for ducted application)
- Sheet metal shears (ducted installation only, for duct adjustment)
- Pliers (ducted installation only, for duct adjustment)
- Metal foil duct tape (for ducted applications)
- Scissors (to cut metal foil duct tape)
- Pencil
- Wire stripper
- Strain relief, 1/2” diameter (to secure house wiring cable to the hood)
CAUTION: Before proceeding to the installation, check the contents of the box. If items are missing or damaged, contact the manufacturer. Observe all governing codes and ordinances. Have a qualified technician install the range hood. It is the installer’s responsibility to comply with installation clearances specified on the model/serial rating plate. The manufacturer declines all responsibility for improper installation and does not accept responsibility for appliance warranty in the event of damage caused by incorrect installation.
Attention:
Observe the warning in the instruction sheet concerning the operation of the appliance when air is discharged from the room.
When the range hood and appliance supplied with energy other than electricity are simultaneously in operation, the negative pressure in the room must not exceed 4 Pa (4×10-5 Bar).
Install the Hood(VENT OUTSIDE :
1) If present, remove all protective poly film from the hood and/or parts.
2) Below is the 1:1 hole drilling installation drawing:

3) According to the 1:1 hole drawing, Drill 3*Ø8mm holes to accommodate the bracket. Screw and tighten the bracket onto the wall with the screws & screw plugs provided.

4) Hang the cooker cook onto the wall bracket.

5) Open the glass panel, take out the grease filter, find the two positioning holes inside the case in the figure, mark with a pen respectively, and then take down the cooker hood.

6) Drill two 8mm holes in the marked position on the wall with an electric drill, and then put the wall plugin.

7) Hang the cooker hood on the wall bracket again. After that, use two 4 * 30mm screws to lock the corresponding positioning in the figure.

8) The lower chimney bracket is used to fix the upper decorative chimney and lower decorative chimney.
Use 2pcs ST4x8mm screws to attach the lower and upper chimneys together.
Before attaching the bracket to the chimney, decide the location of the lower chimney bracket fixing holes for fixing the lower chimney bracket in the later step.
Do not fasten screws too much, make sure the upper decorative chimney can be telescopically adjusted after assembled.

9) Fix the adapter to the one-way-valve air outlet first, then place the plastic duct on the cooker hood.

10) Put the chimney on the cooker hood. Fix the lower chimney bracket on the wall by 2 screws (4mm x30mm).

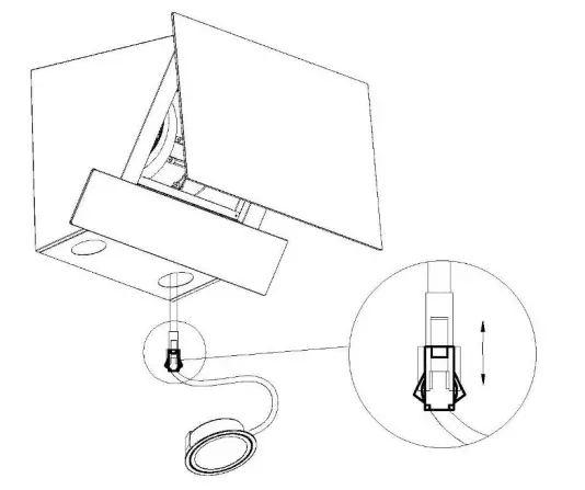
11) Then pull out the upper chimney upwards to the target height. Adjust to reach the height required.
12) Fix the upper chimney on the upper chimney bracket by 2 screws (4x8mm).
Then fix the upper chimney bracket on the wall. Before fixing the bracket on the wall, you can decide the upper chimney bracket fixing holes for installation.

13) Fix the lower chimney with 2 pcs of ST4x8mm screws on the cooker hood.

NOTE:
➢ Connect ductwork to the hood and use metal foil duct tape to make joints secure and air-tight.
➢ Make sure the damper assembly (or round duct plate) enters the ductwork and that the damper opens and closes freely.
Activated Carbon Filter Installation(VENT INSIDE):
If you do not have an outlet to the outside, an exhaust pipe is not required and the installation is similar to the one shown in section “Installation (Vent outside)”
- Activated carbon filter can be used to trap odors.
In order to install the activated carbon filter, the grease filter should be detached first. Press the lock and pull it downward.
- Plug the activated carbon filter into the unit and turn it in a clockwise direction. Repeat the same on the other side.

- If replacement, please turn it in an anti-clockwise direction.
NOTE:
➢ Make sure the filter is securely locked. Otherwise, it would loosen and cause danger.
➢ When an activated carbon filter is attached, the suction power will be lower.
➢ The activated carbon filter should be changed every 3 months depending on the conditions of us.
Operation
Always turn your hood on before you begin cooking to establish an airflow in the kitchen.
Let the blower run for a few minutes to clear the air after you turn off the range.
This will help keep the whole kitchen cleaner and fresher.
Electronic button
Operate the hood as follows:

+ On/Off button
Press 2S to power on, and press 1S to power off.
– Speed increase button
For increasing the speed of the fan.
Speed decrease button
For decreasing the speed of the fan.
Light button
When lights are OFF, push once on this button to turn ON the lights. Push this button again to turn OFF the lights.
Digital display
Fan speed display:”1″ for Low speed, “2” for Medium speed, “3” for High speed.
Quick timer
Press [+] & [-] hold for more than 1 second, Digital display will flash & into 5 minutes count down, after 5 minutes motor & light will turn off automatic & Buzzer sound for 1 second
Cleaning and Maintenance
Proper maintenance of the Range Hood will assure the proper performance of the unit.
MOTOR
The motor is permanently lubricated and never needs oiling. If the motor bearings make an excessive or unusual noise, replace the motor with the exact service motor. The fan blade should also be replaced.
GREASE FILTERS
The grease filters should be cleaned frequently. Use a warm dishwashing detergent solution. Grease filters are dishwasher safe.
Clean all-metal filters in the dishwasher using a non-phosphate detergent.
Discoloration of the filters may occur if using phosphate detergents, or as a result of local water conditions – but this will not affect filter performance. This discoloration is not covered by the warranty. To minimize or prevent discoloration, hand wash filters using a mild detergent.
FAN BLADE
The fan blade should be cleaned frequently. Use a clean cloth soaked with a warm detergent solution.
ACTIVATED CARBON FILTER
The activated carbon filter should be changed every 3 months depending on the conditions of use. Replace more often if your cooking style generates extra grease, such as frying and wok cooking. These filters are not washable and cannot be restored. Refer to installation instructions included with the activated carbon filter.
STAINLESS STEEL CLEANING
Do:
- Regularly wash with a clean cloth or rag soaked with warm water and mild soap or liquid dish detergent.
- Always clean in the direction of original polish lines.
- Always rinse well with clear water (2 or 3 times) after cleaning. Wipe dry completely.
- You may also use a specialized household stainless steel cleaner.
Don’t:
- Use any steel or stainless steel wool or any other scrapers to remove stubborn dirt.
- Use any harsh or abrasive cleansers.
- Allow dirt to accumulate.
- Let plaster dust or any other construction residues reach the hood. During construction/ renovation, cover the range hood to make sure no dust sticks to the stainless steel surface.
Avoid when choosing a detergent:
- Any cleaners that contain bleach will attack stainless steel.
- Any products containing: chloride, fluoride, iodide, and bromide will deteriorate surfaces rapidly.
- Any combustible products used for cleaning such as acetone, alcohol, ether, benzol, etc., are highly explosive and should never be used close to a range.
PAINTED FINISH CLEANING:
Clean with warm water and mild detergent only. If discoloration occurs, use a finish polish such as automotive polish. (DO NOT use a rough abrasive cleaner or porcelain cleaner.)
LED REPLACEMENT
Circular/ Rectangle LED lamp:

- If need to replace the LED lamp, the grease filter should be detached first. Press the lock and pull it downward.

- Push the LED lamp holder out from the cabinet by hand, pull out the LED lamp and the wire together, open the power protection cover, pull out the plug and replace the LED lamp of the corresponding model.

CAUTION:
Before cleaning or repairing and replacing accessories, please make sure to shut down the power before the operation, so as to avoid electric shock, damage to the human body and even endanger life safety!
Troubleshooting
Problem | Possible Cause | Solution |
| The Extractor hood does not function | No electrical supply | Check that plug is connected and main power switch is turned on |
| Poor airflow | Grease filters clogged with grease build-up | Clean the grease filters and refit when dry |
| Charcoal filters clogged with grease build-up | Replace charcoal filters with new sets | |
| Hood suction is not effective | Inadequate ventilation | Ensure that the kitchen is sufficiently ventilated to allow entry of fresh air |
| Charcoal filters are not installed | Install charcoal filters for setting in recirculation mode | |
| Motor is running but no airflow | Poor exhaust | Please contact CIARRA Customer Care Service |
| Whirring sound | Foreign objects may be in contact with the fan blade | Please contact CIARRA Customer Care Service |
| The lights are not working | Lightbars are blown out | Replace the damaged light |
| Lightbar connections are loose | Reset the connection |
If the problem persists after the above checks, please contact CIARRA Customer Care Centre for assistance.
Environmental protection
Waste electrical products should not be disposed of with household waste. Please recycle where facilities exist. Check with your Local
Authority or retailer for recycling advice.
This appliance is marked according to the European directive 2012/19/EU on
Waste Electrical and Electronic Equipment (WEEE).
By ensuring this product is disposed of correctly, you will help prevent potential negative consequences for the environment and human health, which could otherwise be caused by inappropriate waste handling of this product.
The symbol on the product indicates that this product may not be treated as household waste. Instead, it shall be handed over to the applicable collection point for the recycling of electrical and electronic equipment.
Disposal must be carried out in accordance with local environmental regulations for waste disposal.
For more detailed information about the treatment, recovery, and recycling of this product, please contact your local city office, your household waste disposal service or the shop where you purchased the product.























