BRANDT AD1189X Wall Mounted Extractor Hood

Attention
Keep this user guide with your appliance. If the appliance is ever sold or transferred to another person, ensure that the new owner receives the user guide. Please become familiar with these recommendations before installingwith these recommendations before installing and using your oven. They were written for and using your appliance . They were written your safety and the safety of others.for your safety and the safety of others.
SAFETY RECOMMENDATIONS
- This appliance wa— This oven was designed for use by pri-s designed for use by vate persons in their homes.private persons in their homes.
- This appliance is to be used by adults. Make sure that children do not touch and that they do not treat it as a toy. Make sure that they do not touch the appliance’s con-trol panel.
- When you receive the appliance, unpack or have it unpacked immediately. Give it an overall general inspection. Make note of any concerns or reservations on the delivery slip and make sure to keep a copy of this form.— Your appliance is intended for standard household use. Do not use it for commercial or industrial purposes or for any other pur-pose than that for which it was designed.— Do not modify or attempt to modify any of the characteristics of this appliance. This would be dangerous to your safety.
- Repairs must only be carried out by an approved specialist.
- Always unplug the hood before cleaning it or performing other maintenance acts.— Provide adequate ventilation for the room in the case of simultaneous use of the hood and other appliances powered by an energy source other than electricity. This will pre-vent the hood from aspirating the combus-tion gases.
- You should never “fl ambé” dishes under the hood or operate gas rings under the hood without placing cookware on them (the fl ames sucked up into the hood can damage the appliance).
- When frying food under the appliance, you must carefully monitor the preparation at all times.
Oils and grease brought to very high tem-peratures can catch fi re. - Respect the recommended frequency of cleanings and fi lter replacements. The ac-cumulation of grease deposits may cause a fi re.
- The hood should never be used over a combustible fuel burning stove (wood, coal, etc.).
- Never use steam or high-pressure de-vices to clean your appliance (requirement imposed by electrical safety).
- With a view to constantly improving our products, we reserve the right to modify their technical, functional or aesthetic char-acteristics, making any changes to their features considered necessary or desirable in view of technical progress.
- In order to easily locate the reference information for your appliance, we recom-mend that you note these data on the “Af-ter-Sales Service Department and Customer Relations” page.
(This page also explains to you where to fi nd this information on your appliance.) - This appliance is not intended to be used by persons (including children) with reduced physical, sensory or mental abilities, or per-sons lacking experience or awareness, un-less using it with the help of a person repon-sible for their safety, or under supervision and with prior instruction in its use.
Warning: In the case of a kitchen heated by a device connected to a chimney (a stove, for ex-ample) the “recycling” version of the hood should be installed. Do not use the hood without metal fi lters.
Suitable ventilation should be provided in the room when the hood is used at the same time as appliances operated by gas or another combustible fuel.
ENVIRONMENTAL PROTECTION
- This appliance’s packaging material is recyclable. Help recycle it and protect the environ-ment by dropping it off in the municipal receptacles provided for this purpose.
Your appliance also contains a great amount of recyclable material. It is marked with this label to indicate the used appliances that should not be mixed with other waste. This way, the appliance recycling organised by your manufacturer will be done under the best possible conditions, in compliance with European Directive 2002/96/EC on Waste Electrical and Electronic Equipment. Contact your town hall or your retailer for the used appliance collection points closest to your home.— We thank you doing your part to protect the environment.
Warning
- Installation should only be performed by installers and qualifi ed technicians.
- Remove the protective fi lm from the cartridge fi lter before use.
DESCRIPTION OF YOUR APPLIANCE

INSTALLING YOUR APPLIANCE
- The appliance must be unplugged during installation or when any repairs or maintenance work is being performed.
- Ensure that the network voltage corresponds to the voltage noted on the identifi cation plate located inside the hood.
- If the electrical installation at your residence requires any changes in order to hook up your Appliance, call upon a professional electrician.
- If the hood is being used in evacuation mode, do not connect the appliance to a combustion gas exhaust duct (boiler, chimney, etc.) or to a CMV (controlled mechanical ventilation) system.
- Under no circumstances should the exhaust duct empty into the attic.
- Install the hood at a safe distance of at least 70 cm from an electric, gas or combined cooking hob.
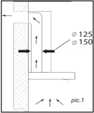
USING THE EVACUATION MODE
If you possess an outlet to the exterior
(pic. 1)
Your hood can be connected to this outlet using a fl ue (minimum diameter Ø mm that is enamelled, in aluminium, fl exible or made of infl ammable material). If your fl ue is less than 125 mm in diameter, you must use the recycling mode.
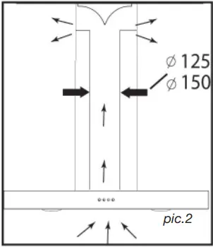
USING THE RECYCLING MODE
If you do not possess an outlet to the exterior (pic. 2)
All of our appliances can be used in recycling mode. In this case, you should add an active carbon fi lter which will keep in odours. (See Chapter 4: Changing the carbon fi lter.)
ELECTRICAL CONNECTIONS
During installation and maintenance operations, the appliance must be unplugged from the electrical grid; fuses must be cut off or removed.
- The electrical connections are made before the appliance is installed in its housing. Ensure that:
- the electrical installation has suffi cient voltage,
- the electrical wires are in good condition,
- the diameter of the wires complies with the installation requirements.
Warning:
- This appliance is delivered with a H 05 VVF power cord that has three- 0.75 mm2 conductors (neutral, phase and ground). It must be connected to the main power supply (which should be a 220-240 V single phase current) via a CEI 60083 standardised socket that should remain accessible after installation, in keeping with installation guidelines.
- We cannot be held responsible for any accident resulting from an inexistent, defective or incorrect ground lead. The fuse for your installation must be 10 or 16A. If the
- power cable is damaged, call the after-sales service department in order to avoid danger.
- If the electrical installation at your residence requires any changes in order to hook up your appliance, call upon a professional electrician.
- If the hood displays any malfunctions, unplug the appliance or remove the fuse corresponding to the electrical socket where your appliance is plugged in.
ASSEMBLING THE HOOD
Warning
The hood must be installed in compliance with all applicable regulations concerning the ventilation of premises. In France these regulations are described in DTU 61.1 from the CSTB. In particular, the evacuated air should never be conveyed to a duct used to evacuate smoke from appliances that use gas or other combustible fuels. Unused ducts may only be used after approval from a competent specialist.
The minimum distance between the cooking surface and the lowest part of the hood must be 70 cm at least. If the instructions for the hob installed under the hood specify a distance of more than 70 cm, this requirement must be respected.
Fixing to the wall 
- Mark a vertical line on the wall centred on the cooktop.
- Mark on the wall the three holes that have to be drilled, using the supplied hood suspension hook and observing the recommended distance.
- Drill the three 8 mm diameter holes in a suitable position and insert the plugs (part A Pic. 1).
- Before fi xing the hood, mount the non-return valve on the motor outlet -Secure the hood’s fi xing support, ensuring that it is perfectly level. (part A Pic. 1)
- Fix the extendable evacuation sleeve (not included) to the motor outlet without impeding the movement of the non-return valve.
- Fit and secure the body of the hood on this support with the screws provided for this purpose.
ASSEMBLING THE VENTILATION SHAFT
Outdoor evacuation
- Calculate the fi nal height for fi xing the duct support U-bracket (part B Pic. 1)
- Mark the two holes accordingly
- Drill 8 mm diameter holes and secure the duct support bracket, ensuring that it is fi xed on the same axis as the hood (part B Pic. 1)
- Fix the fl at bracket behind the lower duct. (part C Pic. 4).
- Place the glass on the guides. Slide the glass in and secure it with the 4 screws with rubber seal (glass safety). Tighten the screws slightly.
- Fix the two ducts to the hood.
- Connect the sleeve to the air outlet to the outside.
- Make the electrical connection to the hood using the mains supply cable.
- Lift the upper duct up to the ceiling and fi x it to the bracket using the screws.

Recycling
- Calculate the fi nal height for fi xing the duct support U-bracket (part B Pic. 1).
- Mark the two holes.

- Drill 8 mm diameter holes and secure the duct support bracket, ensuring that it is fi xed in the same axis as the hood (part B Pic. 1).
- Fix the fl at bracket behind the lower duct part C Pic. 4).
- Place the glass on the guides. Slide the glass in and secure it with the 4 screws.
- Fit the sleeve adapter on the defl ector (Pic. 8).
- Connect the extendable sleeve (not included) to the defl ector (Pic. 8).
- Fit the two parts of the duct on to the hood.
- Fit the defl ector (Pic. 8) into the upper duct by the ventilation inlets (Pic. 6)

- Make the electrical connection to the hood using the mains supply cable.
- Lift the upper duct up to the ceiling and fi x it to the bracket using the two screws (Pic. 7).

Tip
For optimal use of your appliance, we recommend that you connect the hood to a 150 mm-diameter fl ue (not delivered with the appliance). Minimise the number of angles and bends and the lengths of the fl ue. In the event that the hood will be operated using outdoor evacuation, you should ensure a suffi cient infl ow of fresh air to avoid a pressure defi ciency in the room.
Warning
Do not use tools to remove the safety fi lm of hood.
TO USE YOUR COOKER HOOD How to use the control panel .
- a. Press the button “Low”, the inner indicator light of switch starts shining, the motor is running at low speed. Press the button again,the motor stop.
- b. Press the button “Mid”, the inner indicator light of switch starts shining, the motor is running at medium speed. Press the button again, the motor stop.
- c. Press the button “High”, the inner indicator light of switch starts shining,the motor is running at high speed. Press the button again, the motor stop.
- d. Press the button “Light”, both lights start shining. Press the button again, the lights are switched off then.
CARING FOR AND CLEANING YOUR APPLIANCE
Warning
- Always unplug the hood before cleaning it or performing other maintenance acts. Regular maintenance of your appliance is a guarantee of proper functioning, good performance and durability.
- Failure to respect the guidelines for cleaning the appliance and fi lters may cause fi res. Please carefully adhere to the maintenance recommendations.
CLEANING THE FILTER CARTRIDGES
They must be cleaned after approximately 30 hours of use or at least once a month. These fi lters can be cleaned in a vertical position in your dishwasher.
Use a brush, hot water and mild detergent. Rinse and dry them thoroughly before returning them to the hood.
Dismantling the fi lter cartridge
- Turn the built-in fi lter cartridge handle.
- Tilt the fi lter cartridge downward.
CHANGING THE CARBON FILTER (optional)
Replace it after approximately 120 hours of use.
- Remove the fi lter cartridge.
- Turn the carbon fi lter to remove it.
- Do the operation in the reverse order to put a new fi lter back.
- Put the fi lter cartridges back.
CLEANING THE OUTER SURFACES
To clean the outside of your hood, use soapy water, but never use abrasive creams, corrosive detergents, scrubbing sponges or brushes. Wipe down with a soft, damp cloth.
CHANGING THE LIGHT BULB
Warning: Before carrying out any work, the power supply to the hood must be turned off, either by unplugging it or by using the circuit breaker switch.
Model with halogen bulb
- Remove the lighting port
- Change the halogen bulb.
- Replace the bulb by repeating these steps in reverse order.
Warning: Before carrying out any work, the power supply to the hood must be turned off, either by unplugging it or by using the circuit breaker switch.
MAINTAINING YOUR APPLIANCE
| MAINTENANCE | WHAT TO DO | PRODUCTS/ACCESSORIES TO USE |
|
Top surface and accessories | Never use metal scouring pads, abrasive products or excessively stiff brushes. | To clean the body and the lighting port, you should use only commercial household cleaning products diluted in water and then rinse using clean water, drying with a soft cloth. |
|
Filter cartridge | This filter traps fatty vapours and dust. This component plays an important role in ensuring the effectiveness of your hood. In the event of tough stains, use a non-abrasive cream, then rinse with clean water. | Use a commercial household cleaning product then rinse abundantly and dry. These filters can be cleaned in a vertical position in your dishwasher. (Do not allow them to touch dirty dishes or silverware.) |
|
Activated carbon filter | This filter traps odours and must be changed at least once a year depending on your level of use. You should order these filters from your dealer (quoting the reference shown on the identification plate located inside the hood) and note the date the filter was changed. |
To preserve your appliance, we recommend that you use Clearit cleaning products.
- Professional expertise serving individuals
Clearit offers you professional products and solutions designed for the daily care of your household appliances and kitchens. They are on sale at your regular retailer, along with a complete line of accessories and consumable products.
TROUBLESHOOTING
| SYMPTOMS | SOLUTIONS |
| The hood is not working… | Ensure that: • The power is not cut off. • A speed has been selected. |
|
The hood is not operating effectively… | Ensure that: • The selected motor speed is sufficient for the quantity of smoke and vapours to be cleared. • The kitchen is sufficiently ventilated to allow for fresh air intake. • The carbon filter is not worn (hood operating in recycling mode). |
|
The hood stopped working. | Ensure that: • The power is not cut off. • The single-pole cut-off device was not activated. |
AFTER-SALES SERVICE
Any maintenance on your equipment should be undertaken by :
- either your dealer,
- or another qualifi ed mechanic who is an authorized agent for the brand appliances. When making an appointment, state the full reference of your equipment (model, type and serial number). This information appears on the manufacturer’s nameplate attached to your equipment.
























