Lenovo E1-L Robot Vacuum Cleaner
Important Safety Instructions
To reduce the risk of injury or damage, keep these safety precautions in mind when setting up, using and maintaining your Robot:
- Read all safety and operating instructions before operating your Robot.
- Retain the safety and operating instructions for future refrence.
- Heed all warnings on your Robot, battery.charging base and in the owner’s manual.
- Follow all operating and use instructions.
- The external flexible cable or cord of the power supply unit cann’t be replaced; if the cord or plug is damaged, the power supply unit shall be disposed of.
- This product is designed to be plugged into a standard outlet only. Product may not be used with any type of power converter. Use of power converters will immediately void the warranty.
- CAUTION : Only charge one of the following robot batteries: maximum 14.4V, max 2600mAh Ni-MH or maximum 2600mAh Li-ion battery. Another type of batteries may burst causing injury. Always contact Customer Care for the correct replacement of your battery.
- Always charge and remove the battery from your robot and accessories before long-term storage or transportation.
- The battery must be removed from this device before this device is disposed. To remove the battery from this device, first remove the screws on the bottom, then remove the main PCB and unscrew the battery cOver using a screwdriver., Remove the battery by disconnecting the quick connector.
- WARNING Chemical Exposure: If the battery pack is leaking, do not allow the liquid to come in contact with skin or eyes. If contact has been made, wash the affected area with copious amounts of water and seek medical advice. Place the battery (the used battery pack included when the robot will be disposed)in a sealed plastic bag and dispose of safely according to local environmental regulation.
- WARNING Fire or Explosion Hazard: Do not crush or dismantle battery packs. Do not heat or place the battery pack near any heat source or direct sunlight. Do not incinerate or short-circuit the battery pack. Do not subject batteries to mechanical shock.
- Contact your local waste management authority for battery recycling and disposal regulations in your area.
- Your robot is not a toy.
- Do not sit or stand on robot. Children and pets should be supervised when your robot is operating. Robot is for indoor use only. Do not use non-rechargeable batteries. Use only the rechargeable battery supplied with the product. For replacement, purchase identical probot battery or contact probot Customer Care for alternative battery options.
- Store and operate robot in room temperature environments only.
- Do not spray or pour liquids on your Robot.
- Do not use any other power supply cord.
- For replacement cords, please contact Customer Care to ensure proper selection of country specific power supply cord.
- Do not use robot to pick up sharp objects, glass, or anything that is burning or smoking.
- Do not immerse the battery pack in any liquid.
- Do not use robot to pick up spills of water bleach, paint, or other chemicals, or anything wet.
- Before using robot, pick up objects like clothing, loose papers, pull cords for blinds or curtains, power cords, and any fragile objects.
- If robot passes over a power cord and drags it, there is a chance an object could be pulled off a table or shelf. If the room to be cleaned contains a balcony, a physical barrier should be used to prevent access to the balcony and ensure safe operation.
- Do not place anything on top of your Robot. Be aware that the robot moves on its own. Take care when walking in the area that the Robot is operating in to avoid stepping on it.
- Do not operate the Robot in areas with exposed electrical outlets in the floor.
- Do not use this device on an unfinished, unsealed, waxed or rough floor. It may result in damage to the floor and this device. Use only on hard floor surfaces or low pile carpet.
- This device has been designed to be used on floors without scratching them. We still recommend that you test this device on a small area of the room to be cleaned to ensure no scratches are made before cleaning the whole room.
Battery and Charging/ Information
Lithium-ion Battery Important: Lithium-ion batteries and products that contain Lithium-ion are subject to stringent transportation regulations. IF you need to ship this product (with the buttery included)for service, travel or any other reason, you MUST comply with the following shipping instructions:
- Remove the Lithium-ion battery from the product.
- Place a Piece of tape over the battery ‘s metal charging contacts. Reinstall the battery (with the tape on it) in the product and secure the battery door.
- Package the product in its original packaging or in your own packaging that prevents any movement during transportation
- Ship via ground transportation only (no air shipping).
Battery Storage
If storing robot off the Charging Base, remove the battery first. Then store Robot and the battery in a cool, dry place. The symbol on the product or its packaging indicates: Do not dispose of electrical appliances as unsorted municipal waste, use separate collection facilities. Contact your local authority for information regarding the collection systems available.lf electrical appliances are disposed of in landfills or dumps hazardous Substances can leak into the groundwater and get into the food Chain, damaging your health and well-being. Please contact your local or regional waste authority for more information on collection, reuse and recycling programs.
About Your Robot
Robot
Accessories 
Charging Base

Light indicator
| Robot status | Light |
| Charging | Orange light breathes |
| Charging finished | Green light ON |
| Standby mode | Green light ON |
| Error | Red light ON/flashing |
| Low battery | Orange light ON |
| Cleaning | Green light ON |
| Sleeping mode | Light Off |
Using Your Robot
- Plug in the Charging Base, and take the rest wire into the trunking at the bottom of the Charging Base. Note: If you don’t put the rest wire into the trunking, which may stuck the Robot while charging or cleaning.

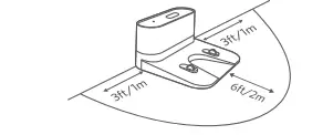
- Charging Base Position
- Place the Charging Base on a hard, level surface and against a wall.

- Place the Charging Base again the wall & make sure the place is open & uncluttered area leaving at least.
- 2 meter (6.5 feets) in front of the Charging Base
- 1 meter (2.3 feets) on both sides of the Charging Base.
Connect the round connector of the adapter into the power socket on the Charging Base and the other end into a wall outlet. Install the Charging Base in a location that robot can easily access. It is recommended to place the Charging Base against aw all, and on a hard-level surface rather than on rugs or carpets. Always keep the Charging Base plugged in, otherwise robot will not automati cally return to it.
- Install Side Brushes Attach side brushes to the bottom of robot By pressing a brush into each slot .

- Turn on the main power switch on the bottom of robot

- Activate the Robot Place robot onto the Charging Base, making sure the metal charging contacts on the Charging Base match up with those underneath the Robot. If successful you will hear a series of tones. once the (‘.) Power button illuminates robot is ready for use.

- Iii Start Cleaning Cycle

- Press C) the power button Once to wake up the Robot.
- Press C) the power button again to start a cleaning cycle If its battery gets low before finishing a cleaning cycle, Robot will ret urn to the Charging Base to recharge.
If the Charging Base is inaccessible, Robot will not be able to recharge. it will return to its starting location and the cleaning cycle will end, please place the Robot manually on Charging Base for charging. (Refer Activate the Robot)
Note: Please refer to section 2.2 for more Cleaning Mode.
- Pause Attach side brushes to the bottom of the robot By pressing a brush into each slot.

- To pause the Robot during a cleaning cycle press the(‘.) button.
- To resume the cleaning cycle, press the (‘.) button again.
- To send robot back to The Charging Base, press the @button.
- Power OFF To end the cleaning cycle and put robot in standby mode, press and hold (‘.) button until Robot indicators turn off.

- Place the Charging Base on a hard, level surface and against a wall.
How Robot Clean your home
Auto Cleaning
- At the start of a cleaning cycle, Robot will map out your home and cleaning them efficiently.
- At various times throughout the cleaning cycle, Robot touches up around the edges of the room, as well as chair legs and other furniture.
- Robot continues this process until it has cleaned entire level of your home. If its battery gets low before finishing a cleaning cycle, Robot auto returns to the Charging
Base to recharge
Once Robot finishes its cleaning cycle, Robot returns to the Charging Base to recharge.
Floor Mopping cleaning
Robot supply a water tank that the robot can floor mops Cleaning for your home
- Attach the cloth and fill the water tank with water.
- Remove the dust bin.
- Put back the water tank to robot and start the Robot.
App Settings
Connect to the mobile client (skip the step if APP control isn’t required).The product can be controlled via “Lenovo Cleaner” App
Download App
Search “Lenovo Cleaner” in App Store to download and install.
Register
Open “Lenovo Cleaner” to register or login account. For more operation and purchase information, please login “Lenovo Cleaner” to check.
Enter Network Distribution State
Power on the device – make sure that the Wi-Fi indicator is flashing If it fails to flash, please press Auto cleaning Start/Stop button and Charging Button simultaneously for 3s until WiFi indicator flashes and you can hear beep.
WiFi Network Configuration
Make sure that your mobile phone has been connected to WiFi (only support 2.4GHz band WiFi) Click “Add Device” in the “Lenovo Cleaner” – select “Lenovo Cleaner El” to enter the next interface – click “the next step” after you confirm that the WiFi indicator is flashing.
Add Device
Input WiFi password in the “Lenovo Cleaner”- click “the next step” (operate according to the prompt message). After the Lenovo Cleaner is successfully connected to WiFi – select the room – add device successfully after you click “finish”.
Regular Robot Care
To keep Robot running at peak performance, perform the following care procedures. If you notice Robot picking up less debris from your floor, then empty the bin, clean the filter and rolling brush. Recommended cleaning/ replacement frequency :\
| Robot Part | Cleaning | Replacement Frequency |
| Dust Bin | After each use | |
| Filters | Once every week | Every 2 months |
| Rolling Brush | Once every week | Every 6-12 months |
| Side Brushes | Once every month | Every 3-6 months(or when visibly worn) |
|
Brush Guard |
Once every month | Every 3-6 months(or when the silicone rubber strip on the brush guard becomes visibly worn) |
| s!’)!esBrush | l!vwy&-12 monlhl | |
| Charging Pins | Once every month | |
| l!nry&-12 monlhl |
Emptying Robot ‘s Bin
- Press bin release button to remove the bin.

- Open bin’s door to empty it.

Cleaning Robot’s Filter
- Press bin release button to remove the bin.

- Shake off debris by tapping the filter against your trash container.

Cleaning Robot’s Rolling Brush,Side Brush, Swivel Wheel and Sensors.
- Take out the rolling brush,clean the vacuuming

- Clean the rolling brush. Cut down the hair winded in the rolling brush with the provided cleaning tool’s knife.

- Remove the side brush.use a cloth to remove the dust from the brush.

- Pull out the swivel wheel, then clean the Swivel Wheel with the cleaning tool.

- Dust off the cliff sensors to maintain the best performance.

Troubleshooting
light indicator
Any error that occurs during operation will be notified by the robot through light status and beeps,the instruction as below. Beeps and red light flashing:
Tips
If the above method can not solve the problem, please try the following:
- turn on the power switch at the bottom of the robot and restart.
- If the problem cannot be solved by restarting, please contact the after-sales service center.
Frequently Asked Questions

Statement
Lenovo provides this document on an “as is” basis without any express or implied guarantee, including any implied g uarantee for marketability and suitability for any specific purpose. Where any applicable laws prohibit the exclusion of any express or implied guarantee in any transaction, the foregoing exclusion may not apply in your case. Errors may arise despite that we’ve made every effort to make sure the content contained herein is accurate and complete when preparing this document. We may revise this document on regular basis and such revision will be reflected in the future versions of the document. Lenovo may amend/or change the product and/or process described herein from time to time without any further notice.
The images and illustrations contained herein are for reference only and they may differ from the real product received by you. Some parts, features and functions mentioned herein may only apply to certain series or models
and are for reference only. You shall not recognize them as a description of the specification and configuration of the product you purchased. The specification and configuration of your product shall be subject to the transaction evidences (such as Purchase Agreement.invoice and packing list) provided to you. In case of any question, please contact you retailer for verification.
Noting contained herein shall affect or change Lenovo’s product guarantee (warranty) policy, or shall it be construed, expressly or implicitly, as a license or warranty of Lenovo’s or any third party’s intellectual property right.
The technical performance indicators contained herein were obtained in some specific environment. Data obtained under any other operating environment may be significantly different. Some measurements were obtained with the development-oriented system and may differ from those obtained with the general system. If necessary, you shall verify the performance data applicable to the environment where you reside. Without Lenovo’s prior written authorization, no one shall, in any way, reproduce, transcribe, delete or compile all or part of the contents contained herein into any other machine-readable formats, or store them in a retrievable system, or transmit them over a wired or wireless network, or translate them into any other languages.
Trademark
Words and logos indicated below are trademarks owned by companies under Lenovo Group:
Lenovo Any other companies, products and services mentioned herein may be trademarks or service marks of other companies. @ Companies owned by Lenovo Group. All rights reserved 2020.





Connect the round connector of the adapter into the power socket on the Charging Base and the other end into a wall outlet. Install the Charging Base in a location that robot can easily access. It is recommended to place the Charging Base against aw all, and on a hard-level surface rather than on rugs or carpets. Always keep the Charging Base plugged in, otherwise robot will not automati cally return to it.

































