maxell MXAP-FAE275T Ozone Sterilization Deodorizer with Aroma Diffuser Function Instruction Manual

Assembly & Installation Instructions
Dear Customer: Thank you for your business! If you have any question or problem, please send us an email to [email protected] r: call us at 870-949-8466. We will do ev ryour\ purchase. Product r v-i-ews help future customers to make h-e1r purchase decision.
You are encou[aged to share your experience by leaving a h-ort product review on the platform wher ou bought this product. Uiank you! Zgear Team.
Warning:
If any special control devices are used with this fixture, follow the instructions carefully to assure full compliance with N.E.C. requirements.
If there are any questions, contact a qualified electric contractor.
Warning:
California Residents Proposition 65
This product contains lead, a chemical known to the state of California to cause cancer and birth defects or other reproductive harm. Do not place the product in your mouth. Wash your hands after handling this product.
Caution:
It is highly recommended to get an electrician to in stall this light. Please make su re to turn the electricity off at the main circuit breaker before beg inning insta llation. All glass
is fragile. Use care when handling glass component(s) and/or lamp(s).
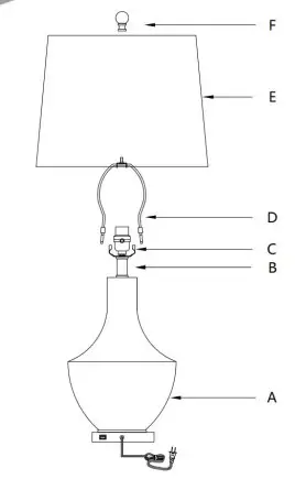
- Unpack all parts from cartons carefully. 1
- Carefully pull-out excess power cord from the lamp base while assembling to prevent the cord from becoming twisted.
- Place the harp(D)onto the saddle(C).
- Place the shade(E)onto the harp(D).
- Tighten the finial(F)into the harp(D)until tight.
WIRE CONNECTION DIAGRAM
Wires meeting safety standards are required to connect the electical circuit
CAUTION : Risk of fire

Please read all instructions carefully. Before you proceed to install,make sure that the power supply is turned off and remains off until installation is completed.
PARTS INCLUDED





















