somogyi AD 280 Aroma Diffuser

Safety and maintenance
| EN | |
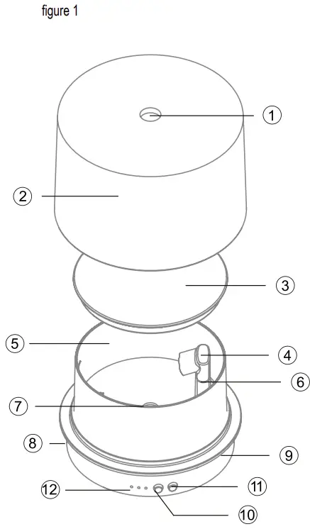
| STRUCTURE (Figure 1.) | |
1. | mist outlet |
2. | china cover |
3. | inner lid |
4. | vent cover |
5. | water tank |
6. | air vent |
7. | atomizer |
8. | power adapter socket (at the bottom) |
9. | rubberwood base |
10. | mist and timer button |
11 | lamp switch |
12. | timer indicator lights |

IMPORTANT SAFETY INSTRUCTIONS
READ THE INSTRUCTION MANUAL CAREFULLY BEFORE USE AND RETAIN IT FOR LATER REFERENCE!
WARNINGS
- Before using the product for the first time, please read the instructions for use below and retain them. The original instructions were written in the Hungarian language.
1. This appliance may only be used by persons with impaired physical, sensory or mental capabilities, or lacking in experience or knowledge, as well as children from the age of 8, if they are under supervision or have been given instruction concerning use of the appliance and they have understood the hazards associated with use. Children should not be allowed to play with the unit.
Children may only clean or perform user maintenance on the appliance under supervision. - Confirm that the appliance has not been damaged in transit!
- Only for indoor use!
- Keep the appliance away from heating and other electrical appliances!
- Connect only to 230 V~ / 50 Hz Voltage power sockets!
- Unwind the power cable completely!
- Never connect the appliance to electrical network with wet hands!
- Do not lead the power cable on the appliance!
- Do not lead the power cable under carpets, doormats, etc.!
- The appliance should be located so as to allow easy access and removal of the power plug!
- Lead the power cable so as to prevent it from being pulled out accidentally or tripped over!
- If the mains cable is damaged, disconnect the appliance immediately and contact a specialist!
- When cleaning, filling the water tank, replacing the appliance or other maintenance, disconnect the appliance by unplugging the connection plug.
- Never touch the water and the parts of the appliance in the water when the appliance is under power.
- Never operate the appliance without water.
- Do not scratch the oscillator!
- Do not immerse the appliance in water, the pieces under voltage cannot cannot get in touch with water!
- Do not operate unattended in the presence of children!
- Do not let children play with the unit!
- Never disassemble the appliance.
- When not planning to use the unit for an extended period of time, switch it off then remove the power plug from the outlet and empty the water tank.
- If any irregular operation is detected (e.g., unusual noise or burnt odor from unit), immediately switch it off and remove the power plug!
- The unit is intended for household use. No industrial use is permitted!
- Due to continuous improvements, the technical data and design may change without any prior notice.
- The actual instruction manual can be downloaded from www.somogyi.hu websites
- We don’t take the responsibility for printing errors which may occur, and apologize for them.
In the event that the power cable should become damaged, it should only be replaced with cables obtained from the manufacturer or its service facility. the manufacturer, its service facility or similarly qualified personnel.
ASSEMBLY AND COMMISSIONING OF THE DEVICE
Follow the steps shown on Figure 2. a).

- Remove the china cover (2), then the inner lid (3) from the water tank.
- Connect the adapter connector to the device.
- Set the device on a solid, level and flat surface.
- Fill the water tank with distilled water up to the MAX line! Avoid overfilling the tank, otherwise the amount of cold vapor produced will be insufficient. Avoid getting water into the air vent (6).
- At this point, 5-10 drops of quality, natural essential oil can be added to the water as desired. Do not use artificial substances, as they can cause damage to the device.
- Replace the inner lid, then the china cover. Ensure that the outlet of the mist outlet is in the middle of the hole on the china cover.
- Connect the adapter to a standard 230 V~/50Hz earth protected wall socket.
- Now the unit is ready for operation!
CLEANING
If hard water is used, over time limescale will be deposited in the water tank and in the parts in contact with the water. The limescale deposited on the oscillator inhibits normal operation. We recommend that
- Use distilled water.
- Clean the water tank and oscillator weekly.
- Frequently change the water.
- If it is not used for a long time, clean the entire appliance and store it dry
Cleaning the water tank, descaling
- Turn off the humidifier, then discontinue the power supply by unplugging the connection plug.
- With slightly vinegar water (1 tablespoonful of vinegar in 1 cup of water), rinse the water tank and then with clean water.
Cleaning the oscillator, descaling
- Turn off the humidifier, then disconnect from the power supply by unplugging the connection plug.
- Drop 5-10 drops of vinegar into the oscillator, wait 2 to 5 minutes
- Apply with soft material, e.g. clean the oscillator surface with a cleaner.
- Rinse with clean water.
TROUBLESHOOTING
| Problem | Possible solution |
| humidification does not work | fill distilled water into the tank |
| check the mains power supply | |
| humidification is insufficient | decrease the water level in the tank |
| clean the oscillator | |
| all settings are correct, but the device does not diffuse mist | remove the bamboo cover, clean the device at the nozzles and replace the cover |
DISPOSAL
Waste equipment must be collected and disposed separately from household waste because it may contain components hazardous to the environment or health. Used or waste equipment may be dropped off free of charge at the point of sale, or at any distributor which sells equipment of identical nature and function. Dispose of product at a facility specializing in the collection of electronic waste. By doing so, you will protect the environment as well as the health of others and yourself. If you have any questions, contact the local waste management organization. We shall undertake the tasks pertinent to the manufacturer as prescribed in the relevant regulations and shall bear any associated costs arising.
DISPOSING OFALKALINEAND RECHARGEABLE BATTERIES
Batteries, whether alkaline or rechargeable, must not be handled together with regular household waste. It is the legal obligation of the product’s user to dispose of batteries at a nearby collection center or at a retail shop. This ensures that the batteries are ultimately neutralized in an environment-friendly way
Functions
FEATURES
Ultrasonic cold mist humidifier, aroma diffuser, with warm white mood light.
- quality materials used: rubberwood base, china cover
- water tank capacity: 280 ml
- humidification: 15-20 ml / h
- continuous or intermittent humidification (30 sec on/ 30 sec off)
- selectable off timer setting of 1, 3, or 8 hours
- amber LED indicator lights
- warm white mood light with two brightness levels or soft pulsed light
- gradual fade out to help falling asleep (30 minutes)
- when water runs out, or after the timer setting humidification stops and lights turn off together, or independently
FUNCTIONS
Humidifier button
number of button presses | function | indicator |
1x | continuous humidification | ![]() |
2x | humidification for 1 hour | ![]() |
3x | humidification for 3 hours | ![]() |
4x | humidification for 8 hours | ![]() |
5x | humidification off |
By pressing and holding down the mist button for 2 seconds, the device switches to intermittent humidification mode (30 sec ON / 30 sec OFF), indicated by the indicator lights. To return to continuous operation, press and hold down the mist button again for 2 seconds. This change of operation mode does not influence the timer setting
number of button presses | function |
| 1x | higher brightness |
2x | low brightness |
3x | soft pulsed light |
4x | turn lights off |
Sleeping mode
Press and hold down the lamp button (11) during high or low brightness setting, the 3 LED lights will flash one after the other. The light will gradually fade out, then turn off during the next 30 minutes. To exit sleeping mode shortly press the lamp button (11) again
Setting separate night-light
By default, the lamp function of the device turns off along with humidification in case of a timer setting, or when water runs out.
To turn on the lamp independently, simultaneously press and hold down both buttons, until the two LED lights to the left start flashing alternately. ![]()
In this mode, if humidification stops due to a timer setting or lack of water, the lamp will continue to operate.
To turn off the lamp together with humidification, simultaneously press and hold both buttons again, until the two LED lights to the right start flashing alternately. ![]()
FILLING THE WATER TANK
Caution! Before filling the water tank, disconnect power supply from the device by disconnecting the mains plug! Fill up the water tank as instructed in points 3-6 of the Commissioning section. Too cold or hot water hinders vapour production and can also cause damage to the device.
EMPTYING THE WATER TANK
Caution! Before emptying the water tank, disconnect power supply from the device by disconnecting the mains plug!
Only pour out water towards the side, where the MAX mark is located, as water should not get into the air vent. Figure 2. b)
TECHNICAL SPECIFICATIONS
Power supply, mains power adapter:…………………….. PRI: 230 V~ / 50 Hz SEC: 24 V / 0.5 A
Length of power cable: ……………………………………….. 1.8 m
Water tank volume:…………………………………………….. 280 ml
Humidification:…………………………………………………… 15 – 20 ml/hour, depending on operation mode and environment
Ambient temperature:…………………………………………. 5-40 °C
Dimensions:………………………………………………………. ø146 x 132 mm
Uvoznik za SRB: ELEMENTA d.o.o.
Jovana Mikića 56, 24000 Subotica, Srbija • Tel:+381(0)24 686 270 • www.elementa.rs
Zemlja uvoza: Mađarska • Zemlja porekla: Kina • Proizvođač: Somogyi Elektronic Kft.
























