USER MANUAL

Scosche BTFREQ
Bluetooth FM Transmitter BTFM4
BTFREQ™
WIRELESS HANDS-FREE CAR KIT
FEATURES
- Bluetooth hands-free calling and music streaming
- 2 USB charging ports for charging mobile phones and other devices
SPECIFICATIONS:
A2DP Bluetooth calling audio streaming HFP
- Bluetooth hands-free calling FM transmitter frequency range: 88.1-107.9MHZ
- Input power: 12-24VDC
- USB outputs: 5V, 2.4A -5V, 1A


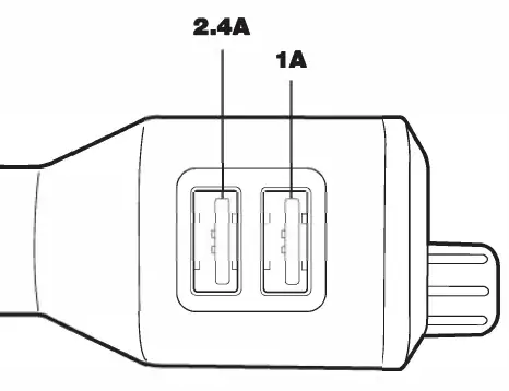
A. LED Screen
B. 5V, 2.4A Charging Port
C. 5V, 1A Charging Port
D. Microphone
E. Multi-Function Button/Knob
F. 12VPlug
G. Channel Button
Questions?
Need help with your Product? Call Customer Service at: (800) 363-4490 x1
Bluetooth is a registered trademark of Bluetooth SIG, Inc. Register your product online at www.scosche.com/register
©2019 SCOSCHE INDUSTRIES, INC.
POWER UP & BLUETOOTH PAIRING
Follow these steps to power up and pair your BTFREQ to your mobile device.

- Plug the BTFREQ into your car’s 12V power socket.
- Enter the Bluetooth settings in your mobile device and enable the Bluetooth function. From the list of available accessories, find and select the “Scosche BTFM4”.
- Your phone will confirm once it is connected.
CONNECTING TO YOUR CAR’S STEREO
The BTFREQ has a small FM radio transmitter that can broadcast to your car’s stereo.

- Find a weak station on your FM radio that has no active broadcast signal. ,,,_
- Press the “CH” button (A), C then turn the Multi-Function Button/Knob left or right (B) to tune the BTFREQ to match the frequency of your FM radio (C).
- If you experience interference you may have entered an area where there is an active broadcast signal on the station you are tuned to. Repeat the above steps to find a different clear station.
Note: Press “CH” button to change frequencies on BTFREQ (A).
USING THE BTFREQ
Once you have paired the BTFREQ to your phone (see Power up and Pairing section) and have connected the BTFREQ to your stereo (see page 4) you can begin using your BTFREQ.

Streaming Music
Stream music using the music player on your phone. You can use the controls on the BTFREQ to control the music settings:
- Play/Pause -Tap the MFB/K once (A)
- Track Forward -Turn MFB/K to the right (B)
- Track Back -Turn MFB/K to the left (C)
Making a call
Use your mobile phone to make a call as you normally would. Phone call audio will automatically stream through the BTFREQ.
- Hang Up -Tap the MFB/K once (A)
- Redial last number called -Double tap MFB/K (A)
Receiving a call
Phone call will come in through the BTFREQ.
- Press MFB/K once to answer the call (A)
- Press MFB/K once to end the call (A)
- Press and hold MFB/K to reject the call (A)
Voice assistant activation
Press and hold the Multi-function button for 3 seconds to activate your smartphone’s voice assistant.
DUAL-PORT USB CHARGER

Your BTFREQ includes 2.4A and 1A USB charging ports to charge your devices while driving. Simply connect using a cable suitable for your device (not included).
FCC STATEMENT
This device complies with Part 15 of the FCC Rules. Operation is subject to the following two conditions:
(1) This device may not cause harmful interference, and
(2) this device must accept any interference received, including interference that may cause undesired operation.
This transmitter must not be co-located or operating in conjunction with any other antenna or transmitter. Changes or modifications not expressly approved by the party responsible for compliance could void the user’s authority to operate the equipment.
This equipment has been tested and found to comply with the limits for a Class B digital device, pursuant to Part 15 of the FCC Rules. These limits are designed to provide reasonable protection against harmful interference in a residential installation. This equipment generates uses and can radiate radio frequency energy and, if not installed and used in accordance with the instructions, may cause harmful interference to radio communications. However, there is no guarantee that interference will not occur in a particular installation. If this equipment does cause harmful interference to radio or television reception, which can be determined by turning the equipment off and on, the user is encouraged to try to correct the interference by one or more of the following measures:
- Reorient or relocate the receiving antenna.
- Increase the separation between the equipment and receiver.
- Connect the equipment into an outlet on a circuit different from that to which the receiver is connected.
- Consult the dealer or an experienced radio /TV technician for help.
Radiation Exposure Statement: The product complies with the FCC/IC RF Exposure for Low Power Consumer Wireless Power Transfer. RF exposure limit set forth for an uncontrolled environment and are safe for intended operation as described in this manual. The further RF exposure that compliance was demonstrated at 10cm and greater separation from the user body or set the device to lower output power if such function is available.
IC STATEMENT
This device complies with Industry Canada’s license-exempt RSSs. Operation is subject to the following two conditions:
- This device may not cause interference; and
- This device must accept any interference, including interference that may cause undesired operation of the device.
The tern “IC:” before the certification/registration number only signifies that the Industry Ganada technical specifications were met. This product meets the applicable Industry Ganada technical specifications.
For complete warranty details,
please visit us at
www.scosche.com or
call (800) 363-4490
Read More About This Manual….
Scosche-BTFREQ-Bluetooth-FM-Transmitter-BTFM4-Manual-Optimized
Scosche-BTFREQ-Bluetooth-FM-Transmitter-BTFM4-Manual-Original
Questions about your Manual? Post in the comments!


















