ISC-D118-T Walk Through Metal Detector
User Guide
Walk-through Metal Detector
Quick Start Guide
Foreword
General
This manual introduces the functions and operations of the walk-through metal detector (hereinafter referred to as the “Detector”).
Safety Instructions
The following signal words might appear in the manual.
| Signal Words | Meaning |
| Indicates a high potential hazard which, if not avoided, will result in death or serious injury. |
| Indicates a medium or low potential hazard which, if not avoided, could result in slight or moderate injury. |
![]() | Indicates a potential risk which, if not avoided, could result in property damage, data loss, reductions in performance, or unpredictable results. |
| Provides methods to help you solve a problem or save time. | |
| Provides additional information as a supplement to the text. |
Revision History
| Version | Revision Content | Release Time |
| V1.0.1 | Update port description. Add the temperature overlay function and camera configuration. | November 2021 |
| V1.0.0 | First release. | June 2021 |
Interface Declaration
This manual mainly introduces the relevant functions when you use the Device. The interfaces used for manufacture, returning to the factory for inspection, and locating fault are not described in this manual. Please contact technical support if you need information about these interfaces.
Privacy Protection Notice
As the device user or data controller, you might collect the personal data of others such as their face, fingerprints, and car plate number. You need to be in compliance with your local privacy protection laws and regulations to protect the legitimate rights and interests of other people by implementing measures which include but are not limited: Providing clear and visible identification to inform people of the existence of the surveillance area and provide required contact information.
About the Manual
- The manual is for reference only. Slight differences might be found between the manual and the product.
- We are not liable for losses incurred due to operating the product in ways that are not in compliance with the manual.
- The manual will be updated according to the latest laws and regulations of related jurisdictions.
For detailed information, see the paper user’s manual, use our CD-ROM, scan the QR code or visit our official website. The manual is for reference only. Slight differences might be found between the electronic version and the paper version. - All designs and software are subject to change without prior written notice. Product updates might result in some differences appearing between the actual product and the manual. Please contact customer service for the latest program and supplementary documentation.
- There might be errors in the print or deviations in the description of the functions, operations and technical data. If there is any doubt or dispute, we reserve the right of final explanation.
- Upgrade the reader software or try other mainstream reader software if the manual (in PDF format) cannot be opened.
- All trademarks, registered trademarks and company names in the manual are properties of their respective owners.
- Please visit our website, contact the supplier or customer service if any problems occur while using the device.
- If there is any uncertainty or controversy, we reserve the right of final explanation.
Important Safeguards and Warnings
This chapter describes the contents covering proper handling of the Device, hazard prevention, and prevention of property damage. Read these contents carefully before using the Device, comply with them when using, and keep the manual well for future reference.
Transportation Requirements
Transport the Device under the allowed humidity and temperature conditions.
Storage Requirements
- Keep the Device away from dampness, dust or soot.
- Store the Device under the allowed humidity and temperature conditions.
Installation Requirements
- Do not place or install the Device in a place exposed to sunlight or near the heat source.
- Keep the Device installed horizontally on a stable place to prevent it from falling.
- Install the Device in a well-ventilated place, and do not block the ventilation of the Device.
Operation Requirements
- Do not drop or splash liquid onto the Device, and make sure that there is no object filled with liquid on the Device to prevent liquid from flowing into the Device.
- Operate the Device within the rated range of power input and output.
- Do not disassemble the Device.
- Use the Device under the allowed humidity and temperature conditions.
Maintenance Requirements
- Use the battery of specified manufacturer; otherwise there might result in explosion. When replacing battery, make sure that the same type is used. Improper battery use might result in fire, explosion, or inflammation.
- Always replace with the same type of batteries.
- Use the recommended power cables in the region and conform to the rated power specification.
- Use the power adapter provided with the Device; otherwise, it might result in people injury and device damage.
- Use power supply that meets ES1 but does not exceed PS2 limits defined in IEC 62368-1. For specific power supply requirements, refer to device labels.
- Connect the Device (I-type structure) to the power socket with protective earthing.
- The appliance coupler is a disconnection device. Keep the angle for easy operation.
Overview
1.1 Introduction
The device is a high-performance walk-through metal detector. It is light-weighted and has high metal detection sensitivity, strong anti-interference capabilities and stable performance. The device, made of high-strength special materials, is light-weighted and easy to transport and install. The device has a modular design and is manufactured on unified assembly lines, ensuring the good stability. It also delivers a simplicity and user-friendly interface.
The walk-through metal detector is suitable for use in the following scenarios: Security screening of prohibited metal items in law enforcement sites such as public security, the procuratorate, tribunal, labor camp, and detention house. It is also suitable for security checks at the entrances of public spaces, including stadiums, entertainment places, airports, customs, exhibition halls and museums.
1.2 Technical Advantages
- Start-stop Technology
The IR units support manual start-stop technology for longer service life. - Adjustable Sensitivity
The sensitivity of each detection zone can be adjusted as needed to meet different sensitivity requirements of different zones. - Alarm
Light and sound alarm for sharp alert. The sound duration and volume can be adjusted as needed. - Search
The system supports real-time search. - Detection Capability
60 to 100 people detected per min. - Filtering
Pre-define metal item weight, volume, size, part; exclude keys, jewelries, belt buckles and more. - Security Protection
In line with EMC electromagnetic radiation standards and adopting weak magnetic field technology, the Device is harmless to cardiac pacemaker wearers, pregnant women, floppy disks, film, and videotapes.
Structure
2.1 Dimensions
2.2 Port 
| No. | Name | Description |
| 1 | Power supply switch | Turns on or off the Device. |
| 2 | Power input port | Connects to power cable to get power supply. |
| 3 | Reset button | Long press the button for more than 5 s to restore the detector to factory default. |
| 4 | Ethernet port | Connects to network with network cable. |
| 5 | Alarm in + | Receives the signal of external alarm source. |
| 6 | Alarm in– | |
| 7 | NC | Reserved port. |
| 8 | ||
| 9 | ||
| 10 | ||
| 11 | Alarm out C | Outputs alarm signal to alarm device. |
| 12 | Alarm out NO | |
| 13 | RS-485 B | ● Connect A and B cables (which both control RS-485) to devices such as PTZ cameras. ● If there are a large number of PTZ decoders, connect A and B cables to 120 Ω resistors. ● Supports connecting to a thermal camera. |
| 14 | RS-485 A | |
| 15 | DB25 | Signal port for metal detection. |
| 16 | Power in | Inputs 12 VDC power. Be sure to supply power as instructed in the manual. |
| 17 | Power out | Outputs 12 VDC power. Supports connecting to a thermal camera. |
Installation
3.1 Checklist
After receiving the product, check against the table below. If there are any problems, contact the after-sales service personnel.
Table 3-1 Checklist
| No. | List | Description | |
| 1 | Overall packaging | Appearance | Obvious damage |
| Packaging | Accidental impact | ||
| Accessories | Complete or not | ||
| 2 | Host | Appearance | Obvious damage |
| Model | Whether consistent with the order contract | ||
Table 3-2 Packing list
| Name | Quantity |
| Detector panel | 2 |
| Host box | 1 |
| Beam | 2 |
| Power cable (power input) | 1 |
| DB25 cable | 2 |
| Fixing screws (M6 × 16) | 4 |
| Fixing screws (M8 × 80) | 8 |
| Remote control | 1 |
| Wrench | 1 |
| Thermal camera | 1 |
| Thermal camera fixing bracket | 1 |
| Thermal camera fixing screws | 5 |
3.2 Environment Requirements
- The ground is flat and sturdy
The ground should be flat and firmly supporting to prevent vibration. If there is a vibrating metal structure under the ground, there can be unnecessary alarm when people pass through the metal detector. Do not install the detector on a metal ground. - Keep away from fixed metal objects
Large metal objects that are fixed or immobile should be at least 50 cm away from the detector (detecting large metal objects) because they might make the Device more susceptible to vibration.
The distance in this section is the recommended distance. The actual installation distance depends on the installation site conditions. - Keep away from moving metal objects
Large moving metal objects should be kept 0.5 m to 2 m away from the detector to avoid false alarms. Depending on the size of the metal object, the distance between the moving metal object and the detector might vary. - Keep away from radioactive electronic interference
The distance between the electronic interference source and the receiving coil should be as large as possible. The recommended minimum distance is 0.5 m to 4 m. However, the actual distance needs to be based on specific circumstances. For example, you can go through a metal detector with a source of interference until the best position is found. Interference can occur from electronic control panels, radios and computers, image displays, high-power motors and transformers, AC wires, transistor control circuits, flash fluorescent tubes, arc welding equipment, and more. - Keep away from conductive electronic interference
Connect the power cable to a line that is not connected to other large loads, such as high-power motors, because they can cause a large power or voltage shock in the line.
3.3 Installing Detector
Step 1 Open the packing box and take out the accessories.
Step 2 Open the front beam with the key, and then attach the host box to the front beam with four M6 × 16 screws.
Step 3 Connect two DB25 cables and one power cable to the host box, and then separately run the two DB25 cables through the two holes at the two ends of the beam. Select one end of the beam, and then run the power cable.
Step 4 Connect one end of the two DB25 cables and power cable to one detector panel, and then attach the front beam and rear beam to the detector panel with four M8 × 8 screws.
Step 5 Connect the other end of the two DB25 cables and power cable to one detector panel, and then attach the front beam and rear beam to the detector panel with four M8 × 8 screws.
Step 6 Stand the Detector up.
Step 7 Connect the power supply to the Detector, and then turn on the power switch to start the Detector.
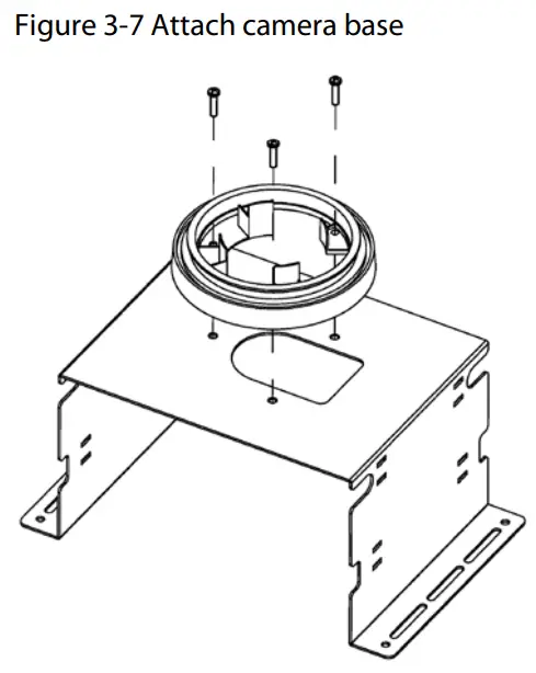
3.4 Installing Thermal Camera
Step 1 Use the Allen wrench to loosen the screws to disassemble the camera into three parts.
Step 2 Attach the camera base to its fixing bracket with three M4 × 16 screws.
Step 3 Place the camera and its cover back in the original position.
Step 4 Open the back cover of the detector, then take out the power cord from the accessories and connect it to the OUT port. Run the power cord and the camera cable through the opening of the back cover.
Step 5 Close the back cover and place the bracket together with the camera between the two beams.
Step 6 Connect the power cord and the camera cable to the corresponding ports of the camera.
Move the camera to a suitable position and secure it with two to three M4 × 16 screws.
Step 7 Adjust the camera to a suitable angle.
3.5 Multiple Walk-through Detectors Site Installation
When installing multiple devices, space the devices at least 50 cm, and also space the device and Xray security screening machine larger than 50 cm. This recommended spacing can make the little metal objects (such as coin) detected. If you install the devices with space smaller than 50 cm, there might be false alarm. If the spacing needs to be shorten because of limited installation site, you need to adjust the frequency, lower the security level and sensitivity according to the actual situation; otherwise, small metal objects might not be detected.
3.6 Stabilizing Detector
To make the Detector work normally, stabilize the Device before use by tightening the fixing screws.
Detector Configuration
4.1 Configuration Panel
| No. | Description | |
| 1 | Displays number of passes, alarm times, signal strength bar, mode (normal, test, or alarm), current working frequency, volume and time. ● Different colors of mode icon indicate different modes: Yellow: Test mode. Green: Normal mode. Red: Alarm. | |
| 2 | ● Power switch. Turn on or off the Device. ● Press and hold the button for 3 s to clear the counting data. | |
| Select buttons. Press | ||
| ● Go to the parameter setting interface. ● Set parameter value. ●Confirm and save settings. | ||
| Returns to the previous menu or exits the menu setting interface. | ||
| 3 4 | IR sensor. Power indicator light. | |
| 5 | Displays metal position indication with 18 indicators (red zone). | |
4.2 Remote Control
You can set the parameters of the Device remotely through the remote control. Install the batteries before using the remote control.
Table 4-2 Operation description
| No. | Name | Description |
| 1 | Power | Turn on or off the Device. |
| 2 | Reset | Press the button, and the number of passes and alarm times will be cleared. |
| 3 | Direction | ● Press the buttons to switch and select menus. ● When setting a parameter, press left or right button to move the cursor, and then press up or down button to change the number or parameter value. |
| 4 | Confirm | ● Go to the parameter setting interface. ● Confirm and save the setting. |
| 5 | Menu | Press the button to switch menus quickly. If the current parameter is the last one, press this button to switch to the first one. |
| 6 | Back | Returns to the previous menu or exits the menu setting interface. |
| 7 | Home | Go to the home page. |
4.3 Detector Operations
4.3.1 Login
You can log in to the Device with the default password (000000). Change the password the first time you use it.
Procedure
Step 1 Connect the power supply, press the switch button.
The main interface is displayed.
Step 2 Enter the password.
Press
to move the cursor, and then press
to set the number.
Step 3 Press
to move the cursor to OK, and the press
to confirm the password.
If the password is wrong, the error note will be displayed.
Figure 4-3 Password error
Related Operations
If you forget the password, long press the reset button for more than 5 s to restore the Detector, and then the Detector restarts.
4.3.2 Setting Sensitivity
Sensitivity can be set separately for each zone. It ranges from 0 to 255. The higher the value is, the more sensitive the Device is.
Step 1 Log in to the Detector. For details, see “4.3.1 Login”.
Step 2 Press
to move the cursor to Sensitivity, and then press
to go to the sensitivity setting interface.
Step 3 Select the zone that needs to be set, and then set sensitivity.
Press
to move the cursor to a zone (for example, L1Zo), and then press
to set the value.
- L1Zo–L6Zo: The detection sensitivity of left detector panel (models with 12 zones and 18 zones) and models with 6 zones.
- R1Zo–R6Zo: The detection sensitivity of right detector panel (models with 12 zones and 18 zones).
Step 4 Press
to move the cursor to OK, and then press
to save the setting.
Result
When both the defined threshold of security level and sensitivity are reached, an alarm will be triggered.
When both the defined threshold of security level and sensitivity are reached, an alarm will be triggered. For the details of sensitivity, see #d274e7a1026.
4.3.3 Setting Frequency
Electromagnetic interference from ambient environment varies with different frequencies. The frequency for lower interference makes the Device have higher sensitivity. When multiple devices work simultaneously, set different frequencies for each device to reduce mutual interference.
The Device can search the frequency for lowest interference, and sets it to the working frequency.
You can also set the frequency manually. It ranges from 1 to 20.
Step 1 Log in to the Detector. For details, see “4.3.1 Login”.
Step 2 Press
to move the cursor to Frequency, and then press
to go to the frequency setting interface.
Step 3 Set the frequency.
● Auto search frequency: Press
to move the cursor, and press
to enable the auto search frequency function. The Device will set the suitable working frequency automatically. If the working frequency still needs to be adjusted, you can set the value manually.![]()
◇ Do not pass or approach to the detector during auto searching.
◇ Alarm might be triggered during auto searching. Auto-searching function lasts about 2 minutes
● Set frequency manually: When the auto search frequency function is disabled, press
to move the cursor, and then press
to set the value manually.
Step 4 Press
to move the cursor to OK, and then press
to save the setting.
4.3.4 Setting Temperature Overlay
After you enable the temperature overlay function, body temperature and the number of temperature alarms will be displayed on the screen.
Step 1 Log in to the Detector. For details, see “4.3.1 Login”.
Step 2 Press
to move the cursor to System, and then press
.
Step 3 Press
to move the cursor to Alarm, and then press
.
Step 4 Press
to move the cursor to ON, and then press
to enable the temperature overlay function.
Press
, ON becomes OFF, and then press
to disable the function.
Step 5 Press
to move the cursor to OK, and then press
. Body temperature and the total number of temperature alarms are displayed on the screen.
When the body temperature is normal, the words on the screen are white and the duration is 1 s. When the body temperature is abnormal, the words are red and the duration is 3 s. 
Configuring Camera
With a thermal camera, the Detector supports temperature monitoring. The detection rules are set by default, but you can change it to meet your preference. For details, see Thermal Hybrid Camera_Web Operation Manual.
5.1 Logging in to Camera
Step 1 Open IE browser (IE7 and later), enter the IP address of the device (192.168.1.108 by default) in the address bar and press the Enter key.
Step 2 Enter the username and password.
The username is admin by default.
Step 3 Click Login.
5.2 Enabling Smart Plan
Enable the smart plan before configuring thermal temperature monitoring.
Step 1 Select Setting > Event > Smart Plan.
Step 2 Enable thermal temperature monitoring.
Click
to enable it, and the icon is highlighted.
5.3 Configuring Temperature Monitoring
Thermal temperature monitoring is enabled. For details, see “5.2 Enabling Smart Plan”.
Step 1 Select Setting > Smart Thermal > Temp Monitoring.
Step 2 Click Draw Rule to draw a detection area.
Make sure that the lower border of the detection area is close to the general height of people’s shoulders. The upper border can be next to the upper edge of the thermal image.
Step 3 Select the Enable check box. It is enabled by default. Configure thermal temperature monitoring parameters.
Step 4 Configure thermal temperature monitoring parameters.
Table 5-1 Description of temperature monitoring parameter
| Parameter | Description |
| Period | Define a period during which the alarm settings are valid. 1.Click Setting, and the period setting interface is displayed. 2. Configure period. ● Method 1: Press and drag the left mouse button on the time line. ● Method 2: Click Setting for the day in the week you want to configure, and then configure periods as needed (6 periods are available). 3.Click Save. |
| Record Max. Temperature | Set the period during which the camera will monitor the temperatures and capture the images when the temperature reaches the highest value. It is 3 s by default. When the value is 0, it means that the camera will capture the image when the target appears in the detection area, |
| Temperature Report | Enable temperature report, and the temperature is displayed on the screen of the Device in real time. |
| High Temperature Warning | Enable the temperature warning, and then set the warning threshold. It ranges from 1 °C to 43 °C. When the monitored temperature is higher than or equal to this value, an alarm is triggered. It is 37.3 °C by default. |
| Low Temperature Warning | Enable the low temperature warning, and then set the warning threshold. It ranges from 1 °C to 43 °C. When the monitored temperature is lower than or equal to this value, an alarm is triggered. It is 27 °C by default. |
| Temp Lower Limit | Set the lower limit of the body temperature. The camera only monitors temperatures that are higher than or equal to this value. It is 43 °C by default. |
| Temp Upper Limit | Set the upper limit of the body temperature. The camera only monitors temperatures that are lower than or equal to this value. It is 32 °C by default. |
| Nearest Temperature Distance | The camera detects the temperature of the targets who are within the highest and lowest detection range. It takes effect after distance detection is enabled. The nearest temperature distance is 50 cm, and the furthest temperature is 200 cm by default. |
| Furthest Temperature Distance |
5.4 Configuring Smart Channel
Step 1 Select Setting > Smart Thermal > Smart Channel.
Step 2 Select the display mode of the channel.
● Visual: It is selected by default.
● Thermal: When the light is not good (such as with black light or the light is too dim), we recommend you selecting Thermal.
● Schedule: Select Schedule and then configure the schedule. The two channels will switch automatically to the configured schedule.
Step 3 (Optional) Configure Snap Angle Filter.
● 1: The camera detects frontal faces only.
● 90: The camera detects side faces only. It is set by default.
Snap angle filter is only supported when you select Visual as the display mode of the smart channel.
Step 4 Enable Only Measure Forehead as needed.
After enabling this function, the camera only detects the temperature of the forehead area.
It can reduce the false alarm caused by high temperatures in the background.
Step 5 Enable Distance Detection as needed.
It is enabled by default.
Step 6 Enable Snap Face Image as needed.
Step 7 Click Save.
Appendix 1 Cybersecurity Recommendations
Mandatory actions to be taken for basic equipment network security:
1. Use Strong Passwords
Please refer to the following suggestions to set passwords:
- The length should not be less than 8 characters.
- Include at least two types of characters; character types include upper and lower case letters, numbers and symbols.
- Do not contain the account name or the account name in reverse order.
- Do not use continuous characters, such as 123, abc, etc.
- Do not use overlapped characters, such as 111, aaa, etc.
2. Update Firmware and Client Software in Time
- According to the standard procedure in Tech-industry, we recommend to keep your equipment (such as NVR, DVR, IP camera, etc.) firmware up-to-date to ensure the system is equipped with the latest security patches and fixes. When the equipment is connected to the public network, it is recommended to enable the“auto-check for updates” function to obtain timely information of firmware updates released by the manufacturer.
- We suggest that you download and use the latest version of client software.
“Nice to have” recommendations to improve your equipment network security:
- Physical Protection
We suggest that you perform physical protection to equipment, especially storage devices. For example, place the equipment in a special computer room and cabinet, and implement welldone access control permission and key management to prevent unauthorized personnel from carrying out physical contacts such as damaging hardware, unauthorized connection of removable equipment (such as USB flash disk, serial port), etc. - Change Passwords Regularly
We suggest that you change passwords regularly to reduce the risk of being guessed or cracked. - Set and Update Passwords Reset Information Timely
The device supports password reset function. Please set up related information for password reset in time, including the end user’s mailbox and password protection questions. If the information changes, please modify it in time. When setting password protection questions, it is suggested not to use those that can be easily guessed. - Enable Account Lock
The account lock feature is enabled by default, and we recommend you to keep it on to guarantee the account security. If an attacker attempts to log in with the wrong password several times, the corresponding account and the source IP address will be locked. - Change Default HTTP and Other Service Ports
We suggest you to change default HTTP and other service ports into any set of numbers between 1024–65535, reducing the risk of outsiders being able to guess which ports you are using. - Enable HTTPS
We suggest you to enable HTTPS, so that you visit Web service through a secure communication channel. - MAC Address Binding
We recommend you to bind the IP and MAC address of the gateway to the equipment, thus reducing the risk of ARP spoofing. - Assign Accounts and Privileges Reasonably
According to business and management requirements, reasonably add users and assign a minimum set of permissions to them. - Disable Unnecessary Services and Choose Secure Modes
If not needed, it is recommended to turn off some services such as SNMP, SMTP, UPnP, etc., to reduce risks.
If necessary, it is highly recommended that you use safe modes, including but not limited to the following services:
● SNMP: Choose SNMP v3, and set up strong encryption passwords and authentication passwords.
● SMTP: Choose TLS to access mailbox server.
● FTP: Choose SFTP, and set up strong passwords.
● AP hotspot: Choose WPA2-PSK encryption mode, and set up strong passwords. - Audio and Video Encrypted Transmission
If your audio and video data contents are very important or sensitive, we recommend that you use encrypted transmission function, to reduce the risk of audio and video data being stolen during transmission.
Reminder: encrypted transmission will cause some loss in transmission efficiency. - Secure Auditing
● Check online users: we suggest that you check online users regularly to see if the device is logged in without authorization.
● Check equipment log: By viewing the logs, you can know the IP addresses that were used to log in to your devices and their key operations. - Network Log
Due to the limited storage capacity of the equipment, the stored log is limited. If you need to save the log for a long time, it is recommended that you enable the network log function to ensure that the critical logs are synchronized to the network log server for tracing. - Construct a Safe Network Environment
In order to better ensure the safety of equipment and reduce potential cyber risks, we recommend:
● Disable the port mapping function of the router to avoid direct access to the intranet devices from external network.
● The network should be partitioned and isolated according to the actual network needs. If there are no communication requirements between two sub networks, it is suggested to use VLAN, network GAP and other technologies to partition the network, so as to achieve the network isolation effect.
● Establish the 802.1x access authentication system to reduce the risk of unauthorized access to private networks.
● Enable IP/MAC address filtering function to limit the range of hosts allowed to access the device.




















