CONRAD CM-SS002 Coffee Maker

IMPORTANT SAFEGUARDS
When using electrical appliance. Basic safety precautions should always be followed including the followings:
- Read all instructions.
- Make sure that your outlet voltage corresponds to the voltage stated on the rating label of the coffee maker.
- To protect against fire, electric shock and injury to persons do not immerse cord, plug, or in water or other liquid.
- Close supervision is necessary when any appliance is used by or near children.
- Unplug from outlet when not in use and before cleaning. Allow to cooling before putting on or taking off parts, and before cleaning the appliance.
- Do not operate any appliance with a damaged cord or plug or after the appliance malfunctions, or has been damaged in any manner. Return appliance to an authorized service facility for examination, repair or adjustment.
- The use of accessory not recommended by the appliance manufacturer may result in fire, electric shock or injury to persons.
- Do not use outdoors.
- Do not let cord hang over edge of table or counter, or touch hot surface.
- Do not place on or near a hot gas or electric burner, or in a heated oven.
- Do not use appliance for other than intended use.
- Do not clean container with cleansers, steel wool pads, or other abrasive material.
- To disconnect, turn any control to “Off”, remove plug from wall outlet. Always hold the plug. But never pull the cord.
- Scalding may occur if the cover is removed during the brewing cycles. Be careful not to get burned by the steam.
- Some parts of appliance are hot when operated, so do not touch with hand.
- Use handles or knobs only. Do not touch the heating plate!
- Never leave the empty carafe on the warming plate otherwise the carafe is liable to crack.
- Never use the appliance if the carafe shows any signs of cracks or carafe having a loose or weakened handle. Only use the carafe with this appliance.
- Use carefully as the carafe is very fragile.
- Children should be supervised to ensure that they do not play with the appliance.
- Do not set a hot container on a hot or cold surface.
- Do not let the coffee maker operate without water.
- This appliance is intended to be used in household and similar applications
such as:- Staff kitchen areas in shops, offices and other working environments;
- Farm houses;
- By clients in hotels, motels and other residential type environments;
- Bed and breakfast type environments.
- Save these instructions.
KNOW YOUR COFFEE MAKER

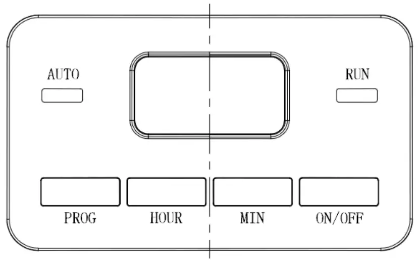
CONTROL PANEL

BEFORE THE FIRST USE
Check that all accessories are complete and the unit is not damaged. Add water into water tank to the max level and brew water for several times without coffee powder, then discard the water. Clean all detachable parts thoroughly with warm water.
USING YOUR COFFEE MAKER
- Open the water tank lid and fill the water tank with cold drinking water. The water level should not exceed MAX level as indicated on water gauge.
- Swing the funnel holder out, put the funnel into funnel holder, then place the filter paper in the funnel, and make sure it is assembled correctly.
- Add proper coffee powder into filter. Usually a cup of coffee need a level spoon of coffee powder, but you may adjust according to personal taste, and then close the funnel holder.
- Insert the carafe on warming plate horizontally.
- Plug the power cord into the outlet. The LCD will display “12:00” and the colon will flash, but all the button lights will not illuminate.
- Press ON/OFF button, the indicator of RUN will be illuminated red. The appliance will begin working.
- The brewing process can be interrupted by pressing the ON/OFF button twice again at any time, and the indicator of RUN will be extinguished. The appliance will continue brewing once ON/OFF is pressed again.
- Note: You can take out carafe, pour and serve at any time. The appliance will stop dripping automatically. But the time cannot exceed 30 seconds.
- Remove out carafe to serve when finish brewing (about one minute later after the coffee stops dripping out.)
- Note: the coffee you get will less than the water you have added, as some water is absorbed by coffee ground.
- When the process is finished, if you do not want to serve immediately, keep the coffee maker is energized, the coffee can be kept warm in the warming plate. The appliance will be cut off power automatically after 40 minutes if it has not been manually disconnected at the completion of brewing. For an optimum coffee taste, serve it just after brewing.
- Always turn the coffee maker off and disconnect the power supply when not use.
Note: pay attention to pour the coffee out, otherwise you may be hurt as the temperature of coffee just finished is high.
If you do not want the coffee maker to start operation immediately, for example now it is 5:10 pm, you hope that the coffee maker will automatically start at 8:15 in the evening, first follow steps 1 to 5 of above section, then you can set the automatic start function as follows:
- Press PROG button one time, the word CLOCK is showed at the up-right corner on display.
- Press the HOUR and MIN button continuously to set the present time (real clock), that is 17:10 (See fig. 1).

Note: the time cycle is 24 hours. - Press PROG button once again and the word TIMER shows on up-left corner of display.
- Set the delayed starting time by pressing HOUR and MIN button repetitively, that is 20:15 (see Fig. 2).

- Press the ON/OFF twice, the indicator of AUTO will illuminate. The LCD will display the current clock. You may see the automatic start time by pressing PROG.
CLEANING AND MAINTENANCE
- CAUTION: Be sure to unplug this appliance before cleaning. To protect against electrical shock, do not immerse cord, plug or unit in water or liquid.
After each use, always make sure plug is first removed from wall outlet. - Clean all detachable parts after each use in hot, sudsy water.
- Wipe the product’s exterior surface with a soft, damp cloth to remove stains.
- Water droplets may buildup in the area above the funnel and drip onto the product base during brewing. To control the dripping, wipe off the area with a clean, dry cloth after each use of the product.
- Use a damp cloth to gently wipe the warming plate. Never use abrasive cleaner to clean it.
- Replace all parts and keep for next use
REMOVING MINERAL DEPOSITS
To keep your coffee maker operating efficiently, you should clean away the mineral deposits left by the water regularly according to the water quality in your area and the frequency use the appliance, the detail is as follows:
- Fill the water tank with water and descale to the MAX level in the gauge of coffee maker (the scale of water and descale is 4:1, the detail refers to the instruction of descale. Please use “household descale”, you can use the citric acid instead of the descale (the one hundred parts of water and three parts of citric acid).
- Push carafe on warming plate, pay attention to let center line of carafe aligns with that of funnel
- Press the ON/OFF button once and the indicator of RUN will be illuminated.
After a while, water will drop out automatically. - After percolate the equivalent of one cup and then switch off the appliance by pressing the ON/OFF button twice again. The indicator of RUN will go out.
- Leave the solution work for 15 minutes, repeat the steps of 3-5 again.
- Turn the appliance on by pressing the ON/OFF button once and run off the water until the water tank is completely empty.
- Rinse by operating the appliance with water at least 3 times.
HINTS FOR GREAT-TASTING COFFEE
- A clean coffee maker is essential for making great-tasting coffee. Regularly clean the coffee maker as specified in the “CLEANING AND MAINTENANCE” section. Always use fresh, cold water in the coffee maker.
- Store unused coffee powder in a cool, dry place. After opening a package of coffee powder, reseal it tightly and store it in a refrigerator to maintain its freshness.
- For an optimum coffee taste, buy whole coffee beans and finely grind them just before brewing.
- Do not reuse coffee powder since this will greatly reduce the coffee’ flavor. Reheating coffee is not recommended as coffee is at its peak flavor immediately after brewing.
- Clean the coffee maker when over-extraction causes oiliness. Small oil droplets on the surface of brewed, black coffee are due to the extraction of oil from the coffee powder.
- Oiliness may occur more frequently if heavily roasted coffees are used.
TECHNICAL DATA
| Operating voltage | 220 – 240 V/AC, 50 – 60 Hz |
| Power consumption | 900 W |
| Water capacity | 1.5 L |
| Weight | 1.76 kg |
| Operating conditions | -10 to +50 °C, max. 85 % RH |
| Storage conditions | -10 to +50 °C, max. 85 % RH |
| Dimensions (W x H x D) | 178 x 315 x 285 mm |



















