SENCOR BLUETOOTH SPEAKER SSS 1300 STEREUS USER MANUAL

Safety Instructions
This product has been designed with the utmost safety in mind. However, incorrect use may lead to electric shock or fire. This is why users should observe the following instructions when using this device.
This device uses a semiconductor unit and contains no user serviceable parts. Do not disassemble this device, otherwise you are exposed to the risk of electric shock. If any damage to this product occurs, please have this product repaired by a qualified service technician.
Power source
Power supply of this unit must be match the serial plate data.
Heal source
Keep this unit out of heat sources like stove or direct sunlight.
Cleaning
Prior to cleaning, please disconnect power first. For cleaning, don’t use liquid detergents or caustic liquids – just clean the unit with a soft cloth.
Heavy objects
Do not place heavy objects on the unit, otherwise damage might occur.
Connecting other devices
Before connecting other devices to this unit, please make sure to disconnect power. Otherwise damage to the unit or personal injury might occur.
Faults lo be repaired
If any of the following problems occurs, please disconnect power to the unit and contact a qualified service technician.
- Power cord or plug is damaged.
- Liquids or other foreign objects have penetrated inside the product.
- If the unit does not work even if it’s being operated according to the instructions, don’t press any buttons other than those described in these instructions. Otherwise, damage to this unit may occur along with a more demanding repair.
- This unit has fallen on the ground from a big height.
- Burns can be smelled from the product inside.
Maintenance
If you don’t have enough technical knowledge necessary to maintain this unit, don’t attempt to repair it by yourself. By removing cover, you are exposed to a risk of electric shock. If needed, please contact a qualified service technician.
Replacement of parts
If you need to replace any part of this unit, ask your service technician to make a replacement for equal spare part models. If other spare part models are used for replacement, serious damage, electric shock or shortening the unit’s lifetime may occur.
Safety check
When done with the maintenance, ask your service technician to perform an an-site safety check to make sure that the unit’s operation is safe.
Note:
Before using this product, read these instructions carefully and keep it well for future use.
Supply content
- BT speaker
- Micro USB charging cable
- User’s manual
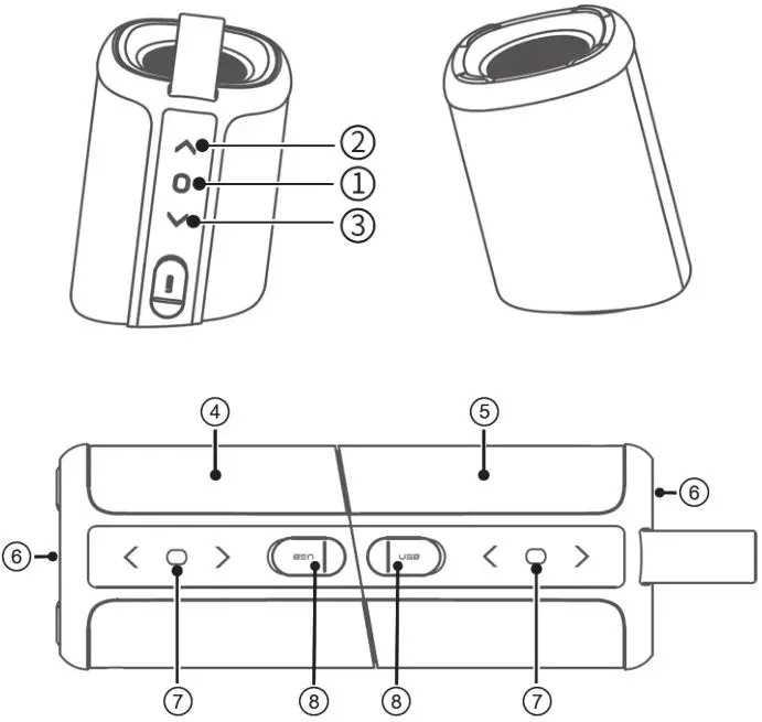
Description of the BT speaker

- Multifunction button
- Volume increase button/next track
- Volume decrease button/previous track
- Secondary part of the speaker (left channel)
- Main part of the speaker (right channel)
- LED indicator
- Multifunction button
- Speaker inputs for charging
Putting into operation
Before first use, be sure to read the safety instructions contained in this user’s manual carefully.
Before first use, please charge the BT speaker to a maximum level. Press and hold the multifunction button (2 seconds) to turn on the selected BT speaker. Simultaneously switch on both parts of the BT speaker (right and left channel). Turning on/off is indicated by a sound signal. To turn off the BT speaker, press and hold the multifunction button (both right and left channels will be muted simultaneously).
Note:
The BT speaker can be divided into 2 separate pieces (right and left channel). Place the BT Speaker vertically on a solid surface (e.g. a table) and hold it firmly by the bottom with one hand (the secondary speaker). With the other hand, grasp the top of the speaker (main speaker) firmly and turn it counter-clockwise by approximately 30 degrees. The speakers are separable from each other and can be set up separately (the LED indicators point upwards). To reassemble the loudspeaker into 1 piece, place the main part on the vertically standing secondary part so that the speaker input protective caps are near each other. Then, slightly rotate the main part counter-clockwise so that the internal speaker thread fits correctly first, and then the main part can be rotated clockwise to the home position (the right and left multi-function buttons are in line).
![]()
Caution:
After a longer period of inactivity, the appliance will turns itself off. When separating the speaker into 2 individual pieces, observe the recommended distance for quality transmission between the paired devices.
LED indicators
The LED indicator shows the following states of the BT speaker:
- Blinking blue indicator – the unit is ready to be paired via Bluetooth and the audio signal source is not connected
- Solid blue – the BT speaker is paired with another device via Bluetooth
- Blinking red indicator accompanied b~ acoustic signal – the unit is discharged.
- Blinking white indicator is displayed during music playback and depends on the volume level.
Pairing devices via Bluetooth
Turn on the BT speaker and search for its Bluetooth name ‘SSS 1300’ on the device to which you wish to pair and start
the pairing process. If you are requested to enter a pairing code while your device and the BT speaker are pairing, use the code: “ODDO”. To interrupt the current Bluetooth connection, briefly press the multifunction button on the BT loudspeaker. The BT speaker remembers the last paired devices to which it will connect upon powering up.
Note:
To ensure a stable Bluetooth connection, make sure that the distance between the BT speaker and your connected device is kept within 10m.
![]()
Caution:
Some connected devices support common volume setting. If some of the connected devices do not support this feature, the volume setting will operate separately an each device.
TWS function
For the proper functioning of the speaker as a whole (main and secondary) it is necessary to have both speaker halves paired using the TWS function. First, make sure your device is not connected to any BT speaker. Turn both BT speakers on (main and secondary) and wait until they are automatically paired together. II the automatic pairing of both speaker parts fails, perform manual pairing by pressing and holding the volume up and down buttons on one of the speakers. The Blue LED indicator will stop blinking and will be lit on both devices when the BT speakers are paired. Changing the volume level using the volume control buttons will take effect automatically on both paired BT speakers. Pressing and holding the Power On button on one of the speakers will turn both paired speakers off.
To interrupt the TWS function, press the multifunction button three times.
Note:
If the BT speakers fail to be paired successfully to transfer stereo sound, turn all engaged units oil and then on again.
- Press the multifunction button to play or pause music during a Bluetooth connection.
- To answer/end an incoming call to the paired device, briefly press the multifunction key of the BT loudspeaker. To reject an incoming call, briefly press the multifunction button on the BT loudspeaker twice.
Note:
The reception of the BT speaker’s microphone may be attenuated due to the device’s water resistance. To improve the reception, please speak loud and in the vicinity of the BT speaker.
Volume and track playback control
The BT speaker volume (+/-) is controlled by briefly pressing the buttons on the BT speaker (Figure “BT speaker description”). During music playback, you can press and hold the “+” button to jump to the next track playback. To select the previous track, please press and hold the corresponding button.
Briefly press the volume control buttons (up and down) lo turn on/off the while LED during playback.
Charging
Charge both parts of the speaker (main and secondary) with their respective charging inputs.
A charged battery provides power for several hours of operation at normal volume levels. A high volume consumes more battery power; therefore, we recommend listening at normal volume levels. To charge he BT speaker, connect the charging adapter to a power socket and then to the BT speaker.
![]()
Caution:
For charging, use only the original accessories supplied with the appliance. To achieve the maximum battery lifetime, it is best to start charging the battery after the low battery power notification by the LED indicator. Charge continuously until fully charged. When the battery operating time becomes very short, the battery lifetime has been used up; we recommend that you have the battery replaced at your authorized centre.
Recommendation: If the unit is not to be used for an extended period of time, we recommend lo fully charge the battery once every two lo three months. We recommend lo store the unit with a the battery charged lo prevent irreparable damage lo the battery (loss of capacity).
Ingression protection (IPX7)
The unit has an increased protection class. The IPX7 waterproof rating ensures the device is protected against immersion in water for 30 minutes to a depth of 1m.
![]()
Caution:
Remember to always seal the BT speaker’s inputs with the original seal plugs (no. 8 the figure “description of the BT speaker”) and make sure the plugs are not damaged. Never charge the unit during possible contact with fluids. The unit is designed for contact with clean water only without any additives. Avoid exposing the unit to contaminated or industrially treated fluids (such as lemonade, sea/salt water, oils, etc.).
Technical specifications
Features:
Unique design with two wireless speakers in one body
Water-resistant speaker with IPX7 rating
The speaker cover is made of premium fabric
TWS function (True Wireless Stereo)
Status LED indicator
Red Dot Design Award
Sound:
20W total power output
2 midrange speakers+ 2 passive emitters
Frequency response: 50 Hz – 17 kHz
Total harmonic distortion: s 1 %
Inputs:
Bluetooth Audio 4.2
Connection distance: up to 15 m
Other:
Silicon strap for easy handling
Handsfree Function
Built-in rechargeable batter~: 2x 1 500mAh Li-Ion
Playback time of up to 5 hours (at 75% volume)
Micro USB charging
Max. charging time 3 hours
Accessories: USB 2in1 charging cable, User Manual
Dimensions: 206 x 78 x 78 mm
Weight: 850 g
Bluetooth:
Version: 4.2
Maximum performance of wireless transmitter:
100mW at 2,4GHz – 2,4835GHz
INSTRUCTIONS AND INFORMATION ABOUT THE DISPOSAL OF DISCARDED PACKAGE
Return the packaging to a collection centre for disposal.
DISPOSAL OF DISCARDED ELECTRICAL AND ELECTRONIC EQUIPMENT
![]()
This symbol placed an the product, accessories or package notifies that the product must not be treated as household waste. Please dispose of this product in a collection centre designed for recycling electric and electronic equipment. In some EU or European countries, you can return your products to your local dealer when buying a new equivalent product. Proper disposal of this product helps save valuable natural resources and prevents possible adverse impacts on the environment and human health that might be caused by improper waste disposal. For further information, please contact your local authorities or the nearest waste disposal collection centre. Wrong disposal of this type of waste may be subject to a legal penalty.
For EU companies
If you need to dispose of an electric or electronic device, ask your dealer oar supplier for necessary information.
Disposal in countries outside the European Union
To dispose of this product, please ask the ministry or your dealer for the necessary information on correct disposal.

The product meets the respective EU requirements.
FAST CR, a.s. hereby declares that the radio equipment type SSS 1300 STEREUS conforms to the 2014/53/EU Directive. For full version of the EU declaration of conformity, please refer to www.sencor.eu website.
Changes in the text, design and technical specifications may be made without prior notice and we reserve the right to make such changes.
The original version is in Czech.
Address of the manufacturer: FAST CR, a.s., Cernokostelecka 1621, RlcanLl CZ-251 01
Warranty conditions
A warranty card is not included with this product.
This product is warranted for the period of 24 months from the date of purchase to the end-user. Warranty is limited to the following conditions. Warranty) is referred only to the customer goods using for common domestic use. The claim for service can be applied either at dealer’s shop where the product was bought, or at below mentioned authorized service shops. The end-user is obligated to set up a claim immediately when the defects appeared but only till the end of warranty period. The end user is obligated to cooperate to certify the claiming defects. Only completed and clean (according to hygienic standards) product will be accepted. In case of eligible warranty claim the warranty period will be prolonged by the period from the date of claim application till the date of taking over the product by end-user, or the date the end-user is obligated to take it over. To obtain the service under this warranty, end-user is obligated to certify his claim with duly completed following documents: receipt, certificate of warranty, certificate of installation.
This warranty is void especially if apply as follows:
- Defects which were put an sale.
- Wear-out or damage caused bid common use.
- The product was damaged bid unprofessional or wrong installation, used in contrary to the applicable instruction manual, used in contrary to legal enactment and common process of use or used for another purpose which has been designed for.
- The product was damaged bid uncared-for or insufficient maintenance.
- The product was damaged b~ dirt, accident of force majeure (natural disaster, fire, and flood).
- Defects on functionality caused by low duality of signal, electromagnetic field interference etc.
- The product was mechanically damaged (e.g. broken button, fall).
- Damage caused by use of unsuitable media, fillings, expendable supplies (batteries) or b~ unsuitable working conditions (e.g. high temperatures, high humidity, quakes).
- Repair, modification or other failure action to the product by unauthorized person.
- End-user did not prove enough his right to claim (time and place of purchase).
- Data an presented documents differs from data an products.
- Cases when the claiming product cannot be identified according to the presented documents (e.g. the serial number or the warranty seal has been damaged).
Authorized service centers
Visit www.sencor.eu for detailed information about authorized service centers.
SENCOR BLUETOOTH SPEAKER SSS 1300 STEREUS USER MANUAL – Optimized PDF
SENCOR BLUETOOTH SPEAKER SSS 1300 STEREUS USER MANUAL – Original PDF



















