Electric Heater Fireplace
ATTENTION:
- Find a location for the electric heater that is protected from direct sunlight.
- Do not plug the electric heater into the power outlet before you read all instructions.
IMPORTANT SAFETY INSTRUCTIONS
SAVE THESE INSTRUCTIONS FOR FUTURE USE
WHEN USING ELECTRICAL APPLIANCES, BASIC PRECAUTIONS SHOULD ALWAYS BE FOLLOWED TO REDUCE THE RISK OF FIRE, ELECTRIC SHOCK, AND INJURY TO PERSONS, INCLUDING THE FOLLOWING:
- Grounding (If necessary) – this heater is for use on 120 volts. DO NOT attempt to modify the plug in any way or use adaptors to defeat the purpose of the grounding feature.
- This heater is hot when in use. To avoid burns, do not let skin come in direct contact with hot surfaces. The grill directly in front of the heater outlet becomes hot during heater operation.
- Front of fireplace should remain not blocked while in use.
- CAUTION: Extreme caution is necessary when any heater is used by or near children or those with disabilities. Never leave the heater operating unattended.
- Do not operate any heater with a damaged cord or plug or after the heater malfunctions, has been dropped or damaged in any manner. Take heater to authorized service facility for examination, electrical or mechanical adjustment or repair.
- Under no circumstance should this electric heater be modified. Parts having to be removed for servicing must be replaced by a certified repair center prior to operating this electric heater again.
- Do not use outdoors or anywhere it can get wet. This heater is not intended for use in bathrooms, laundry areas and similar indoor locations. Never locate heater in bathrooms, laundry areas and similar indoor locations. Never locate this appliance where it may fall into a bathtub or other water container.
- Do not run cord under carpeting. Do not cover cord with throw rugs, runners, or similar coverings. Arrange cord away from traffic area and where it will not be tripped over.
- To disconnect heater, turn off all controls, then remove plug from outlet.
- Connect to properly grounded outlets only.
- Do not insert or allow foreign objects to enter any ventilation or exhaust opening as this may cause an electric shock or fire, or damage the heater.
- To prevent a possible fire, do not block air intakes or exhaust in any manner. Do not use on soft surfaces, like a bed, where openings may become blocked.
- CAUTION: A heater has hot and arcing or sparking parts inside. Do not use it in areas where gasoline, propane, paint, or flammable liquids are used or stored or where the unit will be exposed to flammable vapors. The heater should not be used as a drying rack for clothing. Do not hand any decorations on the heater.
- Do not modify this heater. Use this heater only as described in this manual. Any other use not recommended by the manufacturer may cause fire, electric shock, or injury to persons.
- Avoid the use of an extension cord because the extension cord may overheat and cause a risk of fire. However, if you have to use an extension cord, the cord shall be No.16AWG minimum size and rated not less than 1875 watts, and 3-wire cord with grounding type plug and cord connector.
- Do not plug this product into a receptacle controlled by a wall switch or dimmer.
- Always use a certified electrician should new circuits or outlets be required.
- Always disconnect power before performing any cleaning, maintenance or relocation of the heater.
- For off-season storage, keep in a dry place.
NOTE: Procedures and techniques that are considered important enough to emphasize. CAUTION: Procedures and techniques, which, if not carefully followed, will result in damage to the equipment or personal property or may cause personal injury.
WARNING: Procedures and techniques, which, if not carefully followed, will expose the user to the risk of serious injury, illness or death.
WARNING: This heater and parts become hot when in use. The area directly around and under the heater must be clear and free of any obstructions.
DO NOT ALLOW CHILDREN TO OPERATE THIS HEATER. KEEP CHILDREN AND PETS AWAY FROM HEATER AND CONTROLS.
Electrical Parameter
- Power supply: 120V AC
- Frequency: 60Hz
- Power: 1500W
NOTE: If the supply cord is damaged, it must be replaced by the manufacturer, its service agent or similarly qualified persons in order to avoid a hazard.
Parts list 
Installation:
Clearance: Please allow a minimum of 0.5” spacing from the rear of the unit to a wall.
Wall Opening Dimensions:
Note: Before installing the heater, please confirm the opening size of the wall.
| Model | Unit Overall Dimensions | Cutout Dimensions(W*D*H) |
| W914-18D | 18” x 6.2” x 24” | 15.75”x 6.313”x 23.625” |
| W914-26D | 26” x 6.2”x 17.7” | 22.75”x 6.313”x 17.125” |
| W914-30D | 30” x 6.2 x 17.7” | 26.75”x 6.313”x 17.125” |
| W914-36D | 36” x 6.2 x 17.7” | 32.75”x 6.313”x 17.125” |
| W914-40D | 40” x 6.2 x 17.7” | 36.75”x 6.313”x 17.125” |
| W914-48D | 48” x 6.2 x 17.7” | 44.75”x 6.313”x 17.125” |
Step 1: Remove two mounting screws. Remove the front cover by pulling it upward (See Fig. A).
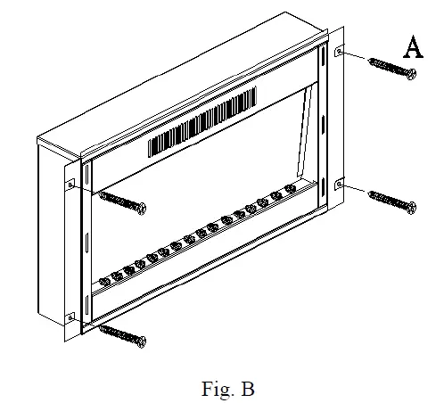
Step 2 : Secure the unit to the back wall using the 4 screws (A) as shown in Fig. B

Step 3: Replace the front cover and secure it with two mounting screws (See Fig. C)
OPERATION
After reading all the instructions, make sure that all the fireplace controls are in the OFF position.
Plug the fireplace into a 15A/120V outlet.
Operation with The Control Panel
The controls are located at the right of the heater outlet
- : Press this button to turn ON the fireplace. The unit will beep. Press again to turn off the fireplace and the fan will continue to work for 60 seconds without heat.
- : Press this button to change flame color. The unit will beep. Press once is orange color. Press twice is orange and blue color. Press third is blue color.
- : Press this button to change flame effect. The unit will beep. Press again to decrease the flame intensity. There are 6 light intensities for your selection. The flame optics will go lower under the sequence of 6,5,4,3,2 and 1. Pressing the button again will stop the flame effect.
- : Press this button to set the temperature. The unit will beep. Press this button to the desired temperature. When desired ambient temperature is reached, the heater will automatically stop heating. When the ambient temperature drops below the desired temperature 2°C, the heater will resume heating.
Operation by The Remote Control
- : Press this button to turn ON the fireplace. The unit will beep. Press again to turn off the fireplace and the fan will continue to work for 60 seconds without heat.
- : Press this button to toggle between the two temperature scales. The corresponding Celsius (C) or Fahrenheit (F) LED indicates the current setting.
- : Press this button for timer function. The letters ‘0H’ to ‘8H’ will appear on the LED screen. ‘0H’ means there is no set running time and heater will run continuously. The letters ‘1H’ to ‘8H’ mean the number of hours that the heater will operate before shutting off.
- : Press this button to change flame effect. The unit will beep. Press again to decrease the flame intensity. There are 6 light intensities for your selection. The flame optics will go lower under the sequence of 6,5,4,3,2 and 1. Pressing the button again will stop t he flame effect. By default, the flame color is orange . Hold it for about 3 seconds to change flame color. The flame color will change under the sequence of orange , orange and blue, blue.
- : Press up or down button to the desired temperature. When desired ambient temperature is reached, the heater will automatically stop heating. When the ambient temperature drops below the desired temperature 2°C, the heater will resume heating.
Remote Control Battery Replacement:
Replace with a CR2025 battery and follow the diagram at the back of remote handset to install the new battery.
Maintenance:
WARNING: Completely disconnect power before attempting any maintenance or cleaning, to reduce the risk of fire or electric shock. Maintenance should only be performed b y a certified technician.
Cleaning:
Before cleaning any parts of the fireplace make sure to first turn off the controls and then unplug the unit from power source.
CAUTION: Wait until the unit has completely cooled before attempting any cleaning.
Cleaning Glass Panel : Remove dust with clean dry cloth. Remove fingerprints and other marks from glass door by using a clean damp cloth. Do not use abrasive cleaners or spray liquids on glass door surfaces.
Metal and metal painted parts should be cleaned with clean damp cloth only. Do not use abrasive cleaners or spray liquids on these surfaces.
Covenant Electric Heater Fireplace Instruction Manual – Optimized PDF
Covenant Electric Heater Fireplace Instruction Manual – Original PDF























