EMA 108 QUICK POWER Handheld Vacuum Cleaner
Handheld vacuum cleaner
EMA 108 QUICK POWER
User guide
EMA 108 QUICK POWER Handheld Vacuum Cleaner

| 1 | Dust container |
| 2 | Filter unit |
| 3 | Hepa filter |
| 4 | Motor unit |
| 5 | Charging base |
| 6 | Long nozzle |
| 7 | Loose nozzle |
| 8 | Mains charger |
| 9 | Tube in 2 parts |
| 10 | Hard floor brush |
| 11 | On/Off button |
| 12 | Charge indicator light |
| 13 | Speed selector (2 levels) |
| 14 | Dust container unlock button |
your product
Contents of the box
- 1 free-standing charging base
- 1 mains charger
- 1 long nozzle
- 1 loose nozzle
- 1 tube in 2 parts
- 1 hard floor brush
- 1 user guide
Technical features
- EMA 108 QUICK POWER cordless handheld vacuum cleaner
- Rechargeable only at the indicated voltage, using the battery charger provided
- Lithium-Ion 10.8 battery V
2000 mAh - Motor power: 120 W
- Battery charger:
– Model: JOD-S-150050GS
– Input: 100 – 240 V~ 50/60 Hz 0.3 A
– Output: 15 V
500 mA 7.5 W - 2 speeds (slow and fast)
- Charging time: 4 hrs 30 min
- Battery life:
– Slow speed: 22 minutes
– Fast speed: 10 minutes - Container capacity: 0.15 L
- Charge level indicator
- Washable Hepa filter
- Free-standing charging base with accessory storage
- Noise level: 80 dB(A)
- Power cord length: 1.5 m
- Weight: 0.77 kg
charging the battery
WARNING: When recharging the battery, use only the detachable power unit supplied with the appliance.
- Assemble the charging base as shown in Figure 1 below.
- Insert the end of the mains charger power cord into the space indicated by an arrow in Figure 2.

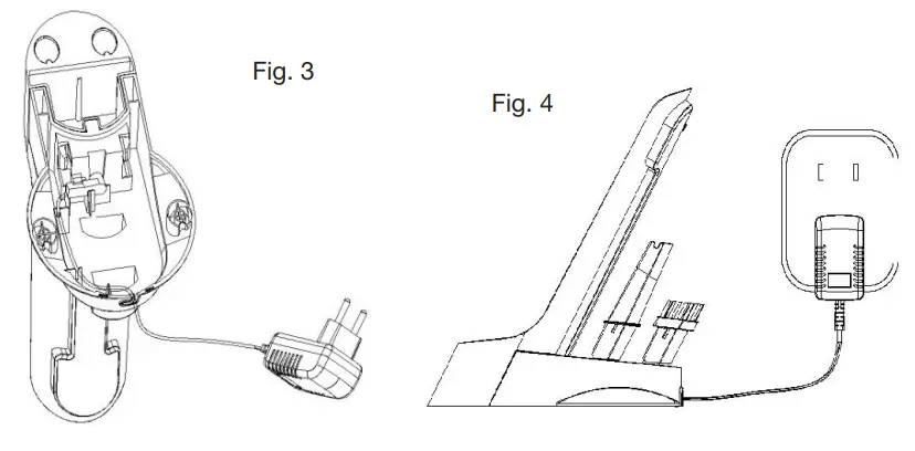
- Pass the power cord through the notches under the base, then pass the cord through the cable guide as shown in Figure 3.
- Place the charging base on a flat, stable surface and plug the power unit into an easily accessible wall socket (Figure 4).

- Place the vacuum cleaner on the charging base (Figure 5). When the charging connectors on the vacuum cleaner are in contact with the charging connectors on the base, the charge indicator light will flash (Figure 6), which means that the vacuum cleaner is recharging. When the indicator light is green, this means that the appliance is fully charged.

- The appliance’s performance may be reduced if you do not use the appliance for a long time or if the battery is completely empty. You should fully charge and fully discharge the battery two to three times during initial uses.
Charging time: 4 hours 30 minutes
Battery life after 4 hours 30 minutes of charging:
– Slow speed: 22 minutes
– Fast speed: 10 minutes
Note: The vacuum cleaner cannot operate while charging.
using the appliance
- Take the appliance off its base.
- The vacuum cleaner has two speeds. Press the On/Off button on the handle once (see Figure 7 below) to turn on the appliance. The appliance switches on at high speed.
- If you want to switch to the slow speed setting, press the speed selector button (Fig. 7).

- Select the appropriate accessory if one is needed and insert it onto the end of the dust container.

Accessory Using the accessory 
Upholstery brush (7):
For use on furniture, picture frames, shelves, cushions, sofas and other soft surfaces.
Crevice tool (6):
For use in hard-to-reach areas such as corners, crevices, skirting boards, etc.
Tube (9) and hard floor brush (10):
To use your vacuum cleaner like a stick vacuum cleaner, to vacuum hard floors.Always switch off the vacuum cleaner when changing accessories.
- When you have finished, press the On/Off button to turn off the vacuum cleaner.
- If necessary, empty and clean the dust container and filter unit (see “cleaning and maintenance” section).
- Place the vacuum cleaner on its base to charge it.
Attention!
- This vacuum cleaner is not designed to vacuum up liquids.
- If you do vacuum up any damp and/or perishable waste, make sure you empty, clean and dry the container before you use it again to prevent mould growth.
cleaning and maintenance
- Make sure that the appliance is powered off and unplugged before you start cleaning it.
- Never immerse the appliance or charging base in water or any other liquid.
- Never use solvents, abrasive detergents or scouring pads to clean the appliance.
- Never use the appliance without the filter unit.
Emptying and cleaning the dust container
Empty and clean the container when the contents reach the MAX level on the dust container.
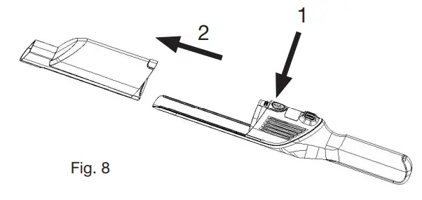
EMPTYING THE CONTAINER
Press the dust container unlock button (1) (Fig. 8) to open it. Next, remove the dust container by sliding along the rail in the direction indicated by the arrow (2).

Stand above a bin and pull on the tab (3) (Fig. 9) to extract the filter unit (4) (Fig. 9).

Empty the contents of the dust container into the bin.
Remove the Hepa filter (5) (Fig. 10) from the filter unit by pulling on the tab (3) and turning it slightly anti-clockwise towards the symbol
(unlocked) to extract it (Fig. 10).

CLEANING THE DUST CONTAINER
Wash the container with a soft sponge and warm water; let it dry completely before putting it back on the vacuum cleaner (to prevent water from being sucked into the electrical components).
Cleaning the filters
Tap the Hepa filter against a bin to clean the ridges and/or vacuum the excess dust with a vacuum cleaner. Caution: do not rub the filter. You could damage it.
Clean the Hepa filter with water only if it is very dirty.
Rinse the filter unit with clean water. Allow both parts to dry completely (24 hours minimum for the Hepa filter) before replacing them correctly on the appliance (see Fig. 11).

Do not wash the filters with hot water or detergent.
When replacing the Hepa filter, turn it clockwise towards the symbol
(locked).
If the Hepa filter is damaged or if you wish to replace it, you can get one from your retail store.
Do not use your appliance if the filters are damaged as this may cause the appliance to malfunction.
Cleaning the body of the appliance
The surfaces of the appliance can be cleaned with a slightly damp soft cloth.
Removing and cleaning the brush roller
Turn the screw under the brush to the “UNLOCK” position (Fig. 12). Remove part (6) (Fig. 13). You can now remove the roller from its drive shaft first on one side (Fig. 13) and then completely (Fig. 14).


Remove lint and dust by hand and/or with a cloth. Use a pair of scissors to cut off long hair and other dust entangled around the roller (7) (Fig. 14).
The roller can be washed by hand in hot water with a mild detergent (such as washingup liquid). Allow it to dry completely for 24 hours before putting it back in the brush (to prevent water from being sucked into the electrical components).
To put the roller back in the brush, follow the instructions above in reverse order. Tighten the screw on the part (6) (Fig. 14) to the “LOCK” position (see Fig. 12).
troubleshooting guide
If the appliance malfunctions, it may be due to a minor problem that you can rectify by following the instructions below. Before contacting your retail store after-sales service department, take the following steps:
The vacuum cleaner is not charging:
- The motor unit is incorrectly positioned on the charging base. Make sure to match the charging connectors on the appliance with those on the charging base.
- The mains charger power cord is not connected. Plug the power unit into a wall socket.
Vacuuming performance is weak or non-existent:
- The dust collector is full and needs emptying.
- The filter is clogged and needs cleaning.
- The suction inlet is obstructed. Remove any obstructions.
- The brush is obstructed. Disassemble the brush and remove any obstructions.
- The accessories (tube, hard floor brush, crevice tool, upholstery brush) are obstructed or have been incorrectly assembled: unclog them or make sure that they are assembled correctly.
The vacuum cleaner stops working after a short period of time:
- The battery is only partially charged. Put the vacuum cleaner on the charging base for approximately 4 hours and 30 minutes to fully charge it. The operating time decreases
when you select the fast speed (10 minutes of battery life if fully charged).
The brush roller is not turning:
- The roller was incorrectly inserted in the brush. Remove the roller and put it back correctly in the notches provided.
- The brush is obstructed. Disassemble the brush and remove any obstructions.
- One of the brush parts is broken. Please contact your retail store after-sales service desk.
If the problem persists, contact your retail store’s customer service department. Do not try to carry out any repairs yourself. Your appliance should only be repaired by qualified maintenance technicians. Poorly-done repairs can be dangerous for the user and are not covered by the warranty.
| Information published | Value and precision | Unit |
| Manufacturer’s name or trade mark, commercial registration number and address | Sourcing & Creation 347 384 570 Avenue de la motte 59810 Lesquin – FRANCE | |
| Model identifier | JOD-S-150050GS | – |
| Input voltage | 100-240 | V – |
| Input AC frequency | 50/60 | Hz |
| Output voltage | 15 | V = |
| Output current | 0,5 | A |
| Output power | 7,5 | W |
| Average active efficiency | 80,91 | % |
| Efficiency at low load (10 %) | 78,48 | % |
| No-load power consumption | 1,64 | W |
All information, designs, drawings and pictures in this document are the property of SOURCING & CREATION. SOURCING & CREATION reserves all rights to its brands, designs and information. Any copy and reproduction through any means shall be deemed and considered as counterfeiting.
Protection of the environment
This symbol attached to the product means that it is an appliance whose disposal is subject to the directive on waste from electrical and electronic equipment (WEEE). This appliance may not in any way be treated as household waste and must be subject to a specific type of removal for this type of waste. Recycling and recovery systems are available in your area (waste removal) and by distributors. By taking your appliance at its end of life to arecycling facility, you will contribute to environmental conservation and prevent any harm to your health.
* Tested in our laboratories
Warranty valid from the date of purchase (receipt as proof of purchase). This warranty does not cover defects or damage caused by improper set up, incorrect use, or normal
wear and tear of this product.
![]()
Customer Relations Department
Avenue de la Motte
CS 80137
59811 Lesquin cedex
Art. 8009724
Ref. EMA 108 Quick Power
Made in China
SOURCING & CREATION
59810 Lesquin – FRANCE
Please behave responsibly towards the environment. Recycle this product at the end of its life.























