
YED2206 Remote Control Vehicle 
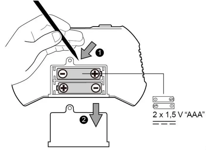
Installing Batteries in the Remote Control
- Open the battery compartment.
- Insert batteries, respecting the+ and – polarities.
- Replace the cover
Installing the vehicle battery
- Make sure the ON/OFF switch is set to OFF.
- Open the battery compartment.
- Connect the battery to the vehicle.
- Replace the cover.
Instruction
- Start the car.
- To move the car forwards or backward, push the throttle lever forwards or backward or press the trigger (depending on the model).
- To turn the vehicle left or right, press the steering lever to the left or right. Or, depending on the model, turn the steering wheel or move the 2 levers in opposite directions to turn.

- To stop the vehicle, release the throttle lever.
- 3600 flip the vehicle, go straight-on on the remote control and suddenly go backward the vehicle will flip and then go forward. You can also do the inverse.
- The vehicle also can drive on water.
The symbol showing a crossed-out rubbish bin indicates that ordinary ‘a Batto, Os, =ha’9″abo batteries, b, on batteries, batto~ packs ak should not be disposed of with household waste. Batteries are dangerous for health and the environment. Help to protect the environment against health risks. Ask your child to dispose of batteries cleanly by taking them to your local collection points. In this way, batteries can be recycled safely.
The use of the product may be disrupted by electromagnetic interference. If this is the case, switch the device off and on again following the instructions in the user manual. If the functions are not reset, move to another location.
Waste electronic and electronic equipment (WEEE)
When this device reaches the end of its life, please remove all batteries and
dispose of them separately. Take electrical devices to a collection center for electronic equipment and household appliances. Other components can be disposed of with household waste.
The use of the product may be disrupted by electromagnetic interference. If this is the case, switch the device off and on again following the instructions in the user manual. If the functions are not reset, move to another location.
Safety precautions
- Parents: please read the instructions with your children before using the product for the first time.
- Stop the vehicle with the remote control before picking n up.
- Keep hands, hair, and clothing ~ay from moving parts when the toy is operating.
- Do not use the vehicle l; ith the radio control in the street. Avoid collisions with people, animals, and furniture.
- Warning: any change or modification made to this product that is not expressly approved in the relevant section of the declaration of conformity may terminate the usage authorization granted to the user.
USB cable statement:
- If the battery cannot be charged, Please try another adapter.
- The product must only be used \; with the provided USB cable for charging.
- Do not use high output adapter for battery charging (1A or above).
- Transformer or battery charger used \; ith the toy is to be regularly examined for damage to the cord, plug, enclosure and other parts, and in the event of such damage, they must not be used until the damage has been repaired.
Battery warning
- Non-rechargeable batteries are not to be recharged. (transmitter)
- Rechargeable batteries are to be removed from the toy before being charged. (vehicle)
- Rechargeable batteries should be charged under adult supervision.
- Different types of batteries or new and used batteries are not to be mixed.(transmitter)
- Only batteries of the same or equivalent type as recommended are to be used. (transmitter)
- Batteries are to be inserted l; with the correct polarity. (+ and-) (transmitter)
- Exhausted batteries are to be removed from the toy.
- The supply terminals are not to be short-circuited.
- Do not mix old and new batteries. (transmitter)
Do not mix alkaline batteries, standard batteries (carbon-zinc), and rechargeable batteries (nickel-<: cadmium).
(transmitter) - Caution: the first charge must be not less than 4h to optimize battery efficiency
Care and maintenance
- Always remove the batteries from the toy IT n is not used for a long time.
- Wipe the toy gently with a dean doth.
- Keep the toy iJ:1/aY from direct sources of heal
- Replace batteries, Allen, they are less powerful.
- Operat~n temperature 5 -35’C
- Receiver Category 3
- Do not imrrme ! tie product in waler un~ss the battery com apartment is properly dosed and kicked.
- The lay is to be operated in water on~ ful~ assembled in accordance W11h the instructions.
- Do not drive in sally waler.
- Operate on smooth walers, such as pools and ponds.
- Never improvise remote control in waler.
- Afllays rerrove proouct from water llilen not in use.
- Keep the product iJ:1/aYfr om obstacles / peoples or animals in pool.
Charger Statement :
- Do not operate the battery charger IT I have been damaged in any way.
- This product must on~ be used with the recommended charger.
NOTE: THIS EQUIPMENT HAS BEEN TESTED AND FOUND TO COMPLY WITH THE LIMITS FOR A CLASS B DIGITAL DEVICE, PURSUANT TO PART 15 OF THE FCC RULES.
THESE LIMITS ARE DESIGNED TO PROVIDE REASONABLE PROTECTION AGAINST HARMFUL INTERFERENCE IN A RESIDENTIAL INSTALLATION. THIS EQUIPMENT GENERA TES USES AND CAN RADIATE RADIO FREQUENCY ENERGY AND, IF NOT INSTALLED AND USED IN ACCORDANCE WITH THE INSTRUCTIONS, MAY CAUSE HARMFUL INTERFERENCE TO RADIO COMMUNICATIONS. HOWEVER, THERE IS NO GUARANTEE THAT INTERFERENCE WILL NOT OCCUR IN A PARTICULAR INSTALLATION. IF THIS EQUIPMENT DOES CAUSE HARMFUL INTERFERENCE TO RADIO OR TELEVISION RECEPTION, WHICH CAN BE DETERMINED BY TURNING THE EQUIPMENT OFF AND ON, THE USER IS ENCOURAGED TO TRY TO CORRECT THE INTERFERENCE BY ONE OR MORE OF THE FOLLOWING MEASURES:
- REORIENT OR RELOCATE THE RECEIVING ANTENNA.
- INCREASE THE SEPARATION BETWEEN THE EQUIPMENT AND RECEIVER.
- CONNECT THE EQUIPMENT INTO AN OUTLET ON A CIRCUIT DIFFERENT FROM THAT TO WHICH THE RECEIVER IS CONNECTED.
- CONSULT THE DEALER OR AN EXPERIENCED RADIO/TV TECHNICIAN FOR HELP
CHANGES OR MODIFICATIONS NOT EXPRESSLY APPROVED BY THE PARTY RESPONSIBLE FOR COMPLIANCE COULD VOID THE USER’S AUTHORITY TO
OPERATE THE EQUIPMENT.
THIS DEVICE COMPLIES WITH PART 15 OF THE FCC RULES. OPERATION IS SUBJECT
TO THE FOLLOWING TWO CONDITIONS:
- THIS DEVICE MAY NOT CAUSE HARMFUL INTERFERENCE, AND
- THIS DEVICE MUST ACCEPT ANY INTERFERENCE RECEIVED, INCLUDING
INTERFERENCE THAT MAY CAUSE UNDESIRED OPERATION.


















