FERM SGM1012 Paint Spray Gun 110 W Max. Feed Rate 300 ml-min Instructions

ELECTRICAL SPRAY GUN SGM1012
Thank you for buying this Ferm product.
By doing so you now have an excellent product, delivered by one of Europe’s leading suppliers.
All products delivered to you by Ferm are manufactured according to the highest standards of performance and safety. As part of our philosophy we also provide an excellent customer service, backed by our comprehensive warranty.
We hope you will enjoy using this product for many years to come.
The numbers in the following text refer to the pictures on page 2-3
Read the operating instructions carefully before using this device. Familiarise yourself with its functions and basic operation. Service the device as per the instructions to ensure that it always
functions properly. The operating instructions and the accompanying documentation must be kept in the vicinity of the device.
Contents
- Technical specifications
- Safety instructions
- Operating instructions
- Maintenance
1. TECHNICAL SPECIFICATIONS
Voltage 220-240 V~
Frequency 50 Hz
Power input 110 W
Maximum nozzle flow rate 300 ml/min
Container capacity 800 ml
Nozzle diameter 0.8 mm
Weight 1.75 kg
Lpa (Sound pressure level) 91 dB(A)
Lwa (Sound power level) 102 dB(A)
Vibration 11.53 m/s2
Check the machine, loose parts and accessories for transport damage.
Vibration level
The vibration emission level stated in this instruction manual has been measured in accordance with a standardised test given in EN 60745; it may be used to compare one tool
with another and as a preliminary assessment of exposure to vibration when using the tool for the applications mentioned
– using the tool for different applications, or with different or poorly maintainted accessories, may significantly increase the exposure level the times when the tool is switched off or when
it is running but not actually doing the job, may significantly reduce the exposure level.
Protect yourself against the effects of vibration by maintaining the tool and its accessories, keeping your hands warm, and organizing your work patterns
Product information

Fig. A
- Motor housing
- Output control
- Trigger switch
- Handle
- Paint container
- Spray basket nozzle
- Viscosity cup
2. SAFETY INSTRUCTIONS
Explanation of symbols
Denotes risk of personal injury, loss of life or damage to the tool in case of nonobservance of the instructions in this manual.
Denotes risk of electric shock.
Wear protective gloves.
Wear a dust mask. Working with wood, metals and other materials may produce dust that is harmful to health. Do not work with material containing asbestos!
Wear eye protection.
Additional safety instructions
- NEVER SPRAY AT PERSONS – Never aim the nozzle at another person or animal. Never allow the spray to come into direct contact with the skin.
- FLASH POINT – This spray gun must not be used for spraying flammable paints and solvents with a flash point of less than 32 °C
- VENTILATION – Always make sure that there is adequate ventilation in the work area when spraying.
- BASKET NOZZLE – Always keep the spray basket nozzle in place during use.
- CONSIDER WORK AREA ENVIRONMENT – Do not use spray guns where there is a risk of fire or explosion.
- BEWARE OF ANY HAZARD – Beware of any Hazard by the material being sprayed and consult the markings on the container or the information supplied by the manufacturer.
- DO NOT SPRAY – Do not spray any material where the hazard is not known.
- USE EYE PROTECTION – Always use appropriate eye protection to keep hazardous vapours or fumes out of the eyes.
- WEAR A MASK – Never operate a spray gun without wearing a face mask.
- PROTECT YOUR EARS – Wear ear protectors if the sound pressure exceeds 85 dB(A).
- MAINTAIN YOUR TOOLS – Keep your spray gun, paint container and nozzles clean. Do not clean with flammable liquids with a flash point less than 32 °C Inspect the mains lead periodically and if damaged have it replaced by a qualified person.
- NAKED FLAMES – Never spray near a naked flame or appliance pilot flame.
- SMOKING – Never smoke whilst spraying.
- THINNING – Always read the paint manufacturers thinning recommendations or instructions before using paint or other materials.
- DISCONNECT FROM THE MAINS SUPPLY Always disconnect from the mains supply when filling the paint container or cleaning the spray gun.
- SWITCH OFF WHEN NOT SPRAYING – Avoid running the unit with the flow rate knob fully closed for any length of time.
We accept no responsibility for damage caused by the use of unsuitable substances, or paints that have not been thinned correctly, and any health hazards that arise from lack of adequate ventilation.
Immediately switch off the spray gun when:
- Interruption in the mains plug, mains lead or mains lead damage.
- Defect switch.
- Smoke or stench of scorched isolation
Electrical safety
When using electric tools, basic safety precautions should always be followed to reduce the risk of fire, electric shock and personal injury.
Read all these instructions before attempting to operate this product and save these instructions.
Always check that the mains voltage corresponds to the voltage on the rating plate.
Class ll machine. Your machine is double insulated; therefore no earthwire is required.
Replacing cables or plugs
Immediately throw away old cables or plugs when they have been replaced by new ones. It is dangerous to insert the plug of a loose cable in the wall outlet.
Using extension cables
Only use an approved extension cable suitable for the power input of the machine. The minimum conductor size is 1.5 mm2. When using a cable reel always unwind the reel completely.
3. OPERATING INSTRUCTIONS
Preparation

Fig. B
Do not use textured wall paints or coatings as this will block the nozzle.
To obtain the best results, it is important that you prepare the surface to be sprayed and thin the paint to the correct viscosity, before you operate your spray gun. Always ensure that the surfaces to be sprayed are free from dust, dirt and grease.
Make sure that you have masked the areas that should not be sprayed, using a good quality masking tape. The paint or fluid to be sprayed should be thoroughly mixed and free from lumps
or other particles. Many substances can be prayed with your spray gun, but always check the manufacturers recommendations before purchasing your paint.
Thinning
Always remember to disconnect from the mains supply before filling the paint container with sprayable material.
Most paints are supplied ready for brush application and will need to be thinned before they are suitable to be sprayed. Follow the manufacturers advice on thinning the paint when used with a spray gun. The viscosity cup will help ou to determine the correct viscosity of paint to be used. To determine the correct viscosity, fill the cup o the brim with the paint. Measure the amount of time it takes for the cup to empty back into the can.
The table below shows recommended times for different types of material.
Plastic & latex paint 24 – 28 seconds
Water based paint 20 – 25 seconds
Primers 24 – 28 seconds
Varnishes 20 – 25 seconds
Oil based paints 18 – 22 seconds
Enamel paints 18 – 22 seconds
Aluminium paints 22 – 25 seconds
Car undersealing 25 – 35 seconds
Wood sealers 28 – 35 seconds
Wood preservatives No thinning required
Wood stains No thinning required
If the paint takes longer than the recommended time to empty, then further thinning is required. Mix in a small quantity of the appropriate thinner and use the viscosity test until the correct thickness
is achieved. Some sprayable materials contain particles and lumps. These materials should be strained before filling the paint container.
Spraying

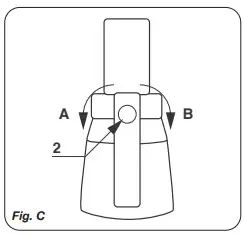
Fig. C
Fill the paint container with the correctly thinned and strained paint. Connect the spray gun to the mains supply. Aim the spray gun at a piece of. scrap material and operate the trigger switch until paint is spraying. Adjust the output control (2) until the required volume of paint is spraying. Turn the output control in a clockwise direction (B) to reduce the flow and anti-clockwise (A) to increase the flow. Adjustment of the output control will affect the spray pattern. A poor spray pattern will concentrate the paint in the centre of the spray and give a blotchy finish. A good spray pattern will give even distribution of paint throughout the pattern.
Spraying techniques

Fig. D
To obtain the best results, keep your spray gun level and parallel to the surface at all times. Keep the nozzle 25 – 30 cm from the surface and spray evenly from side to side or up and down. Do not spray at an angle as this will lead to paint runs on the surface. Use smooth and even strokes. When spraying large areas, use a criss-cross pattern as shown.

Fig. E
Never start or stop the spray gun while it is aimed at the surface to be sprayed. Evenly control the speed of movement of the spray gun. A fast speed of movement over the surface will give a thin coat and a slow speed will give a heavy coat. Apply one coat at a time. If a further coat is required, make sure you observe the manufacturers drying time recommendations before applying a second coat. When spraying small
reas, keep the output control on a low setting.
This will avoid using too much paint and prevent overspray. Where possible, avoid stopping and starting when spraying an object. This can lead to oo much, or not enough paint being applied. Do not tip the spray gun to more than 45°.
Fitting and using the flexible nozzle

Fig. F
The flexible nozzle extension should be used to spray flat or horizontal surfaces. It should also be used in areas with limited access. To fit the flexible nozzle, unscrew the basket nozzle and attach the flexible nozzle in it‘s place. Replace the basket nozzle on the end of the flexible nozzle and tighten.
4. MAINTENANCE
Make sure that the machine is not live when carrying out maintenance work on the motor.
This machine has been designed to operate over a long period of time with a minimum of maintenance. Continuous satisfactory operation depends upon proper machine care and regular cleaning.
Troubleshooting
Motor hums but does not spray or irregular spraying
- Worn swirl head.
- Replace swirl head.
- Pick up pipe not in the right position.
- Re-adjust pick up pipe.
- Blocked pick up pipe.
- Clean with thinner.
- Blocked nozzle.
- Clean nozzle.
- Blocked filter.
- Clean with thinner.
- Control knob needs adjustment.
- Adjust.
2. Atomization is not good
- Volume adjustment is not correct.
- Adjust.
- Paint too thick.
- Check viscosity of the paint.
3. Over painting
- Spray gun not clean, or not lubricated, resulting in piston being stuck in cylinder.
- Disassemble spray gun and clean with thinner.
- Too much paint.
- Adjust the volume clockwise to reduce spraying. Two thin coats are better then one thick coat.
- Viscosity too low.
- Check viscosity.
4. Motor louder than normal
- Spray gun not clean, or not lubricated, resulting in piston being stuck in cylinder.
– Disassemble spray gun and clean with thinner
5. No spray, no sound
- No electricity.
- Check power supply.
6. Operating sound not right
- Poor output adjustment.
- Re-adjust.
- Not enough paint in the container resulting in air being sucked in.
- Refill with paint.
- Not diluting properly or not passing pick up pipe completely.
- Check pick up pipe and viscosity level.
7. “Orange Skin” excessive fogging
- Incorrect solvent is used.
- Use correct solvent.
- Spray gun too far from the surface.
- Hold spray gun closer to the object.
- Paint too thick.
- Thin the paint.
Cleaning and maintenance

Fig. G
Always remember to disconnect from the mains supply before cleaning the spray gun or paint container.
It is essential that the spray gun is cleaned thoroughly after every use. Failure to clean it will lmost certainly result in blockages and it may not operate when you next come to use it! The guarantee does not cover cleaning a sprayer that has not been properly cleaned by the user. The following action must be taken after every use:
- Empty any remaining material from the container.
- Clean the container thoroughly with the thinner thatwas used.
- Pour some thinner into the container and spray through the spray gun until only clean thinner is coming out of the nozzle.
- Thoroughly clean the paint pick up pipe and filter with thinner.
- Clean the basket and nozzle and remove any other debris or paint that remains.
- Turn the spray gun upside down and apply a few drops of light oil to the two apertures (F).
This will lubricate the piston and cylinder.
If your spray gun should require extra internal cleaning, it may be necessary to disassemble it. If so the following action should be taken:
- Remove the plug from the mains socket.
- Remove paint container, pick up pipe and filter.
- Take off the pump assembly.
- Release the nozzle (H), valve (J), piston (K) and spring (L).
- Clean the cylinder (M) and all parts thoroughly with solvent.
- Apply a few drops of light lubricating oil to the piston, spring and cylinder.
- Reassemble the spray gun.
Lubrication
The device does not need any additional ubrication.
Defects
If a defect appears due to a part wearing out, please contact the service center on the warranty card. At the end of these instructions there is an exhaustive overview of the parts that can be ordered.
ENVIRONMENT
To prevent damage during transport, the appliance is delivered in a solid packaging which consists largely of reusable material. Therefore please make use of options for recycling the packaging.
Damaged and/or disposed of electrical or electronic devices must be dropped off at recycling stations intended for that purpose.
Only for EC countries
Do not dispose of power tools into domestic waste. According to the European Guideline 2012/19/EU for Waste Electrical and Electronic
Equipment and its implementation into national right, power tools that are no longer usable must be collected separately and disposed of in an environmentally friendly way.
WARRANTY
Read the warranty conditions on the separately supplied warranty card.
The product and the user manual are subject to change. Specifications can be changed without further notice.


















