DENTALEZ 7000 Series High Volume Evacuator
Refer to ForestTM General Information Operator’s Guide for Glossary of Symbols, Terms, EMC/Electrical Safety Declaration and User Guidance.
INDICATIONS FOR USE/INTENDED USE
The dental units are intended to serve as a base for ancillary dental devices and accessories by providing air, water, vacuum, and low voltage electrical power to hand-held dental instruments. The dental units are intended for use by dental practitioners to provide diagnostic and therapeutic treatment to dental patients in a clinical environment. There are no contraindications for this product.
EXPECTED SERVICE LIFE
With proper maintenance and service, Forest products are designed for a defined “service life” under normal use (based on approximately 50 patients per week) of 5 years from the date of manufacture, with the exception of serviceable components. Some components may become obsolete due to changes in technology or due to product improvements and may necessitate product updates or upgrades. At the end of the defined service life, all products require examination by a trained service technician prior to continued use. Following this, additional examinations are required every 5 years. Minimum required servicing includes regular replacement of the exhaust canister gauze and solids canister disposable trap as well as periodic evaluation and replacement of the utility box air/water particle filters, anti-retraction valves, water bottle, and functional assessment of the product.
TECHNICAL DESCRIPTION/SPECIFICATIONS
- Input voltage 24VAC/12 VAC (Supplied by remote power supply)
- Protection against electrical dangers Class 1, Type B
- 5% duty cycle Maximum 30 sec. ON/Minimum 9.5 minutes OFF
- Delivery standard flex arm load limit 4.5 lbs (Euro style does not use standard flex arm)
- Delivery heavy duty flex arm load limit 8 lbs
- Air pressure 80 PSI Maximum
- Air flow rate 3 gallons per minute
- Humidity limit <-20º C at 1 atmospheric pressure
- Oil contamination <0.5mg/m3
- Particle contamination limit <100 particles/m3 for 1μm to 5μm particle size
- Water pressure 40 PSI Maximum
- Water flow rate 6 quarts per minute
- Water hardness 39mg/dl
- PH limits 6.5-8.5
- Particle size <100μm Maximum
- Suction system – Type 1: high volume vacuum flow rate Minimum 9 cfm/Maximum 24 cfm
- Vacuum static pressure Minimum 0 Hg/Maximum 20 Hg
| HVE/SE suction head loss | Nl/min | Unit CFM | Pump CFM | Calculated Head Loss |
| 90 | 0.46 | 0.8 | 43% | |
| 150 | 0.97 | 1.4 | 31% | |
| 200 | 1.02 | 1.5 | 32% | |
| 250 | 1.28 | 1.8 | 29% | |
| 300 | 1.54 | 1.9 | 19% | |
| 350 | 1.79 | 2.3 | 22% | |
| 400 | 2.04 | 2.6 | 22% |
WARNING:
Operation of delivery system ancillary devices may cause electromagnetic interference with other devices in the immediate vicinity. In the event of an emergency, disconnect power to the dental system. Refer to Forest General Information Operator’s Guide EMC table.
CAUTION:
Federal law restricts this device to sale by or on the order of a dental practitioner licensed by the law of the state in which he/she practices to use or order the use of the device. No user-serviceable parts are located in the dental system (except for handpiece exhaust canister gauze, refer to FIG. 2 on page 2 and vacuum canister disposable trap, refer to FIG. 5 on page 3). Air and water particle filters located in the utility box are non-serviceable (35μm); replace using Forest authorized dealer if clogged or low flow.
WATERLINE MAINTENANCE
Dental unit waterlines, reservoir water bottles, and water distillers/processors contain bacteria (unless sterile water is used), measured in colony-forming units per milliliter (CFU/mL) of heterotrophic water bacteria. The bacteria, if not controlled, can reach elevated levels and form into biofilms on the walls of the plastic tubing that can be resistant to microbial treatment. The CDC recommends using procedural water in routine dentistry that does not exceed 500 CFU/mL. To achieve these levels, ForestTM suggests an action level of 250 CFU/mL to limit microbial proliferation. By closely following both the Forest and water treatment product manufacturer’s instructions for use (IFU), it is possible to maintain procedural water within CDC guidelines.
WARNING:
Refer to Forest Dental Unit Water Line Maintenance Operator’s Guide for monitoring and disinfection of your dental unit waterlines and dental unit reservoir bottle as well as the monitoring of source water.
SELF-CONTAINED CLEAN WATER SYSTEM WITH QUICK-DISCONNECT BOTTLE
WARNING:
Refer to Forest Operatory Equipment Asepsis Operator’s Guide for infection control procedures. Self-contained water systems do not control bacteria levels or prevent biofilm from accumulating in the dental unit water lines. This can only be achieved by flushing, monitoring and maintaining the dental unit water lines according to Forest Dental Unit Water Line Maintenance Operator’s Guide. Dental units do not deliver sterile water. Sterile solutions must be used as a coolant/irrigant for all surgical procedures from an isolated source (such as a sterile bulb syringe or sterile tubing that bypasses DUWL) as recommended by the CDC. Isolated water sources (as opposed to city water hook-up) are highly recommended to allow full control of the source and quality of water circulating through the dental unit waterline.
The self-contained water system allows you to isolate your practice from the municipal water supply. The self-contained water system uses a pressurized bottle to supply water to the dental unit giving you full control of the source and quality of the water.
- STEP 1: Ensure that the dental unit is turned off. Fill the water bottle from a known potable source with the adapter attached, then install on the manifold by turning clockwise (FIG. 1).
- STEP 2: Turn the dental unit on and check for leakage at the bottle. If air or water leakage is observed, turn the dental unit off and allow several seconds for air pressure to be released from the bottle.
WARNING: Never attempt to remove the bottle when it is pressurized. - STEP 3: Remove bottle and install a new bottle with adapter.
- STEP 4: Turn the dental unit on and check for leakage at the bottle as previously described.
WARNING:
Only use water bottles supplied by Forest. Do not use soft drink bottles that are thin-walled and may rupture when under pressure. When using self-contained water systems, all plastic bottles should be inspected for damage prior to every use. If a bottle appears to be damaged in any manner, it should be replaced. When filling the reservoir water bottle, leave an air gap at the top of the bottle to allow the bottle to pressurize. Do not attempt to adjust the water bottle pressure. Bottle pressure is factory pre-set at 40 PSI Pressurizing the water bottle over 40 PSI may cause the bottle to rupture.
QUICK-DISCONNECT BOTTLE
NOTE: This quick-disconnect bottle allows for a quick and easy way to change water bottles. Simply push up and turn clockwise to install the bottle. Turn counterclockwise to remove the bottle.
7000 TREATMENT ROOM LAYOUT
Regardless of where you’re positioned around the patient, the 7000 has the most accessible handpiece and instrument placement of any delivery.
RECOMMENDED PLACEMENT:
position the work surface toward the Assistant’s lap, giving you total range of motion from noon to six o’clock without having to reposition the unit as you work.
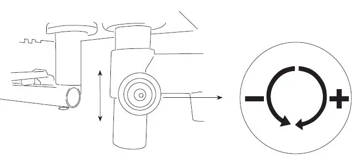
RAISING/LOWERING THE WORK SURFACE/CHASSIS
Turn the knob counterclockwise to loosen and raise/lower the work surface/chassis. Turn the knob clockwise to lock in position.
HEIGHT ADJUSTMENT
CONSOLE LAYOUT & CONTROL FUNCTIONS
- WATER COOLANT FLOW ADJUSTMENT
Allows individual adjustment of water coolant to the handpieces. Turn the knob counterclockwise to increase the flow, clockwise to decrease the flow (4th handpiece optional). - SCALER OR ELECTRIC HANDPIECE (OPTION)
Power control for the device. - HANDPIECE PRESSURE GAUGE
Indicates drive air pressure to the handpiece. - ALTERNATIVE WATER SOURCE (OPTION)
Allows switching from bottle to city water.
WARNING: Refer to Forest TM Dental Unit Water Line Maintenance Operator’s Guide for monitoring and disinfection of your dental unit waterlines and dental unit reservoir bottle as well the monitoring of source water. - AIR COOLANT FLOW CONTROL
Allows air coolant adjustment to be made to the handpieces. Turn the knob counterclockwise to increase the flow, and clockwise to decrease the flow. - HANDPIECE FLUSH
Flushes the dental unit waterlines (DUWL).
WARNING: Refer to Forest Dental Unit Water Line Maintenance Operator’s Guide for detailed procedures on maintaining DUWL. - MASTER ON/OFF
Turns on the air and water for the entire system. Flip the toggle up (ON) to activate the system. Always turn the toggle OFF (down) whenever the unit is not in use. - SCALER OR ELECTRIC HANDPIECE (OPTION)
Power control for device. - DRIVE AIR PRESSURE ADJUSTMENT
Allows handpiece drive air to be adjusted to its manufacturer’s recommended operating pressure. Turn the adjusting screw counter clockwise to increase the pressure, clockwise to decrease the pressure (4th handpiece optional). Use hand-piece pressure guage at handpiece connector for precise setting. - HANDPIECE LOCKOUT (OPTIONAL ON 7010)
Allows chair side to switch off a handpiece position so a hand-piece can be removed from the holder for a burr change while another handpiece is being operated for four-handed dentistry.
NOTE: Water coolant on/off (located on the foot control) activates handpiece water coolant system. Flip the toggle toward the red dot to turn on the water coolant. Tool kit located inside control head for external adjustments.
AUTOMATIC HANDPIECE HOLDER ASSEMBLY & BURR BUDDY TRAY HOLDER
Signals the automatic control system to supply drive air and air/water coolants to the handpiece as it is lifted from its holder. When the handpiece is placed back in the holder, a signal to the automatic control system stops the drive air and air/water coolant supply.
CHAIR TOUCHPAD (OPTIONAL)
TOUCHPAD PRESETS
- STEP 1: Position chairCommon Presets: 1, 2 and 3 for operating positions and 4 for patient exit.
- STEP 2: Push program button Beep-Beep indicates programming mode activated. Proceed to step 3.
- STEP 3: Choose preset button Beep-Beep indicates chair position set for selected button (repeat process for each preset button).
HANDPIECE EXHAUST
Located inside every control head (Euro: Canister underneath control head) is an exhaust canister. The sole purpose is to trap excess oil to prevent it from spraying the inside of your control head while exhausting your handpieces (FIG. 6). Before exhausting the handpieces, make sure that there is a 2” x 2” gauze pad inside the canister. This is to collect and absorb the excess oil. To prevent handpiece lubrication from contaminating the interior of the control head, make certain the drip exhaust lines remain in the canister.
EXHAUST CANISTER
NOTE: Forest TM recommends changing the gauze biweekly or when visibly saturated.
ASSISTANT’S INSTRUMENTATION & VACUUM
WARNING: Refer to Forest Syringe Reprocessing and Maintenance Operator’s Guide as well as Forest HVE/ SE Reprocessing and Maintenance Operator’s Guide for infection control procedures.
SYRINGE

The syringe is an instrument powered by a dental unit intended to supply air and water to the oral cavity of dental patients. Press water button to activate water; press air button to activate air. Pressing both buttons will create a mist.
WARNING:
Forest syringes (excluding syringe tip) must be operated with FDA-clearedbarrier protection (FDA Product Code: PEM) during a procedure following Forest’s instruction for use; Forest syringe tip must be sterilized between patients. Refer to Forest Dental Unit Water Line Maintenance Operator’s Guide for detailed procedures on maintaining syringe water line.
SALIVA EJECTOR & HIGH VOLUME EVACUATOR (HVE)
Flip the lever up to turn on and reverse to turn off.
The High Volume Evacuator (HVE) and Saliva Ejector (SE) is an instrument powered by a dental unit to evacuate waste from the oral cavity of dental patients. At the end of the day, Forest recommends flushing the drain line with a sanitizing vacuum line cleaner that is non-toxic and environmentally safe.
WARNING:
Always instruct patients to keep mouth open during evacuation procedures. Closing lips around HVE/SE disposable tip can reduce vacuum force and allow biocontamination from the device to enter the patient’s mouth. Forest HVE/SE assemblies (excluding disposable extraction tip) must be operated with FDA-cleared barrier protection (FDA Product Code: PEM) during a procedure following Forest’s instruction for use; extraction tips must be disposed of between patients.
CANISTER
Loosen and remove canister lid to access trap for disposal. Replace with new trap, press lid into opening and turn to tighten.
ASSISTANT’S HOLDERS






















