DALI Dali Oberon Vokal WH Speakers
INTRODUCTION
For movie and concert soundtracks, the DALI OBERON VOKAL produces a precise, clear, and detailed sound delivery. The OBERON VOKAL integrates seamlessly into a complete DALI OBERON-series surround system, reproducing audio like a much larger speaker.




Congratulations with your new DALI OBERON loudspeaker. It is important to us that your new DALI loudspeakers are set up and connected optimally. For this reason, we recommend that you read this manual and follow its recommendations. The manual contains instructions for setup and connection, as well as tips and advice on how to get the most out of your new loudspeakers.
DALI is acclaimed around the world for unique loudspeakers built to our uncompromising standards for design and performance. The goal for every single DALI loudspeaker is always our foremost commitment: To create a listening experience in your home that will make you forget time and place.
Remember to sign up for the DALI newsletter at www.dali-speakers.com. Enjoy!
UNPACKING
Be careful not to damage the contents when you unpack the parts. Depending on which DALI OBERON model you have bought, different accessories come with the loudspeaker. Check that all parts are contained in the cardboard box (see Table 1). Keep the packaging materials should your speaker need to be relocated or serviced.
2.1 GRILLES
The speakers are delivered with the grille fronts already mounted when you unpack them. Remove transport protection from OBERON 1, 3, 5 and 7 (See Figure 3) before use. If you wish to remove the grille front, loosen it by gradually tugging at the plungers that hold it in place. It is important that all plunges are equally loosened before removing the front. Otherwise the grille may be damaged.
POSITIONING
To achieve the best results, the loudspeaker setup should be symmetrical round your favorite listening position (see Figure 1A – C). We recommend that you experiment with the position of your loudspeakers – the sound quality will change depending on the loudspeaker position. Objects positioned between the speaker and the listening position might negatively affect sound quality.
The speakers are designed to meet our wide dispersion principle, so they should NOT be angled towards the listening position, but be positioned parallel with the rear wall, see Figure 2. By parallel positioning, the distortion in the main listening area will be lowered and the room integration will be improved. The wide dispersion principle will ensure that sound is spread evenly within a large area in the listening room
3.1 DALI OBERON 5 & 7
Both speakers are designed as floor standing speakers and they should ideally be positioned minimum 20 cm (8”) from the rear wall.
They both can be used with spikes or rubber bumpers under the speakers (see Figure 4D/E). Be careful not to over tighten the spike locking nuts.
Spikes or rubber bumpers can improve the sound quality. You can try both to hear what gives the best sound quality in your setup. Please be aware, that spikes may damage the floor, if it is not protected by e.g. coins under the spikes.
3.2 DALI OBERON 1 & 3
The speaker can be positioned on a stand/shelf or for OBERON 1 hung on a wall using the integrated wall bracket. If positioned on a stand or shelf, the enclosed rubber bumpers can be mounted under the speaker for stable and vibration free positioning (see Figure 4A).
If hanging OBERON 1 on a wall, mount the bumpers on the rear edges of the speakers (see Figure 4B). The speaker is hung on a wall using one screw mounted in the wall. The screw must fit the wall bracket on the rear side of the speaker (see Figure 4C).
Both speakers should ideally be positioned, so that the height of the tweeter is approximately at ear height when seated in your favorite listening position.
3.3 DALI OBERON ON-WALL
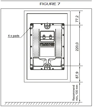
DALI OBERON ON-WALL is optimized for wall-mounting (see Figure 7), should ideally be positioned, so that the height of the tweeter is approximately at ear height when seated in your favorite listening position. There should be at least 10 cm (4”) to any surface underneath the speaker.
3.4 DALI OBERON VOKAL
OBERON VOKAL is the dedicated center channel and has been specially designed to be positioned close to the large surface of the TV screen. You can place it above or below the screen, on a stand or on a shelf. We recommend fitting the enclosed bumpers to ensure a stable, vibration-free setup (see Figure 4F).
CONNECTION
Correct, tight connections to your amplifier are extremely important for your listening experience. Always use cables of the same type and length for left and right channels. We recommend using special speaker cables from DALI, available from your dealer.
Connection in correct phase is a detail that is often ignored. The red (+) terminal of the amplifier must be connected to the red (+) terminal of the loudspeaker. The black (-) terminal of the amplifier must be connected to the black (-) terminal of the loudspeaker (see figure 5). Even a single loudspeaker connected out-of-phase in a stereo or surround installation will make the bass weaker and the stereo image unfocused.
For the optimal listening experience, the right loudspeaker (as seen from the listening position) must be connected to the amplifier output terminals marked “R” or “Right”. The left loudspeaker must be connected to the amplifier output terminals marked “L” or “Left”.
NOTE: Before connecting cables or changing any connections, ALWAYS turn off your amplifier.
NOTE: Make sure that the bare conductors are tightly gripped by the terminals with no loose wires which could cause a short circuit and damage the amplifier (see Figure 6).
NOTE: If you are using DALI OBERON in a surround system, follow the instructions included with your surround amplifier.
5.0 RUNNING-IN
Like any mechanical system, a loudspeaker requires a “running-in” period to perform at its best. You will experience a gradual increase in sound quality during the first period of use. The break-in period will vary depending on use and playback volume. You should expect up to 100 hours of playback until maximum performance is reached. Unlike other mechanical systems, the life-span of a loudspeaker is increased by normal, regular playback of music.
CLEANING & MAINTENANCE
Clean the cabinets with a soft, dry cloth. If the cabinets are dirty, wipe with a soft cloth dipped in all-purpose cleaner and then well wrung out. Be very careful when wiping the speaker cones, as they are very fragile. Front grilles can be cleaned with a clothes brush and wiped with a well wrung, lint-free cloth and mild all-purpose cleaner.
6.1 AVOID DIRECT SUNLIGHT:
The surfaces of the speakers may fade or become discolored over time when exposed to direct sunlight. Therefore, avoid positioning the speakers in direct sunlight.
7.0 DISPOSAL
If you want to dispose of this product, do not mix it with general household waste. There is a separate collection system for used electronic products in accordance with legislation that requires proper treatment, recovery and recycling. Private households in the EU member states, Switzerland, Liechtenstein and Norway may return their used electronic products free of charge to designated collection facilities or to a retailer (if you purchase a similar new one). If you reside in countries not mentioned above, please contact your local authorities for the correct method of disposal. By following this process, you will ensure that your disposed product undergoes the necessary treatment, recovery and recycling and thus prevent potential negative effects on the environment and human health
POWER AND ACOUSTIC PRESSURE
How loud a speaker is able to play and still sound good is completely dependent on the signal it has to reproduce. So, in practice, it is not possible to define an unequivocal level for use in comparing different speakers.
Lots of pure, undistorted output from a large amplifier is better than a distorted signal from a small amplifier stretched beyond its capacity. The signal from a distorting (clipping) amplifier contains much more high-frequency information than an undistorted signal, and therefore puts a heavy strain on the tweeter. Consequently, speakers are often damaged by small amplifiers, having to work too hard – and very rarely by large amplifiers, which are practically running idle.
It is worth noting that turning tone controls above the neutral setting significantly burdens both speakers and amplifier. On a good sound system, tone controls should only be used to compensate for poor recordings and not to permanently compensate for weaknesses elsewhere in the system. DALI recommends the tone controls generally be set to the neutral position, and to achieve your desired sound image through correct positioning of the speakers. Ensuring that you keep the volume low enough for the sound to remain clear and undistorted will minimize the strain on both speakers and amplifier.
All DALI loudspeakers are designed with linear impedance for an optimal amplifier load. The result is a significantly more open and detailed sonic image.
THE LISTENING ROOM
Every room has its own distinctive acoustics, which influence the way we experience sound from a speaker. The sound you hear consists of direct sound from the speakers and reflected sound from the floor, ceiling and walls. The latter will affect how you experience the sound.
As a basic rule, try to avoid large, hard and reflective areas in the immediate vicinity of your loudspeakers as it will typically cause strong reflections, which might disturb the precision and spatial effect of the sound reproduction. Reflection might be suppressed by positioning e.g. a plant between the speaker and the reflecting surface. Soft items such as carpets, curtains etc. might help if the sound is too bright. Both the amount and quality of the deep bass depend on the size and shape of the room, and the position of the speakers. Positioning the speakers near a side or back wall will accentuate the bass.
A corner location will accentuate it even more, but will also increase the reflections.
TECHNICAL SPECIFICATIONS
In Table 2 you will find the most common specifications for our speakers. Please have in mind that there are countless methods for measuring speakers. However, none of them tell you anything useful about how a speaker really sounds. Only your ears can decide whether one speaker sounds better than another. Like all our speakers, DALI OBERON series is designed to reproduce music as honestly as possible.
Enjoy your new DALI OBERON!

FREQUENTLY ASKED QUESTIONS
Generally speaking, you should choose an amplifier that offers 1.5–2 times the continuous power rating of your speakers. By doing this, you may leave yourself with 3 dB of headroom while making sure the speaker has enough power.
Dali’s offering is highly recommended as one of the best passive speakers available, especially for those who are just dipping their toes into the audio world. For those looking for a top-notch audio experience, Dali’s product is still a great bargain even with the cost of a cheap amp included.
Tower speakers usually provide deeper, more dramatic bass than isolated bookshelf speakers due to their larger size, which allows them to flow more air through the drivers than desktop or bookshelf speakers. Additionally, towers typically come with additional woofer drivers, which produces even more bass.
They don’t produce as much bass and don’t occupy as much visual or physical area as larger tower speakers. However, a good set of bookshelf speakers will deliver a satisfyingly full sound for the majority of listeners and musical genres. (And you can frequently add a subwoofer if you truly want extra bass.)
The high-pitched but well-balanced sound quality is perfectly complemented by the speakers’ mid-range performance.
The Dali Kore, the most recent design from Danish hi-fi guru Dali, was on display at the most recent High-End trade show in Munich. This ultra-high-end speaker, a showcase for the company, has all the knowledge the manufacturer has gathered over the years.
Bookshelf speakers should be mounted on a table, shelf, or other high surface as opposed to the ground. They are made to make small- to medium-sized spaces sound better.
Because they have larger speaker drivers and traditional speaker cabinets, bookshelf speakers frequently provide better sound than Soundbars. Some soundbars have excellent sound quality, particularly the 3.1 and 5.1 models.
A bookshelf loudspeaker, sometimes known as a bookshelf speaker, is a small loudspeaker designed to be mounted on an elevated surface, such a bookshelf. For consumer-grade home audio applications, it is frequently provided as a shelf stereo pair or home theatre bundle.
The cost of a speaker is influenced by more factors than only its electronic parts. Depending on their design, the kind of materials used, their weight and durability, and even their branding, high-end speakers may cost more. These things are commonly underrated in terms of importance.
The conventional loudspeaker, in-wall/ceiling speaker, soundbar, and subwoofer are the four most popular speaker kinds now available in homes. Each kind of speaker has a certain function and can be helpful in various circumstances.
Not all bookshelf speakers are made equal, and the highest audio performance may be achieved without a standalone subwoofer with the correct design and high-quality parts. All things considered, good bookshelf speaker systems don’t usually require a subwoofer.
Many audiophiles who enjoy small-scale music adore the best bookshelf speakers (such as a jazz quartet). When placed on stands far from your walls, their smaller size may make them appear to vanish more than a tower, providing you a fantastic three-dimensional sound stage.





















