BLAUPUNKT Osaka 200 1-DIN Radio

Operating and Installation Instructions
CAUTIONS
Safety Notes
This car radio has been manufactured according to established safety guidelines. However, dangers may still occur if the safety notes in this manual is not observed. This manual is intended to familiarize the user with the car radio’s important functions. Read this carefully, prior to using the car radio. Keep this manual in an easily accessible location. In addition, do observe the instructions of the devices used in conjunction with this car radio.
Road Safety
Always observe the following notes for road safety:
- Car radio must be used in a way that compliments safety of the user when driving the vehicle. It is recommended for the user to park at an appropriate location when operating the car radio. While driving, user is not recommended to use applications that can be prone to distraction e.g. streaming to medias etc.
- Radios with Navigation : User is recommended to proceed with proposed driving routes only if it does not violate any traffic regulations. Local traffic signs and regulations always prevail over the routes proposed.
- User is advised to keep the volume of the car radio to a moderate level for the protection of the ears and to increase the ability to hear any emergency warning signals (e.g. police and ambulance sirens). Do not increase the car radio volume while the car radio is muted as it is not audible. The car radio volume can be too loud when the car radio is unmuted.
General Safety Notes
Observe the following for protection against injuries:
- This car radio is intended for installation and operation in a vehicle with 12V vehicle system outage, hence the radio unit must be installed in a DIN slot. Observe the output limits of the car radio. Do not dismantle or modify the car radio. Installation and repairs, if necessary, should be performed by a specialist. We are not liable for any loss or damage caused or resulting from unauthorized disassembly or modification to the product.
- This car radio’s core components may result to damage when the car is driven on bumpy roads for a prolonged period of time or if it is used to play non-standard or severely damaged discs.
- Please do not operate the car radio under extreme temperature conditions (extremely high temperature or extremely low temperature); make sure that temperature within the car ranges from
-20°C to 80°C before you connect the car radio to the power supply. - For abnormalities, please refer to the “Troubleshooting” section. If the problem cannot be resolved, please press the Reset button to recover its factory settings. Otherwise, please contact respective installer/seller directly for help.
- As SD/USB file formats, codecs, bitrate, resolution and other parameters available in the market are not all the same, there is no guarantee that this car radio can play all media file formats.
- Different cars may have different configurations. It is normal that some CAN-Bus functions cannot be enabled because it is not supported by the user’s car or this car radio.
- Solvents, cleaning and scouring agents as well as dashboard spray and plastics care products may contain materials which can damage the surface and screen of the car radio. Use only dry or slightly moistened cloth to clean the car radio surface and screen.
This manual may be updated from time to time without any notice.
Disclaimer
In no event shall Belau punt be liable for any direct, indirect, punitive, incidental, special consequential damages to property or life and whatsoever arising out of or connected with the use or misuse of our products.
USA & CANADA: This product is not intended for sale in the United States and Canada. If purchased in the U.S. or Canada, this product is purchased on as-is basis. No warranty, whether expressed or implied is provided in the U.S. or Canada.
Disposal Notes
Do not dispose of your old unit in the household trash!
Use the return and collection systems available to dispose of the old device.
Radios with Detachable Panel – Damage to the control panel
- Never drop the control panel.
- Transport the control panel so that it is protected against impacts and the contacts cannot become dirty.
- Do not expose the control panel to direct sunlight or another heat source.
- Avoid direct skin contact
Scope of Delivery
- Car sound system
- Operating / installation instructions
- Connecting cable
- Installation keys
- Trim ring
- Mounting bar
KEY FUNCTIONS

- Radio mode
- Press to decrease radio frequency automatically.
Press and hold to decrease radio frequency manually Phone (BT) mode - Press to return to previous song
Playback mode - Press to skip to previous track/chapter. Press & hold to fast backward reverse track.
- Press to decrease radio frequency automatically.
- Press once to turn on and press & hold to turn off. Media mode
- Press to switch between media RADIO – USB – SD – BT – AUXIN. Phone (BT) mode
- Press to end call.
- Turn knob left/right to increase/decrease volume or press knob to switch between
- BAS : Bass
- TRRE : Treble
- BAL : Balance
- FAD : Fader
- LOD : Loud
- EQ : Equalizer and turn left/right to adjust.
- Microphone
- Press to view time or press and hold to adjust time setting.
- LCD
- SD
- USB (Media)
- USB (Charging)
- AUX-IN
- Radio mode
- Use digit to select radio station or press and hold to save the station.
Playback mode - Press to skip to next 10th song or press and hold to skip to next folder.
- Use digit to select radio station or press and hold to save the station.
- Radio mode
- Use digit to select radio station or press and hold to save the station.
Playback mode - Press to skip to previous 10th song or press and hold to skip to the previous folder
- Use digit to select radio station or press and hold to save the station.
- Radio mode
- Use digit to select radio station or press and hold to save the station.
Playback mode - Press to turn on or off shuffle play
- Use digit to select radio station or press and hold to save the station.
- Radio mode
- Use digit to select radio station or press and hold to save the station.
Playback mode - Press to repeat 1/All
- Use digit to select radio station or press and hold to save the station.
- Radio mode
- Use digit to select radio station or press and hold to save the station.
Playback mode - Press to play the first 10sec of each track.
- Use digit to select radio station or press and hold to save the station.
- Radio mode
- Use digit to select radio station or press and hold to save the station.
Playback mode - Press to PAUSE/PLAY.
- Use digit to select radio station or press and hold to save the station.
- Radio mode
- Press to increase radio frequency automatically.
Press and hold to increase radio frequency manually Phone (BT) mode - Press to skip to last song.
Playback mode - Press to skip to next track/ chapter. Press & hold to fast forward current track.
- Press to increase radio frequency automatically.
- Media mode
- Press to switch between radio band FM1 – FM2 -FM3 or press and hold for automatic radio stations scan and save .
Phone (BT) mode - Press to answer call.
- Press to switch between radio band FM1 – FM2 -FM3 or press and hold for automatic radio stations scan and save .
- RESET
- MUTE
BT
Pre-pair Bluetooth
- Ensure mobile phone supports Bluetooth function before pairing. Different mobile phone will have different emissive power. To get the best connection, the recommended distance range is 3m without any object obstruction.
Pairing
- Turn on mobile phone’s Bluetooth to set up. (Please refer to the instruction manual of the mobile phone on how to operate Bluetooth)
- “OSAKA 200” should appear on your available BT scanning list.
- Select “OSAKA 200” . Pairing successful when phone’s Paired Device list appear as “Connected” under Osaka 200.
General
- Power supply ……………………………………………………………….12VDC
- Current Consumption ……………………………………………max. 10A
- Max. power output ……………………………………………………4 x 50W
- Dimension (WxDxH) …………………………….188 x 58 x 129.2mm
- Weight …………………………………………………………………………..0.42kg
- Operation temperature …………………………………………-20° ~ 60°
FM Stereo Radio
- Frequency range …………………………………………….87.5 – 108MHz
- Preset memory stations ……………………………………………………..18
- Sensitivity ……………………………………………………………………..<20dB
- Stereo separation ………………………………………………………..>25dB
- SNR …………………………………………………………………………………>60dB
Audio Specification
- Frequency response ………………………………………..20Hz – 20kHz
- Speaker impedance …………………………………………………..4 ohms
Playback
- USB/SD …………………………………………………………………..MP3, WMA
- Display ……………………………………………………………………ID3 display
- Distortion ………………………………………………………………………<0.3%
- SNR …………………………………………………………………………………>60dB
BT
- Profile ………………………………………………………………………………A2DP
- Aux-In …………………………………………………………………..3.5mm jack
TROUBLESHOOTING
If any of the following problem occur, please resort to Troubleshooting for the possible solutions.
Consult Belau punt authorized dealer if problem persist.
| Problems | Possible Causes | Solutions |
| Unable to start up | The car key is not inserted into the ignition; ignition is off | Insert the car key and turn on the ignition. |
| Power Cable is not inserted into the main body. | Insert the power cable. | |
| Burnt power fuse . | Replace it with a new fuse. | |
| Drained car battery. | Charge or replace the car battery. | |
| No sound | Audio cables are not properly connected to the unit. | Ensure proper connection of the audio cables. |
| Mute setting is on. | Unmute the volume. | |
| Low volume. | Adjust the volume. | |
| No sound from front, rear, left & right speakers due to Fade-Balance settings. | Select Equalizer from Home Page to adjust setting. | |
| Slow in SD card reading | SD card may contain corrupted files or virus. | Replace it with a new audio/video SD card with compatible file formats. |
| Unable to search radio stations | Radio’s antenna is not well inserted. | Ensure radio antenna is properly installed. |
WIRING DIAGRAM

| NO. | WIRE | A |
| 1 | REAR LEFT – | |
| 2 | REAR LEFT + | |
| 3 | FRONT LEFT – | |
| 4 | FRONT LEFT + | |
| 5 | FRONT RIGHT – | |
| 6 | FRONT RIGHT + | |
| 7 | REAR RIGHT – | |
| 8 | REAR RIGHT + | |
| NO. | WIRE | B |
| 1 | BLACK | GND |
| 2 | RED | ACC |
| 3 | – | – |
| 4 | BLUE | ANT |
| 5 | YELLOW | B+ |
| 6 | – | – |
| 7 | – | – |
| 8 | – | – |
INSTALLATION INSTRUCTION
SAFETY
- Assign a mounting location that will not obstruct driver in any circumstances. Or cause injuries to drivers and passengers in case emergency brake or accidents.
- Ensure all wires are connected properly, and that the unit is functioning well before fitting the unit into the mount.
- Any unauthorized installation and modification may cause malfunction to the unit. Always use the parts that are included with the units only.
CAUTION
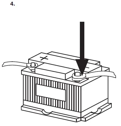
- Disconnect the negative terminal of the battery (Refer to vehicle manufacturer’s safety instructions). Be wary to not damage vehicle components when drilling holes.
- Make sure you do not damage vehicle components when drilling any holes.
- The cross sections of the positive and negative cables must not be less than 1.5 mm2.
- Do not connect the vehicle’s plug connectors to the radio!
- Your vehicle may differ from the description provided here. Blaupunkt is not liable in case any damage caused by incorrect installation or connection.
- Please contact Bleep unit dealers or vehicle’s manufacturer if information provided here does not fit your specific installation requirement.
When installing amplifier, first connect the device ground connections before connecting the plugs for the line-out jacks.
Ground connection of external devices may not be connected to ground of car sound system (housing).
Supplied mounting hardware

Optional accessories

Installation kit







Designed and engineered by Blaupunkt Competence Centre




















