
Cordless Fan Jacket /Cordless Fan Vest
INSTRUCTION MANUAL

![]() | ![]() |

![]() | ![]() |

WARNING
This appliance can be used by children aged 8 years and above and persons with reduced physical, sensory or mental capabilities or lack of experience and knowledge if they have been given supervision or instruction concerning use of the appliance in a safe way and understand the hazards involved. Children shall not play with the appliance. Cleaning and user maintenance shall not be made by children without supervision.
SPECIFICATIONS
| Model: | DFJ210 / DFJ211 | DFJ31 0 / DFJ311 | DFJ410 / DFJ411 | DFJ212 / DFJ213 / DFJ214 / DFV210 | |
| Material | Outer | Polyester 100% | Cotton 100% | Polyester (100%) + titanium pearly coating | Polyester 100% |
| Cotton 100% | Polyester 100% | ||||
| Shoulder pad | – | Polyester 65% + Cotton 35% | – | ||
Specifications for the fan unit
| USB power supply port (optional accessory) | DC 5V, 2.1A, Type A | |
| Rated voltage | DC 10.8 V – 12V max DC 14.4 V DC 18 V | |
| Battery cartridge | 10.8 V -12V max | BL1015 / BL1016 / BL1020B / BL1021B/ BL1040B/ BL1041B |
| 14.4 V | BL1415N / BL1430 / BL1430B / BL1440 / BL1450 / BL1460B | |
| 18 V | BL1815N / BL1820 / BL1820B / BL1830 / BL1830B/ BL1840 / BL1840B / BL1850 / BL1850B / BL1860B | |
- Due to our continuing program of research and development, the specifications herein are subject to change without notice.
- Specifications and battery cartridges may differ from country to country.
WARNING: Only use the battery cartridges listed above. Use of any other battery cartridges may cause injury and/or fire.
Operating time
| Air speed | Battery | ||
| BL1040B BL1041B | BL1460B | BL1860B | |
| HIGH | 5.0 hours | 8.5 hours | 13.5 hours |
| MEDIUM | 9.0 hours | 16.0 hours | 24.5 hours |
| LOW | 13.0 hours | 21.0 hours | 33.0 hours |
- The operating times in the above table are a rough guideline. They may differ from actual operating times.
- Operating times may differ depending on battery type, charging status, and usage condition.
Symbols
Some of the following symbols are used for the product.Be sure to understand their meaning before use.
![]() | Read the instruction manual. |
| Machine wash at below 30°C on the gentle cycle. | |
| Machine wash at below 40°C on the gentle cycle. | |
| Machine wash in domestic or commercial machines on the gentle cycle. | |
| Do not bleach. | |
| Line dry in the shade. | |
| Do not wring. | |
| Iron at low temperatures (not exceeding 110°C). | |
| Iron at medium temperatures (not exceeding 150°C). | |
| Do not iron. | |
| Do not dry clean. | |
| Do not tumble dry. | |
| Only for EU countries Do not dispose of electric equipment or battery pack together with household waste material! In observance of the European Directives, on Waste Electric and Electronic Equipment and Batteries and Accumulators and Waste Batteries and Accumulators and their implementation in accordance with national laws, electric equipment and batteries and battery pack(s) that have reached the end of their life must be collected separately and returned to an environmentally compatible recycling facility. |
Intended use
The fan jacket is intended for cooling your body temperature.
SAFETY WARNINGS
WARNING: Read all safety warnings and all instructions. Failure to follow the warnings and instructions may result in electric shock, fire and/or serious injury.
Save all warnings and instructions for future reference.
- Never use the fan jacket when the temperature reaches more than 50°C (122°F). Also, avoid use in high humidity. Doing so may cause burns.
- Do not wear the jacket over bare skin.
- Do not use the jacket while you are under the influence of drugs, alcohol, or medication.
- Do not sleep while wearing the fan jacket. A steep decline of body temperature may harm your health.
- Children, handicapped persons, or anyone who is insensitive to temperature, for example, someone with poor blood circulation, should refrain from using the jacket.
- This appliance is not intended for medical use in hospitals.
- Do not use the jacket other than for its intended purpose.
- If you sense anything unusual, switch off the jacket and remove the battery holder immediately.
- If any abnormality is found, contact your local service center for repair.
- Do not stamp on, throw or otherwise abuse the fan jacket.
- Do not put your finger or a foreign object into the fan unit.
- Do not blow compressed air toward the fan. Do not put small sticks into the fan unit. Doing so may damage the fan and motor.
- Do not turn on the fan jacket unless you are wearing it.
- Do not use the fan jacket in places where a fire or spark could be generated. The fan unit may catch fire or spark and cause a fire or burns.
- Choose the appropriate fan speed in accordance with the usage environment for continuous use.
- Do not wear any clothing over the fan jacket.
- Keep the nameplate on the fan unit. If it becomes unreadable or goes missing, contact your local service center for repair.
- Before washing, detach the fan unit and battery holder, and remove the battery cartridge. Wash the jacket part only.
- Do not leave the fan jacket in a place subject to high heat, such as a car sitting in the sun. Doing so may cause plastic parts to melt and become damaged.
- For long time storage, remove the battery holder and battery cartridge from the jacket, and remove the battery cartridge from the battery holder.
- When storing, keep the fan jacket, fan units, battery holder, and battery cartridge out of reach of children.
Electrical safety
- Do not expose the jacket to rain or wet conditions. Keep water away from electrical parts. Water entering the jacket may increase the risk of an electric shock.
- Do not handle the cord and battery with wet or greasy hands.
- Do not use the fan jacket when the cord or plug is damaged.
- Do not abuse the cord. Do not use the cord for carrying, pulling or unplugging the jacket. Keep the cord away from heat, oil, and sharp edges.
- Do not leave any cord disconnected while the battery power is supplied. Small children may put the live plug in their mouth and cause injury.
- Do not use the supplied cord with appliances other than the fan unit.
- Do not insert nails, wires, or other items. into the USB power supply port. Doing so may cause a short circuit, which can cause smoke or fire.
- Do not connect the power source to the USB port. The USB port is only intended for charging lower voltage devices. Always place the cover over the USB port when not charging a lower voltage device. Otherwise, there is a risk of fire.
- Recharge only with the charger specified by the manufacturer. A charger that is suitable for one type of battery pack may create a risk of fire when used with another battery pack.
- Only use with specifically designated batteries. The use of any other battery may create a risk of injury and fire.
- When the battery pack is not in use, keep it away from other metal objects, like paper clips, coins, keys, nails, screws, or other small metal objects, that can make a connection from one terminal to another. Shorting the battery terminals together may cause burns or a fire.
- Under abusive conditions, liquid may be ejected from the battery; avoid contact. If contact accidentally occurs, flush with water. If liquid contacts eyes, additionally seek medical help. Liquid ejected from the battery may cause irritation or burns.
- Do not use a battery pack or the fan unit that is damaged or modified. Damaged or modified batteries may exhibit unpredictable behavior resulting in fire, explosion or risk of injury.
- Do not expose a battery pack or the fan unit to fire or excessive temperature. Exposure to fire or temperature above 130 °C may cause an explosion.
- Follow all charging instructions and do not charge the battery pack or the fan unit outside the temperature range specified in the instructions. Charging improperly or at temperatures outside the specified range may damage the battery and increase the risk of fire.
Important safety instructions for battery cartridge
- Before using the battery cartridge read all instructions and cautionary markings on (1) battery charger,(2) battery, and (3) product using the battery.
- Do not disassemble the battery cartridge.
- If the operating time has become excessively shorter, stop operating immediately. It may result in a risk of overheating, possible burnsand even an explosion.
- If electrolyte gets into your eyes, rinse them out with clear water and seek medical attention right away. It may result in loss of your eyesight.
- Do not short the battery cartridge:
(1) Do not touch the terminals with any conductive material.
(2) Avoid storing battery cartridges in a container with other metal objects such as nails, coins, etc.
(3) Do not expose the battery cartridge to water or rain. A battery short can cause a large current flow, overheating, possible burns, and even a breakdown. - Do not store the tool and battery cartridge in locations where the temperature may reach or exceed 50 °C (122 °F).
- Do not incinerate the battery cartridge even if it is severely damaged or is completely worn out. The battery cartridge can explode in a fire.
- Be careful not to drop or strike the battery.
- Do not use a damaged battery.
- The contained lithium-ion batteries are subject to the Dangerous Goods Legislation requirements. For commercial transports e.g. by third parties or forwarding agents, the special requirements on packaging and labeling must be observed. For the preparation of the item being shipped, consulting an expert for hazardous material is required. Please also observe possibly more detailed national regulations. Tape or mask off open contacts and pack up the battery in such a manner that it cannot move around in the packaging.
- Follow your local regulations relating to the disposal of batteries.
- Use the batteries only with the products specified by Makita. Installing the batteries to non-compliant products may result in a fire, excessive heat, explosion, or leak of electrolyte.
SAVE THESE INSTRUCTIONS.
CAUTION: Only use genuine Makita batteries. Use of non-genuine Makita batteries, or batteries that have been altered, may result in the battery bursting causing fires, personal injury, and damage. It will also void the Makita warranty for the Makita tool and charger.
Tips for maintaining maximum battery life
- Charge the battery cartridge before completely discharged. Always stop tool operation and charge the battery cartridge when you notice less tool power.
- Never recharge a fully charged battery cartridge. Overcharging shortens the battery service life.
- Charge the battery cartridge at room temperature at 10 °C – 40 °C (50 °F – 104 °F). Let a hot battery cartridge cool down before charging it.
- Charge the battery cartridge if you do not use it for a long period (more than six months).
PARTS DESCRIPTION
Battery holder and fan unit
► Fig.1
| 1 | Battery holder (10.8 V -12 V max) (optional accessory) | 2 | Battery holder (14.4 V /18 V) (optional accessory) | 3 | Fan unit | 4 | Power cable |
Model DFJ210 / DFJ211 / DFJ310 / DFJ311 / DFJ410 / DFJ411
► Fig.2
| 1 | Loop for name badge | 2 | Loop for arm badge | 3 | Sleeve holder | 4 | Battery pocket |
| 5 | Shoulder pad (DFJ410 / DFJ411 only) | 6 | Mesh pocket for an ice pack | 7 | Anti-slip rubber (DFJ211, DFJ311, and DFJ411 only) | 8 | Hood (DFJ211, DFJ311, and DFJ411 only) |
Model DFJ212 / DFJ213 / DFJ214 / DFV210
► Fig.3
| 1 | Battery pocket | 2 | Hood (DFJ212 only) | 3 | Hook and loop fastener (DFJ212 only) | 4 | Light reflector (DFJ214 only) |
INSTALLATION
Installing or removing the battery cartridge
CAUTION: Always switch off the device before installing or removing the battery cartridge.
CAUTION: Hold the battery holder and the battery cartridge firmly when installing or removing the battery cartridge. Failure to hold the battery holder and the battery cartridge firmly may cause them to slip out of your hands and result in damage to the battery holder and battery cartridge and/or a personal injury.
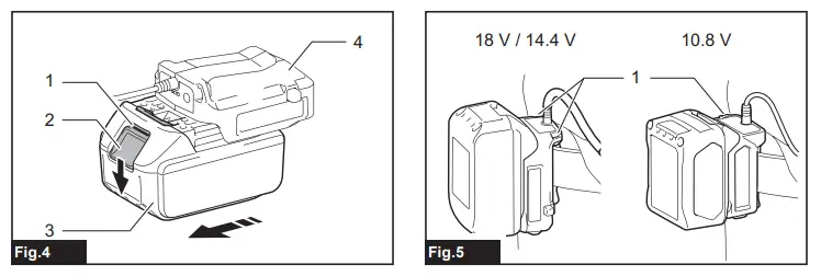
► Fig.4: 1. Red indicator 2. Button 3. Battery cartridge4. Battery holder (optional accessory)
To install the battery cartridge, align the tongue on the battery cartridge with the groove in the housing and slip it into place. Insert the battery cartridge all the way until it locks in place with a small click. If you can see the red indicator on the upper side of the button, it is not locked completely. To remove the battery cartridge, slide it from the battery holder while pressing the button on the front of the cartridge.
CAUTION: Always install the battery cartridge fully until the red indicator cannot be seen. Otherwise, the battery cartridge may accidentally fall out of the battery holder, causing injury to you or someone around you.
CAUTION: Do not forcibly install the battery cartridge. If the battery cartridge does not slide in easily, it is not being inserted correctly.
Attaching the battery holder
You can hang the battery holder on your waist belt. To prevent the battery holder from dropping accidentally, attach a strap using the strap hole and secure it.
► Fig.5: 1. Strap hole
For 18V and 14.4V battery holders The battery holder has an anti-drop function. When removing the battery holder from the belt, pull up the battery holder while pressing the unlock button. ► Fig.6: 1. Unlock button
Installing or removing the fan unit
- (For DFJ212 / DFJ213 / DFJ214 / DFV210 only) Open the zip fastener before installing or removing the fan unit.
► Fig.7 - Turn the ring counterclockwise while lifting the hook on it. Remove the ring when the mark on the ring aligns with the slot on the fan unit.
► Fig.8: 1. Fan unit 2. Ring 3. Hook 4. Slot 5. Mark - Pass the head of the fan unit into the hole on the jacket. Set the ring onto the fan unit and turn it clockwise until the mark on the ring aligns with the mark further from the slot. ► Fig.9: 1. Mark 2. Ring 3. Fan unit
- Pass the strip through the loop on the fan unit and fasten the snap button.
► Fig.10: 1. Strip - Attach the other fan unit to the jacket in the same way.
- Connect the power cable to the fan units. Support the cable using the cable holder. For model DFJ210 / DFJ211 / DFJ310 / DFJ311 /DFJ410 / DFJ411
► Fig.11: 1. Power cable 2. Cable holder For model DFJ212 / DFJ213 / DFJ214 / DFV210
► Fig.12: 1. Power cable 2. Hole 3. Cable holder - (For DFJ212 / DFJ213 / DFJ214 / DFV210 only) Close the zip fastener after installing or removing the fan unit.
- Connect the other end of the power cable to the battery holder.
► Fig.13: 1. Battery holder
CAUTION: Always use the strip and snap button to secure the fan unit to the jacket. If the fan unit falls, it may cause an injury or damage to the fan unit.
Follow the installation procedure in reverse when removing it.
Attaching the filter set
Optional accessory
The filter set protects the fan unit from dust and powder. We recommend that you use the filter set in a dusty or powdery workplace. Insert the filter attachment between the jacket and fan unit as shown in the figure.
► Fig.14: 1. Ring 2. Hole in the jacket 3. Filter attachment 4. Fan unit 5. Filter
When tightening the ring, stop it at the mark near the slot on the fan unit. After attaching the fan units, cover filter attachments with filters.
► Fig.15: 1. Mark 2. Slot
NOTICE: Make sure that the filter fully covers the filter attachment. For better protection against dust and powder, tuck the skirt of the filter between the jacket and filter attachment.
FUNCTIONAL DESCRIPTION
NOTICE: The fan jacket is effective when the humidity and temperature of intake air are lower than those of the body surface. The fan jacket may not be effective if the air temperature and/or humidity are higher than those inside the jacket.
To turn on the jacket, press and hold the power button on the battery holder (optional accessory). The jacket starts at high airspeed. Each time you tap the power button, the airspeed changes from high to medium, medium to low, and low to high. The airspeed indicator shows the current airspeed.
► Fig.16: 1. Airspeed indicator 2. Power button To turn off, press and hold the power button again.
Indicating the remaining battery capacity
Only for battery cartridges with the indicator
► Fig.17: 1. Indicator lamps 2. Check button
Press the check button on the battery cartridge to indicate the remaining battery capacity. The indicator lamps light up for a few seconds.
Indicator lamps | Remaining capacity | ||
| 75% to 100% | |||
| 50% to 75% | |||
| 25% to 50% | |||
| 0% to 25% | |||
| Charge the battery. | |||
| The battery may have malfunctioned. | |||
NOTE: Depending on the conditions of use and the ambient temperature, the indication may differ slightly from the actual capacity.
Battery protection system
The device is equipped with a battery protection system. This system automatically cuts off power to the motor to extend battery life. If the remaining battery capacity is too low, the device will not operate. When you turn the device on, the motor will run again but stops soon. In this situation, remove and recharge the battery cartridge.
By pressing the turbo button on the battery holder, the jacket works in turbo mode for quick cooling. Turbo mode lasts for a minute and then airspeed returns to normal.
► Fig.18: 1. Turbo button
Airflow
For DFJ210 / DFJ211 / DFJ310 / DFJ311 / DFJ410 /DFJ411 only
To maintain a stable air flow, close the button at the neck of the jacket. Fasten the button on the ribbon for better airflow in the back.
► Fig.19: 1. Ribbon
The airflow inside the jacket is shown below.
► Fig.20
For a jacket with a hood, wear the hood over a helmet. The air from the fan goes through the helmet and cools your head.
► Fig.21
Battery pocket
A pocket is provided for storing the battery holder (with battery) inside the jacket. Connect the power cable to the battery holder, and then put it into the pocket and fasten the snap buttons.
► Fig.22
Mesh pocket
For DFJ210 / DFJ211 / DFJ310 / DFJ311 / DFJ410 /DFJ411 only
Mesh pockets are provided on the back of the jacket for storing ice packs.
► Fig.23: 1. Mesh pocket
Connecting USB devices
CAUTION: Connect only devices that are compatible with the USB power supply port. Not doing so may cause a malfunction of the battery holder.
NOTICE: Before connecting a USB device to the battery holder (with the battery), always back up the data on the USB device. Not doing so may cause a loss of your data.
The battery holder (with the battery) can work as an external power supply for USB devices. Open the cover and connect a USB cable (not included) to the power supply port of the battery holder. Then connect the other end of the cable to the device and turn on the switch next to the USB port. The battery holder (with the battery) supplies DC5V, 2.1A. ► Fig.24: 1. Cover 2. Switch
(For DFJ210 / DFJ211 / DFJ310 / DFJ311 / DFJ410 /DFJ411 only)
The USB cable can be placed inside the jacket for convenience using the hole in the pocket and the cable holder.
► Fig.25: 1. USB cable
NOTE: The battery holder may not supply power to some USB devices.
NOTE: When not using or after charging, remove the USB cable and close the cover.
NOTE: Battery power is consumed while the switch is turned on. Always turn off the switch when not in use.
MAINTENANCE
CAUTION: Always be sure that the jacket is switched off and the battery cartridge is removed before attempting to perform inspections or maintenance.
CAUTION: If the jacket does not switch on or any fault is found with a fully charged battery cartridge, clean the terminals of the battery holder and the battery cartridge. If the jacket still does not work properly, stop using the jacket and contact our authorized service center.
NOTICE: Never use gasoline, benzene, thinner, alcohol, or the like. Discoloration, deformation or cracks may result.
To maintain product SAFETY and RELIABILITY, repairs, and any other maintenance or adjustment should be performed by Makita Authorized or Factory Service Centers, always using Makita replacement parts.
Cleaning the fan unit
- Use a clean cloth to remove dirt, dust, oil, grease, etc.
- Do not disassemble the fan unit when cleaning.
Cleaning the jacket
- For all models Detach the fan unit(s) and battery holder from the jacket before washing.
- Follow the instructions on the tag.
- Cotton products may shrink when washed.
- Do not wash the jacket with other clothes.
- Doing so may cause color fading or color transfer.
- Use a laundry net when using a washing machine.
- Do not use the fabric softener. Use only neutral detergent.
- After washing, take out the jacket from the washing machine at once.
- Be sure to close the zip fastener before washing.
For DFJ214 only
- The performance of light reflector parts may be weakened by washing.
- Machine wash in a gentle cycle (The number of times for washing is up to 5 times.)
- The number of times for washing is not the only factor to decides the lifetime of the jacket.
- The life of the jacket changes by how to use, how cared and store state.
- If the light reflector parts or clothes have deteriorated, replace them with a new jacket.
OPTIONAL ACCESSORIES
CAUTION: These accessories or attachments are recommended for use with your Makita tool specified in this manual. The use of any other accessories or attachments might present a risk of injury to persons. Only use accessory or attachment for its stated purpose.
If you need any assistance with more details regarding these accessories, ask your local Makita Service Center.
- Battery holder
- Filter set
- Makita genuine battery and charger
NOTE: Some items in the list may be included in the tool package as standard accessories. They may differ from country to country.
Makita Europe N.V.
Jan-Baptist Vinkstraat 2,
3070 Kortenberg, Belgium
Makita Corporation
3-11-8, Sumiyoshi-cho,
Anjo, Aichi 446-8502 Japan
885647A996
EN, FR, DE, IT, NL,
ES, PT, DA, EL, TR
20180117
www.makita.com






















