KERBL 345623 LED Floodlight Instruction Manual
Intended use
The LED floodlight is intended for indoor and outdoor use. Do not move the product during use. The LED floodlight is not suitable for purposes other than those described here.
Safety precautions
CAUTION! Read all instructions. Failure to heed the following instructions may lead to electric shock, fire and/or serious injury. Safe this user manual for future reference! Include this user manual should you give the LED floodlight to other persons.- The LED floodlight‘s housing may become very hot during use. Make sure the floodlight is sufficiently ventilated to promote the dissipation of generated heat.
- Touch the floodlight with your bare hands only when it is cooled down.
- Set up the floodlight with sufficient clearance to flammable surfaces and objects. If you set up the floodlight near flammable objects, keep a minimum distance of 1m (3.3 ft) from the housing.
- Make sure there is at least 1m (3.3 ft) clearance between the LED floodlight and the objects you wish to illuminate.
- The LED floodlight may be operated in combination with the included floor stand only.
- Make sure that the connection cable is not taut or in contact with sharp objects, chemicals or solvents.
- Check the product for damages before first use.
- Resolve any malfunctions and repair any damages immediately to guarantee safe operation.
- Interrupt the power supply before repairing the LED floodlight.
- The safety glass is non-replaceable. Dispose of the product if the safety glass is damaged.
- The floodlight may be set up on an even and stable surface only.
- The luminaire connection cable cannot be replaced. If the connection cable is damaged, the luminaire must be scrapped.
- Risk of electric shock! Although the article is splashproof (IP 65), do not use it in the vicinity of water and other liquids or at places where water or other liquids may pool. Do not submerge the article in water. Keep a minimum distance of 5 m (16 ft) from swimming pools or ponds. Shield the power plug from moisture.
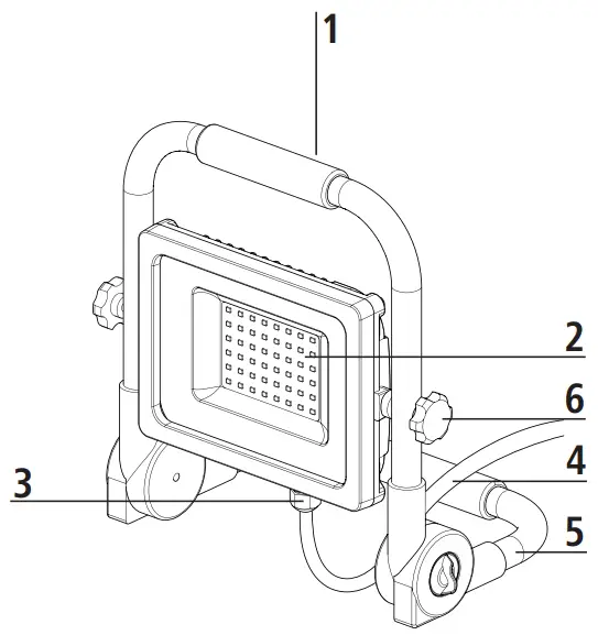
Parts description

- Handle
- LED
- Line connection
- Connection cable with power plug
- Floor stand
- Setting screw
The design of some models may differ from the illustration.
Setup
- Use the fastening bolts to set the desired beam angle: Set the desired bean angle: Loosen the screws, adjust the angle and retighten the screws.
- Make sure that the connection cable is not taut or in contact with sharp objects, chemicals or solvents while doing so.
- Before use, make sure the floodlight is standing securely.
- Connect the power plug to a suitable power outlet to turn on the device. Unplug the device to turn it off.
Cleaning
- Interrupt the power supply before repairing or cleaning the LED floodlight.
- Use a slightly damp cloth to clean the LED floodlight‘s housing. Do not use any aggressive cleaning agents.
Technical data
- Output: 70 W
- Light flux: 7,000 lumen
- Luminous efficacy: 100 lm/W
- Angle: 120 °
- Chip service life (L70): > 50,000
- Input voltage: 220 – 240 V / 50 Hz
- Colour temperature: 5,000 K
- Colour rendering (CRI): Ra > 80
- Protection type: IP 65
- Dimensions with frame (L x W x H): approx. 29 x 18 x 32 cm
- Cable length: 4 m
CE Mark / CE Declaration of Conformity
Albert KERBL GmbH hereby declares that the product / device described in these instructions complies with the fundamental requirements and other relevant stipulations and regulations. The CE mark confirms compliance with the Directives of the European Union.
Electrical waste
It is up to the operator to dispose of the device responsibly after its useful life in accordance with local regulations. Consult the relevant regulations for your country. The device must not be disposed of in household waste. Under the terms of the EU Directive on the disposal of old electrical and electronic equipment, the device can be taken to local authority-run refuse sites or recycling plants free of charge, or returned to dealers who offer a returns service. Correct disposal protects the environment and prevents any possible harmful impacts on humans and the environment.
Support
Albert Kerbl GmbH
Felizenzell 9
84428 Buchbach, Germany
Tel. +49 8086 933 – 100
Fax +49 8086 933 – 500
www.kerbl.de
Kerbl Austria Handels GmbH
Wirtschaftspark 1
9130 Poggersdorf
Tel. +43 4224 81555
Fax. +43 4224 81555-629
www.kerbl-austria.at
Kerbl France Sarl
3 rue Henri Rouby, B.P 46 Soultz
68501 Guebwiller Cedex, France
Tel. : +33 3 89 62 15 00
Fax : +33 3 89 83 04 46
www.kerbl-france.com

CAUTION! Read all instructions. Failure to heed the following instructions may lead to electric shock, fire and/or serious injury. Safe this user manual for future reference! Include this user manual should you give the LED floodlight to other persons.

















