EKVIP 023790 Wall Spotlight
SAFETY INSTRUCTIONS
- The product is only intended for outdoor use.
- Switch off the power supply before installation.
- Before cleaning, maintenance and/or other work on the product, switch off the power supply by removing the fuse or pulling out the plug.
- Products with transformers must only be used with the original transformer.
- Do not allow children to play with the packaging material or the product.
- These instructions should be enclosed with the product if it is sold or passed on.
- Do not connect the lamp to the mains while it is still in the pack.
- Stop using the product immediately if it gets damaged, especially the power cord, plug and/or lamp socket, and if it is not working properly.
- Repairs must be carried out by an authorised electrician.
- Never attempt to modify or repair the product.
- Repairs that are not carried out correctly can result in a risk of serious personal injury and/or death
- The product’s earth wire (green/yellow) is connected to earth.
- Be careful not to damage the insulation on the wires during installation. Make sure that the wires do not come into contact with sharp edges. Damaged insulation can result in a risk of electric shock.
- Check that the mains voltage corresponds to the rated voltage on the type plate.
- The plug, power cord, wires and connections must not be subjected to mechanical stress
IMPORTANT:
New installations and extensions to existing systems must always be carried out by an authorised electrician. If you have the necessary experience and knowledge (otherwise contact an electrician), you can replace power switches and wall sockets, fit plugs, extension cords and light sockets. Incorrect installation can result in fatal injury and the risk of fire.
SYMBOLS
TECHNICAL DATA
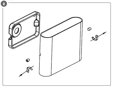
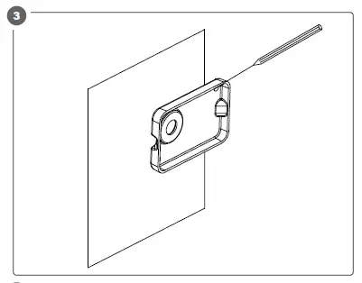
INSTALLATION








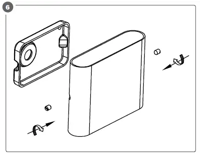
REMOVAL

Important! Read the user instructions carefully before use. Save them for future reference. Jula reserves the right to make changes. For latest version of operating instructions, see www.jula.com



















