
LED CEILING FAN WITH SPEAKER – INSTRUCTION MANUAL

CPB 123105
Sonifer, S.A.
Avenida de Santiago, 86 30007, Murcia, España.
[email protected] / www.orbegozo.com
MADE IN P.R.C.
Read this manual carefully before running this appliance and save it for reference in order to obtain the best results and ensure safe use.
Scan this QR code in order to access to more information about this ceiling fan, including installation details. Or enter www.orbegozo.com and look for the model number in the website.
SAFETY INSTRUCTIONS
Dear Customer, If you follow the recommendations contained in this Instruction Manual, our appliance will give you constant high performance and will remain efficient for many years to come. Read the operating instructions carefully before putting the appliance into operation and keep the instructions including the warranty, the receipt and, if possible, the box with the internal packing. If you give this device to other people, please also pass on the operating instructions.
General Safety Instructions
- This appliance can be used by children aged from 8 years and above and persons with reduced physical, sensory or mental capabilities or lack of experience and knowledge if they have been given supervision or instruction concerning use of the appliance in a safe way and understand the hazards involved. Children must never play with the appliance. Cleaning and user maintenance must never be carried out by children without supervision.
- Children should be supervised to ensure that they do not play with the appliance.
- Keep the appliance and the cable cord out of the reach of children less than 8 years old.
- WARNING: In order to ensure your children’s safety, please keep all packaging (plastic bags, boxes, polystyrene etc.) out of their reach.
- If the supply cord is damaged it must be repaired by the Authorized Service Agent.
- Never pull on the cord when unplugging.
- Do not use the unit with a damaged cord or plug, or if it is not working properly.
- Do not handle the appliance with wet hands.
- Never immerse the appliance in water or any other liquid.
- Make sure the appliance has been unplugged before cleaning.
- This appliance must be installed following the national regulations for electrical installations.
- This appliance is for household use only.
- In case that you need a copy of the instruction manual, you can find it in www.orbegozo.com.
- WARNING: In case of misuse, there is a risk of possible injury.
Other specific safeguards
- The method of disconnection from the mains supply must incorporate a switch or isolator with a minimum contact separation of 3 mm.on all poles.
- Make sure that when the fan is fitted in the chosen position, there is no possibility of the rotating blades coming into contact with any object. Blades should be at least 2.30 m from floor when fan is hung.
- If you are installing more than one ceiling fan make sure that you do not mix fan blade sets, even though they are from the same ceiling fan model.
- Before beginning, disconnect power by removing fuse or turning off circuit breaker.
- Once fan installation is completed make sure that all connections are secure to prevent fan from falling.
- Fan must be turned off and stopped before reversing fan direction.
- Check that the means of fitting the fan to the ceiling is capable of supporting the weight of the fan when in operation. (Minimum 50Kg.).
FAN COMPONENTS
![]() Roof support | ![]() Canopy | ![]() Support bar |
![]() Coupling cover | ![]() Motor |
Diffuser |
![]() Remote + Controller | ![]() Installation bag |
Speaker Parts |
FAN INSTALLATION
1. Position the roof support with the two screws and plugs (depending on the type of roof)
![]() On concrete ceilings, drill two 8mm holes and insert the screw. Align the bracket with the hole, and then tighten the nut. | ![]() On wooden ceilings, fasten the bracket using the 4 screws. |
2. Pass the support bar through the hole in the docking cover



3. Loosen the motor joint bolts and attach the bar with cover to the motor using the flanged pin and bolts


ATTENTION: It is very important to ensure that the flanged pin is correctly installed and secured. Poor fixing of the pin can cause the fan to fall.
HOW TO HANG THE FAN


- Ranura (Slot)
- Lengüeta (Tab)
Carefully lift the fan and place the tilt support bar on the suspension bracket attached to the ceiling. Make sure the slot in the ball is properly aligned with the tab on the support bar.
WARNING
The fan must be hung with at least 230 cm of free space from the ground to the blades.

- Suspension bracket
- Tab
- Slot
REMOTE CONTROL CONNECTION

WARNING
To avoid possible electrical shock, make sure power is turned off at the main fuse box before wiring.)
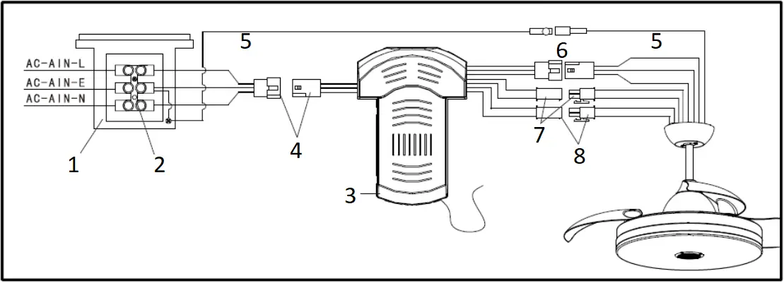
CONTROLLER WIRING DIAGRAM

- Hang bracket
- Power strip
- Controller
- Controller input cable
- Ground wire
- Motor input cable
- Light input cable
- Speaker wire
ASSEMBLY OF THE CANOPY


Mount the bowl by tightening the two screws
SPEAKER INSTALLATION

- Screws
- Speaker
- Speaker Cover
- Decorative ring
- Fixing screws
- Diffuser
DIFFUSER INSTALLATION


Plug in the input wire and output wire of the speaker driver, then screw the diffuser onto the fan body in a clockwise direction.
FAN BALANCING
Keep in mind that all ceiling fans are not created equal, even on the same model!
Some may move more or less than others. Movement of a couple of centimeters is quite acceptable and does not imply that the fan will fall over.
Although all blades are weighted and grouped by weight, it is impossible to completely eliminate wobble. This should not be considered a problem. Ceiling fans tend to move during operation because they are generally not rigidly mounted.
BALANCING KIT
A balancing kit has been supplied to help reduce sway. Keep the kit as it may come in handy if the fan wobbles in the future.
The kit includes instructions on how to use it.
CONNECT DEVICE TO SPEAKER
The fan must be connected to the wall switch, it is not necessary that the light is on or the fan is running. With your mobile device, start the search for Bluetooth devices, “MX_light” should appear in the list, select the device and it will be linked automatically. Now you can send your favorite music to the speaker and control the volume with your mobile device.
OPERATING THE FAN
In order to turn on the fun press one of the speeds, 1/2/3/4/5/6, being 1 the lowest and 6 the highest one. You can change the speed anytime by pressing the desired level.

Turn off the ceiling fan
Turn on or off the light (in case that your ceiling fan includes light kit.
Breeze mode
This button changes the direction of rotation of the blades. In winter, select the upward rotation, as they will direct warm air trapped near the fan downward throughout the room. When it’s hot, select the down spin and the blades will create a breeze that will spread throughout the room.
Speaker On/Off
Press 1H: the fan and light will turn off automatically after 1 hour.
Press 2H: the fan and light will turn off automatically after 2 hours.
Press 4H: the fan and light will turn off automatically after 4 hours.
MAINTENANCE AND CLEANING
– Change the battery by opening the battery compartment cover on the remote control, put in 2 AAA batteries and make sure the battery polarity matches the compartment diagram (Note: Battery is not included). Replace the compartment cover.
– Always make sure that the battery compartment has been properly closed.
– Do not expose the remote control to direct sunlight
– Do not try to recharge exhausted batteries. There are special rechargeable batteries, in which case it is clearly specified.
– Do not throw batteries into fire; there is a risk of explosion.
– Clean the fan with a soft, dry cloth. Never use scourers, abrasives or chemical cleaners. Avoid condensation coming into contact with electrical components.
DISPOSAL OF OLD ELECTRICAL APPLIANCES
The European directive 2012/19/EU on Waste Electrical and Electronic Equipment (WEEE), requires that old household electrical appliances must not be disposed of in the normal unsorted municipal waste stream. Old appliances must be collected separately in order to optimize the recovery and recycling of the materials they contain, and reduce the impact on human health and the environment. The crossed out “wheeled bin” symbol on the product reminds you of your obligation, that when you dispose of the appliance, it must be separately collected. Consumers should contact their local authority or retailer for information concerning the correct disposal of their old appliance.
DECLARATION OF CONFORMITY:
This device complies with the requirements of the Low Voltage Directive 2014/35/EU and the requirements of the EMC directive 2014/30/EU.
GUARANTEE
This appliance is covered and is entitled to the legal guarantee in accordance with the legislation in force from the date of purchase. Keep the purchase receipt to be able to claim your right to the guarantee. To find the closest service to your location, contact through the following web link: https://orbegozo.com/asistencia-tecnica/
For any type of query, doubt or incident, you can contact us through our email shown on the main page of this manual or through our technical assistance service at https://orbegozo.com/contacto/
Orbegozo is not responsible for components and accessories that are subject to wear and tear due to use, as well as perishable compounds or those that have deteriorated due to improper use. Nor will it be held responsible if the owner has technically modified the device. Check the legal conditions on our website.
| ERP TECHNICAL SPECIFICATION REGULATION (EU) 206/2012 AND (EU) 2016/2282 DIRECTIVE 2009/125/EC | |||
Description | Symbol | Value | Unit |
| Maximum fan flow rate | F | 108,15 | M³/min |
| Fan power input | P | 27,53 | W |
| Service value | SV | 3,93 | (M³/min)/W |
| Standby power consumption | PSB | 0,457 | W |
| Fan sound power level | LWA | 41,329 | dB (A) |
| Maximum air velocity | C | 3,097 | meters/sec |
| Measurement standard for service value | IEC 60879:2019 | ||
| Contact details for obtaining more information | Sonifer S.A. Avda Santiago 86, 30007, Murcia, Spain. | ||
![]()






























