
50 253.4
Technical amendments reserved
Recessed ceiling luminaire for indoor use
50253.4 LED Recessed Ceiling Luminaire
Instructions for useApplication
Luminaire for connection to external LED power supply unit.
Product description
Recessed LED ceiling luminaire »STUDIO LINE« made of die-cast aluminium – without power supply unit
Aluminium housing shield, Finish Colour velvet black inside hue matt brass
Light-diffusing silicone lens
Reflector of anodised pure aluminium
Fixing is achieved by using 2 adjustable wedge-shaped claws
1 connecting cable with strain relief and plug connector system for BEGA power supply unit, on/off or DALI
Safety class III ![]()
– Conformity mark
Weight: 0.4 kg
This product contains light sources of energy efficiency class(es) E
Safety
The installation and operation of this luminaire are subject to national safety regulations.
Installation and commissioning may only be carried out by a qualified electrician.
The manufacturer accepts no liability for damage caused by improper use or installation.
If subsequent modifications are made to the luminaire, the person responsible for these modifications shall be considered the manufacturer.
Overvoltage protection
The electronic components installed in the luminaire are protected against overvoltage in accordance with DIN EN 61547.
To achieve an additional protection against e. g. transients, etc. we recommend separate overvoltage protection components.
You can find them on our website at www.bega.com.
Lamp
| Module connected wattage | 12.3 W |
| Luminaire connected wattage | 14.3 W |
| Rated temperature | ta = 25 °C |
| Ambient temperature | ta max = 40 °C |
50 253.4 K3
| Module designation | LED-0423/930 |
| Colour temperature | 3000 K |
| Colour rendering index | CRI > 90 |
| Module luminous flux | 1640 lm |
| Luminaire luminous flux * | 744 lm |
| Luminaire luminous efficiency * | 52 lm / W |
* preliminary data
Lighting technology
Half beam angle 48°
Installation
Luminaire housing must not be installed in heat-insulating material.
A separate power supply unit is required to operate the luminaire – see accessories.
The recessed opening will be covered by the frame of the luminaire.
Fixing of the luminaire is achieved by using 2 adjustable wedge-shaped claws.
LEDs are high-quality electronic components!
Please avoid touching them directly during installation or relamping.
Installation into false ceilings
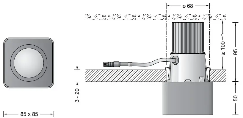
A recessed opening of ø 68 mm is necessary to accept the luminaire.
Free space depth min. 100 mm (see sketch).
Luminaire and external LED-power supply unit must not be installed in heatinsulating material.
The lateral distance between recessed luminaire and standard combustible building parts must be at least 50 mm.
The claws catch the panel from the reverse side. If minimum thickness of the panel is less than 3 mm it must be reinforced from the reverse side. Maximum thickness of the panel must be no more than 20 mm.
For connection to external LED-power supply unit – accessory 13 144 or 13 169 – the luminaire is equipped with a 2-pin connector.
Note operating instructions of the LED-power supply units.
Push external LED power supply unit and luminaire into the ceiling cut-out.
Hand-tight screws of claw fasteners evenly.
Center reflector onto the enclosed housing shield.
Mount housing shield with reflector onto luminaire frame (magnetic) (see sketch).
Cleaning · Maintenance
Clean luminaire regularly with solvent-free cleansers from dirt.
Replacement of the LED module
The designation of the LED module is noted on a label in the luminaire.
The light colour and light output of BEGA replacement modules correspond to those of the modules originally fitted. The module can be replaced by qualified persons using standard tools.
Disconnect the system.
Pull housing shield with mounted reflector from luminaire frame.
Please follow the installation instructions for the LED module.
Mount housing shield with reflector onto luminaire frame (magnetic).
Accessories
Power supply units for LED luminaires 220-240 V · 0/50-60 Hz with strain relief and plug connector system.
13 144 Power supply unit on/off
13 169 Power supply unit DALI
The power supply units are only suitable for the operation of one LED luminaire.
For the accessories a separate instructions for use can be provided upon request.
Spares
| Shield | 42 000 206 .1M 8 |
| LED module 3000 K | LED-0423/930 |
| Reflector | 76 001 317 |
Gantenbrink-Leuchten KG
Postfach 31 60
58689 Menden
[email protected]
www.bega.com









