
Thon Studio Producer Desk 1750/curved
Studio Desk

Assembly Instructions
Safety instructions
DANGER!
Danger for children
Ensure that plastic bags, packaging, etc. are properly disposed of and are not in the reach of babies and young children. Choking hazard!
Ensure that children do not detach any small parts (e.g. knobs or the like) from the product. They could swallow the pieces and choke!
Never let children play unattended with the product.
CAUTION!
Risk of injury due to heavy weight
Due to the heavy weight of the studio desk, at least two persons are required for transport and assembly.
CAUTION!
Risk of injury to the hands
When assembling and screwing the individual parts, pay attention to sharp edges on tools, screws and components.
Scope of delivery
Before you assemble the studio desk, make sure the contents of package is complete according to the following list.
Thon Studio Producer Desk 1750 / Thon Studio Prod. Desk 1750 curved
- 1 × table top, 19 mm chipboard
- 3 × cable feed-through
- 4 × screw M8 × 30
- 4 × washer
- 20 × Euro screw
- 2 × tapping screw
- 1 × assembly instruction
Optional accessories
Thon Studio Extension Desk 3U
- 1 × monitor bridge, 19 mm chipboard
- 4 × side panel
- 6 × rack rails with 12 × wood screw
- 8 × wood screw, long
- 8 × connector housing
- 8 × connector bolts
- 3 × cable feed-through
- 1 × assembly instruction
Thon Studio Ext. Desk 3U curved
- 1 × monitor bridge, 19 mm chipboard
- 6 × side panel
- 6 × rack rails with 12 × wood screw
- 12 × wood screw, long
- 12 × connector housing
- 12 × connector bolts
- 3 × cable feed-through
- 1 × assembly instruction
- Roadworx Multi Electric Stand (item # 491963) incl. control unit
- Thon Studio Producer Drawer (item # 507364)
- Thon Studio Cable bridge (item # 507362)
- the t.racks Power 3 USB (item # 437416)
- the t.racks Power 8 (item # 415280)
Installation
For assembly, place all components on a suitable assembly surface. Use a soft pad in order to avoid damage to the surfaces.
Thon Studio Producer Desk 1750 / Thon Studio Prod.Desk 1750 curved
Overview
The following figure shows an overview of the individual components.

| 1 | Table top |
| 2 | Table top curved |
| A | Screw M8 × 30 |
| B | Washer |
| C | Euro screw |
| D | Tapping screw |
| E | Cable feed-through |
Optional accessories
Roadworx Multi Electric Stand (item # 491963)
Place the table top on the Roadworx Multi Electric Stand and fasten the table top with four M8 × 30 screws and four washers in the flush-mounted threaded sleeves for M8 threads. Fasten the control unit of the Roadworx Multi Electric Stand to the pre-punched positions on the left or right on the underside of the table top with two tapping screws.
Thon Studio Producer Drawer (item # 507364)
Slide the shelf of the keyboard extension into the drawers and fasten the components together with the screws provided. Attach the brackets to the drawers at the required height with four M4 × 4 screws (F) each. Fasten the assembled keyboard drawer with eight raised countersunk screws M6 × 14 (G) in the flush-mounted threaded sleeves for M6 threads on the underside of the table top.

Thon Studio Cable bridge (item # 507362)
Fasten the cable duct with four Euro screws to the drill holes provided on the underside of the table top.
the t.racks Power 3 USB (item # 437416)
Fasten the power strip with four Euro screws to the drill holes provided on the underside of the table top. the
t.racks Power 8 (item # 415280)
Fasten the power strip with four Euro screws to the drill holes provided on the underside of the table top.
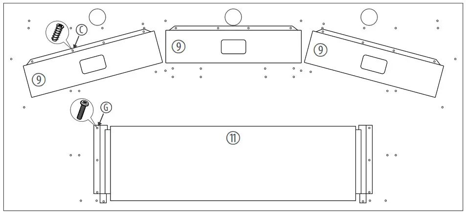
Mounting options for optional accessories
Thon Studio Producer Desk 1750



| 6 | Roadworx Multi Electric Stand (item # 491963) |
| 7 | the t.racks Power 3 USB (item # 437416) |
| 8 | Operating element Roadworx Multi Electric Stand (item # 491963) |
| 9 | Thon Studio Cable bridge (item # 507362) |
| 10 | the t.racks Power 8 (item # 415280) |
| 11 | Thon Studio Producer Drawer (item # 507364) |
Thon Studio Prod. Desk 1750 curved



| 6 | Roadworx Multi Electric Stand (item # 491963) |
| 7 | the t.racks Power 3 USB (item # 437416) |
| 8 | Operating element Roadworx Multi Electric Stand (item # 491963) |
| 9 | Thon Studio Cable bridge (item # 507362) |
| 10 | the t.racks Power 8 (item # 415280) |
| 11 | Thon Studio Producer Drawer (item # 507364) |
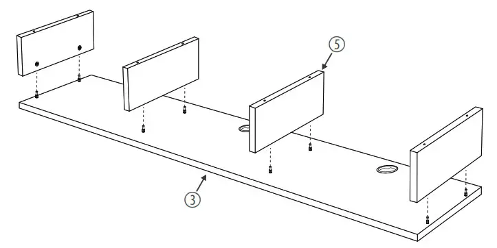
Thon Studio Extension Desk 3U / Thon Studio Ext. Desk 3U curved
Overview
The following figure shows an overview of the individual components.

| 3 | Monitor bridge | J | Wood screw long |
| 4 | Monitor bridge curved | K | Wood screw |
| 5 | Side panel | L | Rack rail |
| H | Connector bolt | E | Cable feed-through |
| I | Connector housing |
Mounting Thon Studio Extension Desk 3U
Put the connecting bolts into the drill holes provided in the monitor bridge (8 × connecting bolts) and the connector housings into the drill holes provided in the side panels (2 × connector housings each). Insert the cable feed-throughs into the recesses of the monitor bridge from above.
After insertion, the connecting bolts sit loosely in the drill holes and only spread apart when the connector housings on the associ-ated component are tightened.

Put the four side panels on the connecting bolts of the monitor bridge and tighten the connector housings of the side panels clockwise to lock the connection with the inserted connecting bolts.

Turn the tabletop over so the bottom is facing up. Place pieces of wood under the drill holes to prevent the coating from cracking out when drilling. Using a 4mm bit, drill the eight holes through the pre-punched positions on the underside of the table top.
Turn the tabletop over so the top is facing up. Insert the long wood screws from below through the drill holes in the table top and attach the assembled unit consisting of the monitor bridge and side panels to the table top.
Screw the rack rails (L) with the help of the supplied wood screws (K) on the inside in parallel to the front edge of the side panels. We recommend a distance of approx. 1 cm from the front edge.

Montage Thon Studio Ext. Desk 3U curved
Put the connecting bolts into the drill holes provided in the monitor bridge (12 × connecting bolts) and the connector housings into the drill holes provided in the side panels (2 × connector housings each). Insert the cable feed-throughs into the recesses of the monitor bridge from above.
After insertion, the connecting bolts sit loosely in the drill holes and only spread apart when the connector housings on the associated component are tightened.
Put the six side panels on the connecting bolts of the monitor bridge and tighten the connector housings of the side panels clockwise to lock the connection with the inserted connecting bolts.
Turn the tabletop over so the bottom is facing up. Place pieces of wood under the drill holes to prevent the coating from cracking out when drilling. Using a 4mm bit, drill the twelve holes through the pre-punched positions on the underside of the table top.
Turn the tabletop over so the top is facing up. Insert the long wood screws from below through the drill holes in the table top and attach the assembled unit consisting of the monitor bridge and side panels to the table top.
Screw the rack rails (L) with the help of the supplied wood screws (K) on the inside in parallel to the front edge of the side panels. We recommend a distance of approx. 1 cm from the front edge.

Technical specifications
Thon Studio Producer Desk 1750
| Thon Studio Producer Top 1750 BK, graphite black | Item number 507338 |
| Thon Studio Producer Top 1750 WH, white | Item number 507336 |
| Thon Studio Producer Desk 1750 oak | Item number 507339 |
| Thon Studio Prod. Desk 1750 maple | Item number 528673 |
| Thon Studio Prod. Desk 1750 beech | Item number 528672 |
| Dimensions (W × H × D) | 1750 mm × 19 mm × 790 mm |
| Weight | approx. 17.3 kg |
Thon Studio Prod. Desk 1750 curved
| Thon Studio Prod. Desk 1750 curved, graphite black | Item number 507344 |
| Thon Studio Prod. Top 1750 W curved, white | Item number 507343 |
| Thon Studio Prod. Desk 1750 O curved, oak | Item number 507345 |
| Thon Studio Prod. Desk 1750 maple curved | Item number 528670 |
| Thon Studio Producer Desk 1750 Beech curved | Item number 528669 |
| Dimensions (W × H × D) | 1750 mm × 19 mm × 790 mm |
| Weight | approx. 15 kg |
Thon Studio Extension Desk 3U
| Thon Studio Extension Desk 3U BK, graphite black | Item number 507349 |
| Thon Studio Extension Desk 3U WH, white | Item number 507350 |
| Thon Studio Extension Desk 3U OAK | Item number 507351 |
| Thon StudioExt.Desk3UMaple straight, maple | Item number 528667 |
| Thon StudioExt.Desk3UBeech straight, beech | Item number 528679 |
| Dimensions (W × H × D) | 1580 mm × 159 mm × 324 mm |
| Weight | approx. 9.1 kg |
Thon Studio Ext. Desk 3U curved
| Thon Studio Ext. Desk 3U BK curved, graphite black | Item number 507358 |
| Thon Studio Ext. Desk 3U WH curved, white | Item number 507357 |
| Thon Studio Ext. Desk 3U oak curved | Item number 507359 |
| Thon Studio Ext.Desk3U Maple curved | Item number 528677 |
| Thon Studio Ext.Desk3U Beech curved | Item number 528674 |
| Dimensions (W × H × D) | 1750 mm × 159 mm × 324 mm |
| Weight | approx. 10.2 kg |
Accessories
| Roadworx Multi Electric Stand | Item number 491963 |
| Thon Studio Producer Drawer | Item number 507364 |
| Thon Studio Cable bridge | Item number 507362 |
| the t.racks Power 3 USB | Item number 437416 |
| the t.racks Power 8 | Item number 415280 |
Protecting the environment
Disposal of the packaging material
![]()
For the transport and protective packaging, environmentally friendly materials have been chosen that can be supplied to normal recycling.
Ensure that plastic bags, packaging, etc. are properly disposed of.
Do not just dispose of these materials with your normal household waste, but make sure that they are collected for recycling. Please follow the notes and markings on the packaging.
Notes
_______________
Thomann GmbH
Hans-Thomann-Straße 1
96138 Burgebrach Germany
Telephone: +49 (0) 9546 9223-0
Internet: www.thomann.de
13.02.2023, ID: 507338, 507336, 507339, … (V2)
















