
1100mm T-28
Operating Manual

Warning: This manual contains important information that will help you maintain and operate your model aircraft in a reliable and safe manner. Please read the instructions and warnings carefully prior to assembly, setup or use.
As this model aircraft is a sophisticated hobby product, it must be flown with safety and common sense in mind, failure in doing so may result in injury or property damage. This product is not intended for use by children without direct adult supervision.
Safety precautions and warnings
As the user, you are solely responsible for the safe operation and maintenance of this product. Follow the directions and warnings listed in this manual, as well as that of supporting equipment (chargers, batteries etc.) and always use common sense.
This is not a toy. Not for children under 14 years of age.
Always operate your model in an open area away from buildings, cars, traffic or people. Never operate near people-especially children who can wander unpredictably. Never operate in populated areas for any reason, where injury or damage can occur.
Always keep a safe distance in all directions around your model to avoid collisions or injury. This model is controlled by a radio signal subject to interference from many sources outside your control. Interference can cause momentary loss of control.
Never catch the aircraft while it is in flight, the structure of the fuselage was not designed and protected for this purpose.
Never operate your model in bad weather, including in excessively windy or precipitating conditions.
Never operate your model with low transmitter batteries.
Keep your throttle quadrant in its lowest position prior and after every flight. Use the throttle cut function if able.
Always use fully charged batteries and move batteries before disassembly.
Avoid water exposure to all equipment not specifically designed and protected for this purpose.
Avoid cleaning this product with chemicals.
Never lick or place any part of your model in your mouth as it could cause serious injury or even death.
Keep all chemicals, small parts and anything electrical out of the reach of children.
Introduction
The North American T-28 “Trojan”, a piston powered two seater trainer aircraft, was the last piston powered trainer to enter service with the United States Air Force and Navy. Designed in the 1950’s, this aircraft played a key role in helping pilots transition from basic trainers to jet aircraft.
The Arrows Hobby T-28 is one of the easiest flying aircraft on the market today. A beginner with basic flight experience could easily fly the T-28 with ease- without the assistance of a gyro system.
Featuring a realistic three bladed propeller, rivets, panel lines, landing gear doors and functional flaps, the T-28 looks as real as its full sized counterpart.
A powerful 40A ESC and 3536 KV850 power system provides more than adequate thrust whenever necessary.
The Arrows Hobby T-28 is a perfect aircraft for pilots transitioning from high winged aircraft and those who are looking for a scale aircraft that is easy to fly.
Features:
- High power-to-weight ratio.
- Realistic, scale details.
- Simple yet robust airframe.
- Easy assembly.
- No glue required.
- Environmentally friendly water-based paint.
Specifications
| Wingspan | 1100mm(43.3in) |
| Overall length | 915mm(36.0in) |
| Flying weight | ~ 1135g |
| Motor size | 3536-KV850 |
| Wing load | 56.75g/dm² (0.13oz/in²) |
| Wing area | 20dm² (310sq.in) |
| ESC | 40A |
| Servo | 9g Servo x 7 |
| Recommended battery | 11.1V 2200mAh 25C |
Kit contents
Before assembly, please inspect the contents of the kit. The photo below details the contents of the kit with labels. If any parts are missing or defective, please identify the name or part number (refer to the spare parts list near the end of the manual) then contact your local shop.
A.
B.
C.![]()
D.
E.
F.
G. ![]()
A: Fuselage D: Horizontal stabilizer spar G: Pushrods
B: Main wing E: Propeller and spinner set
C: Horizontal stabilizer F: Screws
Model assembly
Wing installation
- Insert all leads on the wing into the fuselage via the fuselage passthrough. Attach the wing onto the fuselage and ensure that the wires do not interfere with any of the servos.
- Secure the wing to the fuselage with included screws as shown. Do not over tighten the screws.


Horizontal stabilizer installation
- Slide the horizontal stabilizer spar into the slot near the rear of the fuselage.
- Install the two pieces (left and right) horizontal stabilizer as shown. Ensure the control horn faces down.
- Secure the two horizontal stabilizer pieces in placing using the included screws.


Pushrod installation
- Connect the elevator servo to the elevator using the included pushrod.
- Connect the rudder servo to the rudder using an included pushrod.

Propeller and spinner installation
- Assemble the propeller and spinner as shown below.
Note:The motor should rotate clockwise when viewing the plane from the rear.

Battery installation
- Remove the battery hatch.
- Remove the hook and loop tape from the fuselage. Apply the looped surface to the battery.
- Install the battery into the fuselage- securing it with the preinstalled battery straps.
Note: The weight of each battery may vary due to different manufacturing techniques. Move the battery fore or aft to achieve the optimal center of gravity.

Receiver diagram

The cables from the servo connector board should be connected to your receiver in the order shown. Note that the LEDs can be powered by any spare channel on the receiver. Tuck the wire leads into the recessed cavity towards the rear of the battery hatch.
Preflight check
Important ESC and model information
1. The ESC included with the model has a safe start. If the motor battery is connected to the ESC and the throttle stick is not in the low throttle or off position, the motor will not start until the throttle stick is moved to the low throttle or off position. Once the throttle stick is moved to the low throttle or off position, the motor will emit a series of beeps. Several beeps with the same tune means the ESC has detected the cells of the battery. The count of the beeps equals the cells of the battery. The motor is now armed and will start when the throttle is moved.
2. The motor and ESC come pre-connected and the motor rotation should be correct. If for any reason the motor is rotating in the wrong direction, simply reverse two of the three motor wires to change the direction of rotation.
3. The motor has an optional brake setting. The ESC comes with brake switched off and we recommend that the model be flown with the brake off. However, the brake could be accidentally switched on if the motor battery is connected to the ESC while the throttle stick is set at full throttle. To switch the brake off, move the throttle stick to full throttle and plug in the motor battery. The motor will beep one time. Move the throttle stick to low throttle or the off position. The motor is ready to run and the brake will be switched off.
4. Battery Selection and Installation. We recommend the 11.1V 2200mAh 25C Li-Po battery. If using another battery, the battery must be at least a 11.1V 2200mAh 25C battery. Your battery should be approximately the same capacity, dimension and weight as the 11.1V 2200mAh 25C Li-Po battery to fit the fuselage without changing the center of gravity significantly.
Preflight check
transmitter and model setup
After assembly and prior to your first flight, make sure all control surfaces respond correctly to your transmitter by referring to the diagram below.
Aileron | |
![]() | ![]() |
![]() | ![]() |
Elevator | |
![]() | ![]() |
![]() | ![]() |
Rudder | |
![]() | ![]() |
![]() | ![]() |
Control throws
The suggested control throw setting for the T-28 are as follows (dual rate setting):
Tip: The maiden flight should always be flown using low rates, fly the aircraft until you are familiar with its characteristics prior to trying high rates. Make sure the aircraft is flying at altitude and adequate velocity prior to using high rates, as the aircraft will be sensitive to control inputs with the larger control surface movements.
High Rate | Low Rate | |
| Elevator | 12mm up / down | 8mm up / down |
| Aileron | 16mm up / down | 10mm up / down |
| Rudder | 20mm left / right | 16mm left / right |
Clevis installation
- Pull the tube from the clevis to the linkage.
- Carefully spread the clevis, then insert the clevis pin into the desired hole in the control horn.
- Move the tube to hold the clevis on the control horn.
a.
b.
c.
d.
e.
f.
Control horn and servo arm settings
- The table shows the factory settings for the control horns and servo arms. Fly the aircraft at the factory settings before making changes.
- After flying, you may choose to adjust the linkage positions for the desired control response.
| Horns | Arms |
| Elevator | ![]() | ![]() |
Aileron | ![]() | ![]() |
| Rudder | ![]() | ![]() |
More control throw |
![]() |
Less control throw |
![]() |
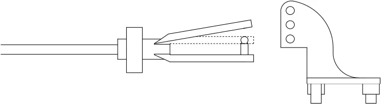
Finding the center of gravity

![]()
Finding the correct center of gravity is critical in ensuring that the aircraft performs in a stable and responsive manner. Please adjust the weight distribution so the aircraft balances in the range stated on the diagram.
- Depending on the capacity and weight of your chosen flight batteries, move the battery forward or backward to adjust the center of gravity.
- If you cannot obtain the recommended CG by moving the battery to a suitable location, you can also install a counterweight to achieve correct CG. However, with the recommended battery size, a counterweight is not required. We recommend flying without unnecessary counterweight.
Before flying the model
Find a suitable flying site
Find a flying site clear of buildings, trees, power lines and other obstructions. Until you know how much area will be required and have mastered flying your plane in confined spaces, choose a site which is at least the size of two to three football fields – a flying field specifically for R/C planes is best. Never fly near people – especially children, who can wander unpredictably.
Performing a range check
A radio range check should be performed prior to the first flight of the day. This test may assist you in detecting electronic problems that may lead to a loss of control- problems such as low transmitter batteries, defective or damaged radio components or radio interference. This usually requires an assistant and should be done at the flying site.
Before flying the model
Always turn your transmitter on first. Install a fully charged battery in the battery bay, then connect it to the ESC. In this process, make sure that the throttle cut functionality is on, and that the throttle stick is secured in its lowest position- otherwise, the propeller/fan will engage and possibly cause bodily harm.
Note: Please refer to your transmitter manual that came with your radio control system to perform a ground range check. If the controls are not working correctly or if anything seems wrong, do not fly the model until you correct the problem. Make certain all the servo wires are securely connected to the receiver and the transmitter batteries have a good connection.
Monitor your flight time
Monitor and limit your flight time using a timer (such as a stopwatch or on the transmitter, if available). As modern Lithium Polymer batteries are not designed to discharge completely, when the battery runs low, the ESC will lower then completely cut the power to the motors to protect the battery.Often (but not always) power can be briefly restored after the motor cuts off by holding the throttle stick all the way down for a few seconds.To avoid an unexpected dead-stick landing on your first flight,set your timer to a conservative 4 minutes. When your alarm sounds you should land right away.
Flight tips
Take off
Point the aircraft into the wind while slowly applying power until the aircraft starts to track straight, use the rudder when necessary. When the aircraft reaches takeoff speed, ease back on the elevator stick until the aircraft is climbing at a constant rate without decelerating. Climbing at too steep of an angle at the relatively low speeds of a takeoff-climb may result in an aerodynamic stall.
Flying
Always choose a wide-open space for flying your plane. It is ideal for you to fly at a sanctioned flying field. If you are not flying at an approved site always avoid flying near houses, trees, wires and buildings. You should also be careful to avoid flying in areas where there are many people, such as busy parks, schoolyards, or soccer fields. Consult laws and ordinances before choosing a location to fly your aircraft. After takeoff, gain some altitude. Climb to a safe height before trying technical manoeuvres.
Landing
Land the aircraft when you start to feel sluggish motor response. If using a transmitter with a timer, set the timer so you have enough flight time to make several landing approaches.The model’s three point landing gear allows the model to land on hard surfaces. Align model directly into the wind and fly down to the ground. Fly the airplane down to the ground using 1/4-1/3 throttle to keep enough energy for proper flare. Before the model touches down, always fully decrease the throttle to avoid damaging the propeller or other components. The key to a great landing is to manage the power and elevator all the way to the ground and set down lightly on the main landing gear. With some practice, you will be able to set the aircraft gently on its main gear and hold it that way until the speed reduces enough where the nose wheel (tricycle landing gear aircraft) or tail wheel (tail draggers) settles onto the ground.
Maintenance
Repairs to the foam should be made with foam safe adhesives such as hot glue, foam safe CA, and 5min epoxy. When parts are not repairable, see the spare parts list for ordering by item number.
Always check to make sure all screws on the aircraft are tightened. Pay special attention to make sure the spinner is firmly in place before every flight.
Troubleshooting
Problem | Possible Cause | Solution |
| Aircraft will not respond to the throttle but responds to other controls. |
|
|
| Excessive vibration or propeller noise. |
|
|
| Reduced flight time or aircraft underpowered. |
|
|
| Control surfaces unresponsive or sluggish. |
|
|
| Controls reversed. |
|
|
| Motor loses power Motor power pulses then motor loses power. |
|
|
| LED on receiver flashes slowly. |
|
|
Spare parts list
| AHAC101 | Fuselage | AHRE002 | E-retract |
| AHAC102 | Main wing set | AHPROP003 | Propeller |
| AHAC103 | Horizontal stabilizer | AHMount001 | Motor Mount |
| AHAC104 | Cockpit | AHShaft001 | Motor Shaft |
| AHAC105 | Cowl | AHBoard003 | Motor Board |
| AHAC106 | Spinner | AHKV850 | 3536-KV850 Motor |
| AHAC107 | Front Landing Gear Se | AHESC40A | 40A ESC(200mm input cable) |
| AHAC108 | Main Landing Gear Se | AHSER9G54P | 9g servo 54 degree |
| AHAC109 | Front Landing Gear System | AHSER9GP | 9g servo positive |
| AHAC110 | Main Landing Gear System | AHSER9GR | 9g servo reverse |
| AHAC111 | Linkage Rod | ||
| AHAC112 | Horizontal stabilizer spar | ||
| AHAC113 | Screw set | ||
| AHAC114 | Decal Sheet | ||
| AHAC115 | Front landing gear housing | ||
| AHAC116 | Main landing gear housing |
Water decal instructions
- Put the decal in water to bring it to full absorption.
- Carefully remove the decal from the backing paper and apply it on the corresponding position of the airframe (it would be helpful to wet the corresponding position of the airframe to adjust the decal).
- Soak up the excess water with tissue, squeeze out air slowly, and wait for drying.

Disclaimer of Warranties:
– This model must not be used by children younger than 14 years
– It contains small parts that could be swallowed
– Keep hands, face, hair and loose clothing away from the propeller
– Do not reach into rotating parts
– Always disconnect the battery connector after the flight and remove the battery
– Only fly where it is safe and where you do not endanger third parties
– Keep the operating instructions in a save place and read them carefully and completely before using the model.
– We recommend people with no knowledge of model flying to commission the model under the guidance of an experienced pilot
– Before each flight, test the range of the remote control and the charge status of the rechargeable battery and check the batteries or rechargeable batteries in the remote control.
Do not fly…
– near crowds of people,
– towards people or animals,
– in poor visibility,
– near high-voltage lines or radio masts
– during thunderstorms, rain, snow or in a damp environment.
- Always keep the aircraft in sight and under control.
- Always use fully charged batteries / rechargeable batteries.
- Always switch on model first, then transmitter, and always switch off model first, followed by the transmitter.
- Do not use the model if it is visually or mechanically damaged.
- Always check all screw connections and structures for tightness and damage
- Never reach into the rotating propeller – risk of injury!
- Always disconnect and remove the flight battery from the model after the flight.
- Always charge and store the battery outside of the model, charge on a non-flammable surface, never store the battery in the model. Never charge batteries unobserved!
Check about the legal provisions applicable in your country

MSG ONLINE GMBH
Radio Equipment Directive (RED) 2014/53/EU
Declaration of Conformity in accordance with the Radio Equipment Directive (RED) 2014/53/EU
I hereby declare that the product: Arrows T-28 Trojan powered by MODSTER
Product number: 280324 (EAN: 4260668082435)
Complies with the essential requirements and the other relevant provisions of the Directive (RED) 2014/53/EU, when used for its intended purpose.
Manufactured in accordance with the following harmonised standards:
EN 62479:2010
EN 301 489-1 V2.1.1 (2017-02)
EN 301 489-3 V2.2.1 (2017-03)
EN 62311 Version 2008
EN 300 440 V2.1.1 (2017-03)
Manufacturer/ responsible Person: MSG Online GmbH, Walter Bittdorfer
Wirtschaftspark 9
8530 Deutschlandsberg, Austria

Walter Bittdorfer
managing director
place of issue/ date: Deutschlandsberg (Austria), 30.09.2021

MSG ONLINE GMBH
WIRTSCHAFTSPARK 9
A-8530 DEUTSCHLANDSBERG
FIRMENBUCH GRAZ FN3152307 • UID-NR. ATU 64361513
EVA-PARTNERNUMMER: 152216
ARA LIZENZNUMMER: 17749 • GRS NUMMER: 110072576
INTERSEROH HERSTELLER ID (EAR): 152204
WEE REG.-NR. DE 44576630






































