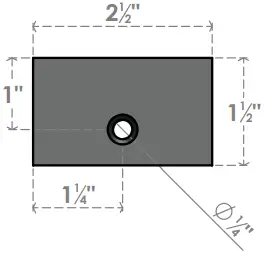
BKTM02X10X01HFPBL


Side

Front

Top

Back

Isometric
NOTES
- INSTALLATION TO BE COMPLETED IN ACCORDANCE WITH MANUFACTURER’S SPECIFICATIONS.
- DRAWING MAY NOT BE TO SCALE
- THIS DRAWING IS INTENDED FOR DESIGN AND PLANNING PURPOSES ONLY.
- ALL INFORMATION CONTAINED HEREIN WAS CURRENT AT THE TIME OF DEVELOPMENT BUT MUST BE REVIEWED AND APPROVED BY THE PRODUCT MANUFACTURER TO BE CONSIDERED ACCURATE.

EKENA MILLWORK
2300 WEST MAIN ST.
CLARKSVILLE, TX 75426
TOLL FREE: 866-607-0453
WWW.EKENAMILLWORK.COM



















