TRIAX UFO 170 Active Digital Antenna

Mounting instruction
Connection cable and assembly
Use Class A or A+ high shielded coaxial cable only.
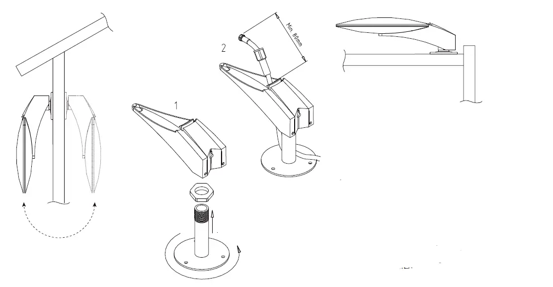
Mount UFO on base
- Push forward
- Push down
- Ensure that the UFO shells are fully mated with the bracket
- Secure with enclosed screws


Mounting options on vertical or horizontal surface
Positioning the antenna:
Assemble brackets and desk mount.
Positioning the antenna and mark off holes for fixing.
Mounting on mast.
Mounting with universal mount 
Mounting with centre mount (optional accessory for UFO 170)
Positioning the antenna:
Centre mounting bracket and deck mount. Position the antenna and mark off holes for fixing.
Positioned antenna and counter nut fixed.
Troubleshooting guide
| Problem | Possible root cause | Solution |
| Weak or missing signal | Often this is caused by a short or a missing connection in the coax cable or the cable connectors. | Remove the cable from the PSU/ power inserter. If the LED lights up, there is a short in the cable. Repair or replace the cable. |
| Check LED on PSU/power inserter (optional accessory IFP XXX) | If the LED lights up on the PSU/ power inserter but not on the UFO, there is possibly a missing connection in the cable or connectors. | |
| Check LED on UFO antenna | If the LED is still on, repair or replace cable and/or connectors. | |
| If the LED is still off, replace the PSU/power inserter. | ||
| Interference | Interference is often caused by electronic equipment – mobile phones, computers, tablets or transmitters being used in close proximity to the UFO. | Increase the distance to the interfering source of possible.
Increase the height of the UFO in order to improve signal reception. |
| Pixelation and missing audio | Pixelation and missing audio is often caused by electronic equipment – mobile phones, computers, tablets or transmitters being used in close proximity to the UFO. | Increase the distance to the interfering source of possible.
Increase the height of the UFO in order to improve signal reception. |
| Ghosting; double pictures (analog signal only) | Ghosting is caused by the TV signal being reflected from buildings, large ships etc. | Change position a few meters will often solve the problem. |
Application examples
Technical data
| Type | UFO 170 Digital | |
| Art. No. | 109170 | |
| Frequency range FM | MHz | 87.5-108 |
| DAB/VHF | MHz | 174-300 |
| UHF MHz 470-694 Channels FM/DAB/DAB+/5-12/21-48 Elements stk. 1 Opening angle ver./hor. deg. 90/360 Windload N 5.5 Gain VHF/UHF dB 28/27 Noise figur dB 3.0 Max. output voltage VHF/UHF dBµV 107/104 Supply voltage V 5-24 Power consumption mA 45 Dimensions length mm 325 width mm 255 height mm 65 Connector F-conn Included Mast bracket Ø25-60 Plastic base Universal mount | ||
Accessories

For further information and updated manuals go to
triax.com/support





















