ELECTRIC 61369 Adjustable Steel Welding Table
Owner’s Manual

Visit our website at: http://www.harborfreight.com
Email our technical support at: [email protected]
Owner’s Manual & Safety Instructions
Save This Manual Keep this manual for the safety warnings and precautions, assembly, operating, inspection, maintenance, and cleaning procedures. Write the product’s serial number in the back of the manual near the assembly diagram (or month and year of purchase if the product has no number). Keep this manual and the receipt in a safe and dry place for future reference.
When unpacking, make sure that the product is intact and undamaged. If any parts are missing or broken, please call 1-888-866-5797 as soon as possible
© Copyright 2021 by Harbor Freight Tools.
. All rights reserved.
No portion of this manual or any artwork contained herein may be reproduced in any shape or form without the express written consent of Harbor Freight Tools. Diagrams within this manual may not be drawn proportionally. Due to continuing improvements, the actual product may differ slightly from the product described herein. Tools required for assembly and service may not be included.
WARNING
Read this material before using this product. Failure to do so can result in serious injury. SAVE THIS MANUAL.
Specifications
| Table Top Dimensions | 30″ x 19-7/8″ |
| Table Height | 32-7/8″ |
| Maximum Weight Capacity | 350 lb |
IMPORTANT SAFETY INFORMATION
Assembly Precautions
- Assemble only according to these instructions. Improper assembly can create hazards.
- Wear ANSI-approved safety goggles and heavy-duty work gloves during assembly.
- Keep the assembly area clean and well-lit.
- Keep bystanders out of the area during assembly.
- Do not assemble when tired or when under the influence of alcohol, drugs or medication.
- Weight capacity and other product capabilities apply to properly and completely assembled products only.
Use Precautions
- This product is not a toy. Do not allow children to play with or near this item.
- Use as intended only. Do not sit or stand at the Table.
- Inspect before every use; do not use if parts are loose or damaged.
- Use only on flat, level, hard surfaces.
- Do not exceed the listed weight capacity. Tighten all knobs securely before applying load. Be aware of dynamic loading! The sudden load movement may briefly create excess load causing product failure.
- Maintain product labels and nameplates. These carry important safety information. If unreadable or missing, contact Harbor Freight Tools for a replacement.
Assembly Instructions
Read the ENTIRE IMPORTANT SAFETY INFORMATION section at the beginning of this document including all text under subheadings therein before set up or use of this product.
Note: For additional information regarding the parts listed in the following pages, refer to the Assembly Diagram near the end of this manual. Unwrap and separate all parts on a clean work area.
Vertical Post–Angle Bracket Assembly
Attach the two Angle Brackets (6) to the Vertical Posts (20) using one Washer (7), Nut (8), and Bolt (9) per Post-Bracket assembly. See Figure A.
For technical questions, please call 1-888-866-5797.
Support Leg Assembly
Attach the two Vertical Post-Angle Bracket assemblies from the previous step to the two Support Legs (13) using four Washers (7), Nuts (8) and Bolts (12). See Figure B.
Tool Hanger – Support Brace – Angle Handle Assembly
For technical questions, please call 1-888-866-5797.
- Attach the Tool Hanger (16) to the Support Leg which has four threaded holes using four Bolts (15). See Figure C.
- Attach the Support Brace (21) to the Vertical Posts using two Washers (7), Nuts (8) and Bolts (22). See Figure C.
- Insert a Bolt (12) through the back of each of the two Angle Adjustment Handles (10). Slide a Washer (11) over each Bolt with the cupped side of the Washer against the
Handle. Insert the Bolts through the Angle Brackets and thread into the nut welded to the Vertical Post. See Figure C.
Table Top Bracket Assembly
Attach the two Table Top Brackets (4) to the bottom of the Table Top (1) using four Washers (2), Nuts (5), and Bolts (19). Note that the Washers are placed between the Table Top and the Table Top Brackets. See Figure D.
Attaching the Table Top
For technical questions, please call 1-888-866-5797.
The two Angle Brackets each have five positive stop positions which allow the Table Top, once attached, to be positioned at five different angles. Prior to attaching the Table
Top, ensure that the Brackets are set in the middle position and that the Angle Adjustment Handles are tightened securely. See Figure E.
- With assistance, lift the Table Top and place in position over the upright table stand.
- Insert four Bolts (3) through the Angle Brackets and Table Top Bracketsand secure in place using four Washers (7) and Nuts (8). Tighten all hardware. See Figure E.
Installing the Guide Rails
- Place four Washers (2) on the shafts of the four Lever Bolts (17).
- Attach the Short Guide Rail (23) and the Long Guide Rail (18) in the desired position on the Table Top using the four Lever Bolts and Washers. See Figure F.
Maintenance
Inspection, Maintenance, and Cleaning
- BEFORE EACH USE, inspect the general condition of the Welding Table. Check for:
• loose hardware
• misalignment or binding of parts
• cracked or broken parts
• any other condition that may affect its safe operation. - AFTER USE, wipe external surfaces of the Table with a clean cloth.
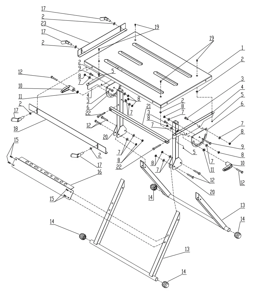
Parts List and Diagram
PLEASE READ THE FOLLOWING CAREFULLY
THE MANUFACTURER AND/OR DISTRIBUTOR HAS PROVIDED THE PARTS LIST AND ASSEMBLY DIAGRAM IN THIS DOCUMENT AS A REFERENCE TOOL ONLY. NEITHER THE MANUFACTURER NOR DISTRIBUTOR MAKES ANY REPRESENTATION OR WARRANTY OF ANY KIND TO THE BUYER THAT HE OR SHE IS QUALIFIED TO MAKE ANY REPAIRS TO THE PRODUCT, OR THAT HE OR SHE IS QUALIFIED TO REPLACE ANY PARTS OF THE PRODUCT. IN FACT, THE MANUFACTURER AND/OR DISTRIBUTOR EXPRESSLY STATES THAT ALL REPAIRS AND PARTS REPLACEMENTS SHOULD BE UNDERTAKEN BY CERTIFIED AND LICENSED TECHNICIANS, AND NOT BY THE BUYER. THE BUYER ASSUMES ALL RISK AND LIABILITY ARISING OUT OF HIS OR HER REPAIRS TO THE ORIGINAL PRODUCT OR REPLACEMENT PARTS THERETO OR ARISING OUT OF HIS OR HER INSTALLATION OF REPLACEMENT PARTS THERETO.
Parts List
| Part | Description | Qty |
| 1 | Table Top | 1 |
| 2 | Washer Ø6.5 x 1.5 mm | 8 |
| 3 | Bolt M8 x 20 mm | 4 |
| 4 | Table Top Bracket | 2 |
| 5 | Nut M5 mm | 8 |
| 6 | Angle Bracket | 2 |
| 7 | Washer Ø8.5 x 1.2 mm | 12 |
| 8 | Nut M8 mm | 12 |
| 9 | Bolt M8 x 45 mm | 2 |
| 10 | Angle Adjustment Handle | 2 |
| 11 | Washer Ø8.5 x 1.8 mm | 2 |
| 12 | Bolt M8 x 50 mm | 6 |
| 13 | Support Leg | 2 |
| 14 | Plastic Foot | 4 |
| 15 | Bolt M6 x 20 mm | 4 |
| 16 | Tool Hanger | 1 |
| 17 | Lever Bolt M6 x 12 mm | 4 |
| 18 | Long Guide Rail | 1 |
| 19 | Bolt M5 x 10 mm | 4 |
| 20 | Vertical Post | 2 |
| 21 | Support Brace | 1 |
| 22 | Bolt M8 x 65 mm | 2 |
| 23 | Short Guide Rail | 1 |
Record Serial Number Here:
Note: If the product has no serial number, record the month and year of purchase instead.
Note: Some parts are listed and shown for illustration purposes only, and are not available individually as replacement parts. Specify UPC 792363613699when ordering parts.
Assembly Diagram
Limited 90 Day Warranty
Harbor Freight Tools Co. makes every effort to assure that its products meet high quality and durability standards, and warrants to the original purchaser that this product is free from defects in materials and workmanship for the period of 90 days from the date of purchase. This warranty does not apply to damage due directly or indirectly, to misuse, abuse, negligence or accidents, repairs or alterations outside our facilities, criminal activity, improper installation, normal wear, and tear, or to lack of maintenance. We shall in no event be liable for death, injuries to persons or property, or for incidental, contingent, special or consequential damages arising from the use of our product. Some states do not allow the exclusion or limitation of incidental or consequential damages, so the above limitation of exclusion may not apply to you.
THIS WARRANTY IS EXPRESSLY IN LIEU OF ALL OTHER WARRANTIES, EXPRESS OR IMPLIED, INCLUDING THE WARRANTIES OF MERCHANTABILITY AND FITNESS.
To take advantage of this warranty, the product or part must be returned to us with transportation charges prepaid. Proof of purchase date and an explanation of the complaint must accompany the merchandise. If our inspection verifies the defect, we will either repair or replace the product at our election or we may elect to refund the purchase price if we cannot readily and quickly provide you with a replacement. We will return repaired products at our expense, but if we determine there is no defect, or that the defect resulted
from causes not within the scope of our warranty, then you must bear the cost of returning the product. This warranty gives you specific legal rights and you may also have other rights which vary from state to state.
26541 Agoura Road
Calabasas, CA 91302
1-888-866-5797



















