WINTORY AIR wireless headset

Thanks for choosing WINTORY AIR wireless headset. To ensure that you can use this product properly, please read this users’ manual carefully.
Product Introduction
WINTORY AIR is 2.4GHz wireless over-ear headset which supports Windows/IOS and other systems.
WINTORY AIR mainly contains an USB dongle (signal projector) and a wireless headset (signal receiver). It also has a 3.5mm LINE-IN audio cable, a detachable mic and a Type-C charging cable.

- Wireless headset
- Detachable Microphone
- Type-C charging cable
- USB Dongle
- 3.5mm LINE-IN audio cable (for wired connection if needed)
Technical Parameters
MIC | Size | Ø4.0 x 1.5mm |
| Sensitivity | -38dB ± 3dB | |
| Directivity | Omnidirectional | |
| Impedance | ≤ 2.2KΩ | |
Speaker | Size | Ø40mm |
| Sensitivity | 115 ± 3dB | |
| Impedance | 32Ω + 15% | |
| Frequency Response | 20Hz ~ 20KHz | |
| Battery Capacity | 1000mAh | |
| Audio Plug | 3.5mm 4-pin plug | |
| Frequency | 2.4G | |
| Net Weight | about 282g | |
| USB Dongle | 10g | |
| Effective Distance | Max.10meters (Depending on the environment) | |
| Charging Time | About 3 hours | |
| Playing Time | Up to 15 hours | |
Operation Instructions
- Connection
a. Plug the USB dongle into your device. Use an USB adapter if needed (USB adapter is not included in the package). Then the LED indicator on the USB dongle should flash into blue.
b. Long press the power button on the headset for 3 seconds to turn on the headset. Then the USB dongle and the headset will connect with each other automatically, and the LED indicator on the USB dongle turns solid which indicate successful connection.
c. Please insert the detachable mic if needed.
Note: when inserting the mic, please make sure it is inserted completely at the right angle, then turn the mic rod 90° clockwise to lock the mic. Turn the mic rod 90° anticlockwise first if you want to remove the mic. - Headset buttons and jack ports
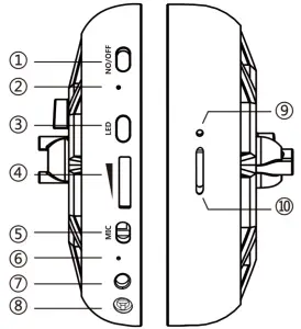
➀ Power on/off: Long press for 3 seconds to turn the headset on/off.
➁ Reset hole: When the headset got halted or cannot be turned off, insert a pin into this hole and the internal button will be triggered to reset and turn off.
➂ Light on/off: Click once to turn off the light, and click again to turn on the light.
➃ Volume controller: scroll up to increase the volume, scroll down to decrease the volume.
➄ MIC on/off: click once to turn off the MIC, click again to turn on the MIC.
➅ 2.4G working indicator: When the headset is turned on and not connected, the blue indicator flashes every 2 seconds; when the headset is connected with USB Dongle, the blue indicator keeps on.
➆ 3.5mm jack: when the headset is connected to the audio cable, it automatically switches to the LINE of wired mode.
➇ 2.5mm microphone jack: the microphone is detachable. (Note: when inserting the mic, please make sure it is inserted completely at the right angle, then turn the mic rod 90° clockwise to lock the mic. Turn the mic rod 90° anticlockwise first if you want to remove the mic. Do not remove the mic violently. )
➈ Charging indicator: red when charging, green when fully charged, and yellow when battery is low.
➉ Type-C charging port: A Type-C plug is needed to charge.
Note: The headset cannot be turned on normally when battery is low.
- Mic on/off
There is a button marked with MIC on the headset. Press it once to turn off the MIC, and press again to turn on the MIC. When mic is on, the blue indicator at the end of the mic rod is on, which indicates that the mic is working. - Charging
When the headset is connected to power through the Type-C charging cable, it will be charged automatically, and the indicator is on in red. When it is fully charged, the indicator goes green. If the indicator is in yellow, it means the battery is low. Please charge in time. - Low Battery Alarm
When the battery is low, the headset makes a warning sound like “di di di” in every 10 seconds, and turns off automatically after making warning sound for 2 minutes. Note: The headset cannot be turned on normally when battery is low. - USB Dongle and Headset Pairing
The wireless headset and USB dongle is paired already before shipping out. But if repair is needed or the headset needs to pair with a new USB dongle, please follow the steps below.
a. Turn on the headset, then long press the MIC button for 3 seconds to enter code matching state (the blue indicator will flash quickly).
b. Connect the USB dongle to an USB port of computer, it will pair with the headset automatically. And when the indicators on both headset and USB dongles turn solid, the pairing is successfully. (There is a prompt like “dong dong” from the headset when pairing succeeds) - Using with Computer
Using with PC
➀ Connect the USB dongle to an USB port on the computer.
➁ Power on the headset.
➂ When the LED indicator on the USB dongle turns solid, the headset is connected to the computer successfully.
Follow the configuration steps below to make sure the headset can be used correctly. Right click on the Speaker icon at the bottom right of the desktop, choose Sound, then a dialog box will pop up. Click Playback and Recording, set “2.4G Wireless USB Audio Device” as default (See picture 1 and 2 below). Then you can use the wireless headset to enjoy music from your computer freely.
- Using with PS4™

Connect the USB dongle to an USB port on the PS4™.
Power on the headset.
When the LED indicator on the USB dongle turns solid, the headset is connected to the PS4TM successfully.
Follow the configuration steps below to make sure the headset can be used correctly. Go to Settings in PS4TM main menu, choose Device > Audio Devices, set USB Headset (2.4G Wireless USB Audio Device) as both Input Device and Output Device, set Output to Headphones to All Audio, then set Volume Control (Headphones) to 100% volume.
Package Content
- Wireless headset * 1
- USB Dongle * 1
- Detachable Microphone *1
- 3.5mm LINE-IN audio cable * 1
- Type-C charging cable * 1
- User Manual * 1
Precautions (Warning!)
- The maximum input voltage for charging is 5.25V. In order to protect your legal rights and interests, please use a qualified charger with a nominal voltage of 5V and over 1A output current.
- When the battery runs out, please do not leave it for a long time. When not using for a long time, please fully charge the headset.
- Please try the correct direction and strength when inserting the microphone rod to prevent damaging the microphone interface on the headset.
- There is no components that can be disassembled inside the headset.
Trouble-shootings
Please check the following troubleshooting before sending the headset back for repair.
| Problems | Probably cause | Solutions |
| Headset cannot turn on | low battery | charge the headset fully |
| something wrong with chip set | restore the factory default settings | |
| 2.4G AIR headset cannot be detected in your system | USB dongle or USB adapter is not connected properly, or poor contact | connect to another USB port to try again |
| 2.4G AIR headset is not the defaulted audio device in your system | set 2.4G AIR headset the defaulted audio device in your system | |
| Unrecognized USB device | USB port is in bad contact | connect to another USB port to try again |
| Noises in headset | USB port is incompatible or interfered | connect to another computer or USB port to try again |
| No mic function during talking | Mic is muted | press the mic on/off button to turn mic on |
| 2.4G AIR headset is not the defaulted audio device in your system | set 2.4G AIR headset the defaulted audio device in your system and install driver correctly | |
| Short working distance | USB adapter is not used | use an USB adapter to connect the USB dongle |
| low battery | charge the headset | |
| there is barrier between headset and USB dongle | try to keep away from barrier, like big structural pillar of house | |
| Sound cuts in and out | Headset is of low battery | charge the headset fully |
| the distance between headset and USB dongle is too far or there is obstruction/ interference like wifi resulting in unstable signal | reboot the headset, fully charge it and try again where without signal interference |
| Sound Delays | Headset is of low battery | charge the headset fully |
| Battery does not last as long a s described | the electric quality of the new headset is not activated to maximization | battery a few more time. (actual use time is affected by many factors like volume level, distance of connection, strength of signal…, so actual use time depends on the usage methods and strength) |
Warm prompt!
- The product is compatible with current mainstream operating platforms, including Microsoft win7, win8, win10 32-bit and 64-bit operating systems, Apple MAC operating system and PS4. XP system is not supported.
- In case of any problem during use, like part damage or incompatibility, please ask a qualified technician to repair the product or contact our after-sales service team for help.
- Operation buttons on the headset and LED light do not work in wired connection. When connected via 3.5mm audio cable, neither volume can be adjusted through the volume roller nor can mic be turned off through the mute button.
- If there is no signal over 5 minutes (like music paused) or if the USB dongle is pulled out over 5 minutes, the headset will turn off automatically.
- When the headset needs to match with a new dongle, press the mute button and hold for 3 seconds in power-on status to enter code matching mode, the indicator on headset will flash quickly into blue. Then plug the USB dongle into computer. When the indicators on both headset and dongle keep on in blue, it means the headset is successfully matched with the new USB dongle. (There will be also a prompt like “dong dong” when paring succeeds.)






















