TELTONIKA TSW110 Switch 5-Port Gigabit Ethernet
HARDWARE
FEATURES
ETHERNET
- LAN ports, 10/100/1000 Mbps, compliance with IEEE 8023, IEEE 802.3u, 802.3az standards, supports auto MDiUMDIX AN
PERFORMANCE SPECIFICATIONS
- bandwidth (Non-Blocking) 10 Gbps
- Packet buf 128 NB
- MAc address table size 2K entries
- connector 4 pin industrial Dc power socket
- input voltage range 9-30 VDC, reverse polarity protection, voltage surge/transient protection
- PoE. passive POssibility to power up through LAN port, not compatible with IEEEBU2.3at, 802.3at, and 802.3bt standards
- power consumption idle/max) 0.4 WI <1.8 W
PHYSICAL INTERFACES (PORTS, LEDS)
- EtnE 5x Rj4s ports, 10/100/1000 Mbps
- Ludus 1x power LEDs
- Power 1×4 10 x LAN status LED’S
- Ground 1x pin DC connector
PHYSICAL SPECIFICATION
- Casing material Full aluminum housing
- Dimensions (W x H x D) 100 x 30 x 85 mm
- Weight 227 g
- Mounting options DIN rail or wall mounting (additional kit needed), flat surface placement
OPERATING ENVIRONMENT
- Operating temperature -40 C to 75 C
- Operating humidity 10 % to 90 % non-condensing
HARDWARE INSTALLATION
- Connect your main internet router/modem to TSW110 LAN port number 1.
- connect end devices (ex. Industrial PC, printers, IP phones, laptops) to TSW110 2 to 5 port.
- Connect 4 pin power plug to TSW110 to power up switch.
TECHNICAL INFORMATION
| Technical specifications | ||
| Input voltage range | 9 – 30 VDC | |
| Max power consumption | <1.8 W | |
| Bundled accessories specifications* | ||
| Power adapter | Input: 0.4 A @100-240 VAC, Output: 9 VDC, 1 A, 4 pin plug | |
WHAT’S IN THE BOX?

THE STANDARD PACKAGE CONTAINS
- TSW110
- 9 W PSU
- QSG (Quick Start Guide)
- Packaging box
For all standard order codes standard package contents are the same, execpt for PSU.
STANDARD ORDER CODES
PRODUCT CODE
- TSW110000000
- TSW110000010
HS-CODE
- 851762
- 851762
HTS CODE
- 8517.62.00
- 8517.62.00
PACKAGE CONTAINS
- Standard package with Euro PSU
- Standard package with US PSU
MOUNTING OPTIONS DIN
DIN RAIL KIT
- DIN Rail adapter
- Philips Pan Head screw #6-32×3/16, 2pcs for RUT2xx/RUT9xx
COMPACT DIN RAIL KIT
DIN RAIL KIT
- Compact plastic DIN Rail adapter (70x25x14,5mm)
- Philips Pan Head screw #6-32×3/16, 2pcs
SURFACE MOUNTING KIT
- Surface mounting kit

- Philips Pan Head screw #6-32×3/16, 2pcs
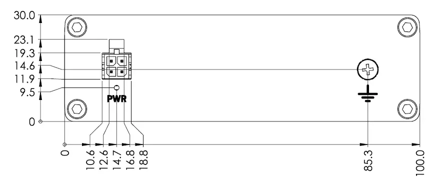
TSW110 SPATIAL MEASUREMENTS & WEIGHT
MAIN MEASUREMENTS
TOP VIEW
The figure below depicts the measurements of TSW110 and its components as seen from the top:
RIGHT VIEW
The figure below depicts the measurements of TSW110 and its components as seen from the right side:
FRONT VIEW
The figure below depicts the measurements of TSW110 and its components as seen from the front panel side:
REARVIEW
The figure below depicts the measurements of TSW110 and its components as seen from the back panel side:
MOUNTING SPACE REQUIREMENTS
The figure below depicts an approximation of the device’s dimensions when cables and antennas are attached:
DIN RAIL
The scheme below depicts protrusion measurements of an attached DIN Rail
TELTONIKA TSW110 Switch 5-Port Gigabit Ethernet
























