3 Light Weathered Brass Vanity Light
Installation Guide
SAFETY INFORMATION
Please read and understand this entire manual before attempting to assemble, install or operate the product.
WARNING
- RISK OF ELECTRIC SHOCK – Before beginning installation, turn off electricity at the circuit breaker box or the main fuse box.
- RISK OF FIRE – Use bulbs specified by the markings and/or labels on the fixture.
CAUTION
- For your safety, read instructions completely before beginning installation.
- If in doubt about electrical installation, consult a licensed electrician.
- Turn off electricity to fixture before replacing the bulb(s).
TOOLS REQUIRED

CARE AND MAINTENANCE
- Wipe clean using soft, dry cloth or static duster. Always avoid using harsh chemicals and abrasives to clean fixture as they may damage the finish.
- If you need further assistance call Quoizel Customer Care at 1-800-645-3184 (9:00am – 5:00pm EST), or visit us on-line at www.quoizel.com.
PACKAGE CONTENTS

MOUNTING HARDWARE

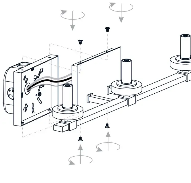
INSTALLATION
![]() | ![]() |
| Install Inner Backplate | Wiring |
![]() | ![]() |
| Install Fixture Body | Install Glass Shades and Bulbs Install three correct bulbs referring to fixture markings and/or labels for maximum wattage. |
Your installation is now complete! Restore electricity and save this sheet for future reference.





















