SCORPION AUTOMOTIVE S37 S Series

INTRODUCTORY NOTE
Please read the present manual carefully to familiarize yourself fully with the alarm system features and operating procedures and do keep it handy for future reference.
NB: Optional remote controls are available to operate the alarm system and the CDL, only where negative CDL connection is available (see par. 2.0 PINOUT TABLES).
The following symbols are included in the present Manual to emphasize important instructions:
For the installer. This sign indicates that the system will work according to the connections and the programming selected or it simply provides useful installation tips.
PINOUT TABLES
20-PIN CONNECTOR
WHITE-ORANGE wire must ALWAYS be connected if system is to arm/disarm via the turn indicators.
8-PIN CONNECTOR
WIRING DIAGRAM
TURN INDICATORS WIRING DIAGRAMS
CENTRAL LOCKING CONNECTIONS
TO ARM/DISARM THE SYSTEM
The SIGS37 system can operate in various modes according to the vehicle on which it is installed and the available connections (refer to the vehicle installation specifications). The alarm system can be managed via the vehicle CAN BUS line and operate in combination with the CAN signals, with the turn indicator flashes and/or the door lock motor unit. The system automatically manages the different arm/disarm signals. The next paragraphs deal with the different types of connections; the arming modes are the following:
- Arming via CAN BUS line.
- Arming via locking motors.
- Arming via self-learning of turn indicator flashes.
- Arming via turn indicator flashes and locking motors.
- Arming via turn indicator flashes, locking motors and CAN BUS line.
CONNECTIONS AND MANAGEMENT VIA CAN BUS LINE
System arm/disarm and alarms being managed via CAN, only connect the alarm CAN BUS wires to the vehicle CAN
CONNECTIONS TO LOCKING MOTORS
System arm/disarm connections must be made to the vehicle locking motors (polarity inversion).
CONNECTIONS TO TURN INDICATORS
If the turn indicators lock/unlock flashes are identical, connect the door lock motors.
VEHICLE CODE PROGRAMMING
If the system is to be managed via CAN BUS, it must be configured according to the vehicle on which it is installed. Here below is an example illustrating the configuration procedure. In this case the code used is 1-0-3 which hypothetically corresponds to a “FIAT XXXXX”.
A separate leaflet, included in the alarm packaging, lists available vehicles (codes are updated at packaging time).
The system has an indicator LED that signals any wrong vehicle code inserted. The code must range between 100 and 235 otherwise the LED on
the unit blinks repeatedly and the procedure is interrupted. The previously inserted code remains stored.
The procedure is also invalidated if the LED blinks more than 10 times. In this case there are no optical warnings, the procedure is simply interrupted.
In either case, repeat the entire procedure.
Connect the harness 20-way connector to the alarm 20-way connector. Press and hold the button shown below until the LED lights up.
When the last digit is entered, the alarm system “repeats” the entered code.
LEARNING OF TURN INDICATORS FLASHES
In order to arm/disarm via the turn indicators, the system must learn the vehicle lock (arm) and unlock (disarm) flashes. Connect the WHITE-ORANGE wire to the turn indicators and then proceed as follows:
- Disconnect the 8-way wiring connector from the 8-way alarm connector.
- Turn ignition key “ON”.
- Connect the 8-way wiring connector to the 8-way alarm connector; the LED turns ON steady.
- Turn ignition key “OFF”.
- Close all doors and press the lock button on the original remote control or the Gemini . . . . optional remote.
- When the turn indicators stop flashing, the LED turns OFF for 1 sec.
- Press the unlock button on the original remote control or on the Gemini optional remote.
- When the turn indicators stop flashing, the LED turns OFF.
- This completes the procedure.
- To cancel the programming of turn indicators, reset the system (see chapter 13.0).
SYSTEM PROGRAMMING
The table below applies to the system programmed in “standard configuration”. Every time you enter the programming procedure, the alarm resets to the default settings.
Press the remote-control lock/unlock buttons to make sure the alarm system works properly. Eventually disconnect the 20-way connector and reconnect it after few seconds.
Procedure must be carried out entirely. To scroll from one function to another either turn the key to disable it or use the electronic key to enable it (see par. 12.0). NB: A lack of power during electrical system maintenance will not affect the programming. Below is a brief description of the programmable functions.
- OPTICAL SIGNALS When this function is disabled, the turn indicators will flash when the system is armed and disarmed.
If the vehicle already has optical lock/unlock signals, turn indicator alarm flashes should be disabled. - ACOUSTIC SIGNALS When this function is enabled, there are no audio signals when the system is armed and disarmed.
- PASSIVE ARMING When this function is enabled, the system automatically arms 60″ after ignition is switched off and the last door is opened and closed. If a door is opened during passive arming, the procedure is interrupted. It will resume when the door is closed.
- ENABLING SIREN OUTPUT This function, when enabled, allows communication between the alarm system and the coded battery back-up siren (ref. 7725D).
- DOUBLE PULSE UNLOCK If this feature is enabled, 2 unlocking pulses will be supplied to unlock all doors including the cabin door. This is useful in case separate actions are required to open the driver door and then the other doors. When this feature enabled, the lock/unlock pulse time is 0,5 sec. Instead of 1,5 sec.
- INHIBIT INPUT If input is active (GND), alarm disarming is inhibited for 3 seconds.
SYSTEM PROGRAMMING EXAMPLE
Here below is an example that illustrates the steps to follow to modify the programmable features. As mentioned before, every key rotation disables the features, while the electronic key enables them. When ignition is turned ON or OFF or the electronic key is touched to its receptacle, a high or low pitch signal sounds and the LED flashes according to table 12.0. With the alarm system disarmed, turn ignition key “ON” and touch the electronic key to its receptacle.
Two acoustic signals (a high and a low-pitch sound) and two flashes of the tun indicators confirm that the system is in programming mode.
ADDING NEW DEVICES
- To carry out the operation successfully, make sure the required electrical connections (bonnet Switch and ignition) are complete.
- Activate the code-learning procedure as follows: With the system disarmed, open the bonnet and leave it open.
- The following operations must be caried out within 4 seconds otherwise the procedure Is invalidated.
- Turnignition key “ON-OFF- “ON-OFF”- “ON-OFF-ON”; on the 4th cycle, leave it’ON”.
- Toconfim it has entered in learn mode, the system gives 2 audio signals (1 high and 1 low-pitched), the turn indicators flash once and the LED turns ON.
- Do not close the honnet othewise all nrevioushy nrnarammed devices will he erased
- Do not CIOse thE Donnet Oulerwse all previously prograimea deVICes wi De erdsed
as desciDea in tne next paragrapn. - System is ready to receive the device codes.
- Depending on which device is to be learned, either press one of the remote-control buttons, insert tne electronic key into its receptacle,make the magnetic contact transmit
- (bring contact and magnet together and then move apart), press the opening detector button, make the infrared sensororthe hyper-requency sensor transmit (see sensor instructions).
- A ShortDeep conims learning.
- Repeat this procedure to learn other devices.
- Turn ignition key OFF”; a low-pitched signal and a flash of the turn indicators the procedure. The status LED will turn OFF. onfirm the end of
- Storing memory is for 55 devices.
- Saving an extra device will automatically delete the first device.
DELETING PROGRAMMED DEVICES
- System is ready to receive the device codes.
- Depending on which device is to be learned, either press one of the remote-control buttons, insert tne electronic key into its receptacle,make the magnetic contact transmit
- (bring contact and magnet together and then move apart), press the opening detector button, make the infrared sensororthe hyper-requency sensor transmit (see sensor instructions).
- A ShortDeep conims learning.
- Repeat this procedure to learn other devices.
- Turn ignition key OFF”; a low-pitched signal and a flash of the turn indicators the procedure. The status LED will turn OFF. onfirm the end of
- Storing memory is for 55 devices.
- Saving an extra device will automatically delete the first device.
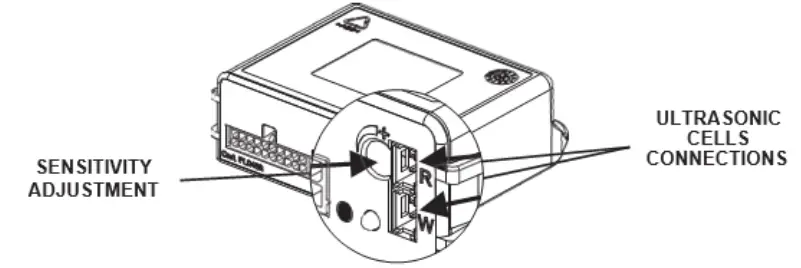
ULTRASONIC VOLUMETRIC PROTECTION
CONNEC TION AND POSITIONING
Insert the VWHITE connector in the “W” marked socket and the RED connector in the “R” marked SOcket (see picture below).
Install the transducers of the ultrasonic sensors on the top part of the windshield internal pillars, away from the air vents and point them towards the center of the rear window.
SENSOR ADJUSTMENT
- To check sensor sensitivity level, proceed as follows:
- With the alarm system disamed, roll down the front window approx. 20 cm.
- Set the trimmer to an intermediate position (medium sensitivity).
- Close all doors, bonnet and boot and arm the system.
- During the pre-arming delay time introduce an object in the cabin through the window and move it around, the status LED will turn off to signal a presence.
- If sensitivity level is too high or too low, readjust the trimmer and repeat the above procedure.

SYSTEM RESET
To reset the system, proceed as follows
- Disarm the system, wait 4 min. and then disconnect the coded siren (7725D).
- Disconnect the alam power supply.
- Short-circuit the RED and BLACK wires of the 2-pin LED connector.
- Power the system, connection is confirmed by 4 flashes of the turn indicators.
- Remove the previously created short-circuit, the status LED willight up steady.
- Turn ignition key “ON”; the turn indicators turn ON for 4 sec. to confirm reset (if ORANGE wires are connected).
- Turn ignition key OFF”, the LED will tum OFF. There will be no audio signals.
WASTE ELECTRICAL AND ELECTRONIC EQUIPMENT (WEEE) DIRECTIVE
The present device does not fall within the scope of Directive 2002/95ec on Waste Electrical and Electronic Equipment (WEEE) as specified in art. 2.1 of L.D. No. 151 of

TURN INDICATORS WIRING DIAGRAMS




















