ARDESTO IH-TS-01 Infrared Heaters Telescopic Stand Instruction Manual
Please read before first commissioning the safety instructions carefully and observe the safety instructions to prevent damage due to misuse, improper operation, and improper environmental conditions to be avoided. Keep these for later reference. Check the device after removing the packaging for damage . Do not put the unit in case of suspected corruption in operation and consult a specialist. The recyclable packaging material must not be stored or disposed accessible for young children , but must be disposed of properly. This appliance is only for the purpose for which it was explicitly developed. Any other use is regarded as improper and therefore dangerous . The supplier is not liable for damage to persons and / or property damage due to an improper or incorrect use. This appliance can be used by children aged from 8 years and above and persons with reduced physical, sensory or mental capabilities or lack of experience and knowledge if they have been given supervision or instruction concerning use of the appliance in a safe way and understand the hazards involved. Children shall not play with the appliance. Cleaning and user maintenance shall not be made by children without supervision. Please make sure to place the device on a suitable and waterproof surfaces, so that spilled liquids can not cause harm. Repairs to electrical appliances must only be carried out by trained personnel only. Improperly performed repairs and alterations to the equipment can have dangerous consequences for the user according to what the warranty will be rejected.
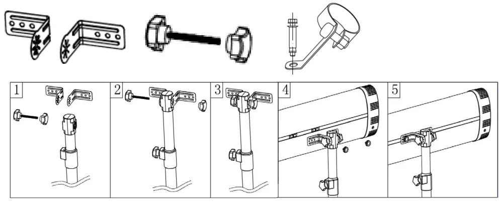
Accessories
L-shape bracket: 2 pcs.
Screw & nut: 1 set
Fix bracket & screws: 3 set

- Placing L-shaped bracket to stand
- Securing L-shaped bracket to stand with screw
- Moving the slip panels to the proper place
- Securing the L-shaped bracket to slip panels on heater with screws.
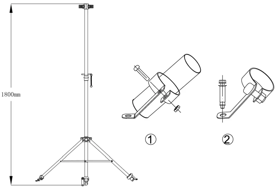
- Adjust the height of stand from 1.1m to 1.8m.
ATTENTION: TO PREVENT OVERTURNING, THE STAND MUST BE SECURED TO THE GROUND WITH THE FIX BRACKETS & SCREWS BEFORE USE.

- Attach the fix brackets to the legs of the stand
- Secure the stand to the horizontal surface with screws.
Warranty conditions
The plant guarantees normal operation of the product within 12 months from the date of the sale, provided that the consumer complies with the rules of operation and care provided by this Manual.
Service life of the product is 5 years. In order to avoid any misunderstanding we kindly ask you to carefully study the Owner’s Manual, the terms of warranty, and check the correctness of filling the Warranty Card. The Warranty Card is valid only if the following information is correctly and clearly stated: model, serial number of the product, date of sale, clear seals of the companyseller, signature of the buyer. The model and serial number of the product must correspond to those specified in the Warranty Card.
If these terms are violated, and if the information specified in the Warranty Card is changed, erased or rewritten, the Warranty Card is considered invalid. Setup and installation (assembly, connection, etc.) of the appliance are described in the attached documentation; they can be carried out both by the user, and by specialists having the necessary qualification sent by USC or selling companies (on a paid basis). In this case, the person (the institution) installing the appliance shall be responsible for the correctness and quality of installation (setup). Please pay attention to the importance of the correct installation of the appliance, both for its reliable operation, and for obtaining warranty and free service. Require the installation specialist to enter all the necessary information about the installation in the Warranty Card.
In case of failure of the appliance during the warranty period by the fault of the manufacturer, the owner is entitled to free warranty repair upon presentation of the correctly filled Warranty Card together with the appliance in the factory configuration packed in the original packaging to the warranty workshop or the place of its purchase. Satisfaction of the customer’s claim due to the fault of the manufacturer shall be made in accordance with the law «On Protection of Consumers’ Rights». In the case of warranty repair the warranty period shall be extended for the period of repair and shipment.
WARRANTY CARD
Dear Buyer! Congratulations on your purchase of the ARDESTO brand appliance, which was designed and manufactured in accordance with the highest quality standards, and we thank you for choosing this particular instrument.
We ask you to keep the coupon during the warranty period. When purchasing a product, require a full warranty card.
- Warranty service is carried out only if there is a correctly and clearly filled original warranty card, which indicates: product model, date of sale, serial number, warranty service period, and the seller’s seal. *
- The service life of household appliances is 5 years.
- The product is intended for consumer use. When using the product in commercial activities, the seller / manufacturer does not bear warranty obligations, after-sales service is performed on a paid basis.
- Warranty repair is carried out within the period specified in the warranty card for the product in an authorized service center on the conditions and terms determined by applicable law.
- The product is withdrawn from the warranty in case of violation by the consumer of the operating rules set forth in the instruction manual.
- The product is removed from warranty service in the following cases:
- misuse and non-consumer use;
- mechanical damage;
- damage caused by the ingress of foreign objects, substances, liquids, insects;
- damage caused by natural disasters (rain, wind, lightning, etc.), fire, domestic factors (excessive humidity, dust, aggressive environment, etc.)
- damage caused by non-compliance of power and cable network parameters with state standards and other similar factors;
- when operating equipment in the power supply network with a missing single ground loop;
- in case of violation of seals installed on the product;
- lack of serial number of the device, or inability to identify it.
- The warranty does not cover consumables and accessories, as well as filters, shelves, drawers, stands and other containers for storing products.
- The warranty period is 12 months from the date of sale.
Tear-off maintenance tickets are provided by an authorized service center.
The completeness of the product is checked. I have read the terms of the warranty service, no complaints.
Customer Signature
Product information _____________________________________
Product _____________________________________
Model _____________________________________
Serial number _____________________________________
Seller Information _____________________________________
Trade organization name _____________________________________
The address _____________________________________
Date of sale _____________________________________
Seller stamp _____________________________________
Coupon 3
Seller stamp
Date of the application _____________________________________
Cause of damage _____________________________________
Date of completion _____________________________________
Coupon 2
Seller stamp
Date of the application _____________________________________
Cause of damage _____________________________________
Date of completion _____________________________________
Coupon 1
Seller stamp
Date of the application _____________________________________
Cause of damage _____________________________________
Date of completion _____________________________________


















