SRM-3 standrad manual Resistor
User Manual
Introduction
This manual contains information about the design and use of the following manual decade resistors: SRM- 3-01/1, SRM-3-01/2, SRM-3-01/3, SRM-3-100/1, SRM-3-100/2, SRM-3-100/3, SRM-3-100k/1, SRM-3-100k/2, SRM-3-100k/3, SRM-6-01/1, SRM-6-01/2, SRM-6-01/3, SRM-6-100/1, SRM-6-100/2, SRM-6-100/3, SRM-9-01/1, SRM-9- 01/2, SRM-9-01/3 (hereinafter as SRM resistors), their operational limitations and safety measures. It is intended for those who work with the resistors and other operating personnel.
WARNING
Before using the device, carefully read this manual, and observe the safety guidelines and recommendations of the manufacturer.
Failure to follow with the manufacturer’s instructions may cause damage to the device and be dangerous for the user.
Symbols are shown on the instrument:
Read the manual before using the instrument. Strictly comply with the safety rules and manufacturer’s recommendations.
Operational earthing terminal
Intended use
Decade resistors of the SRM series are designed to implement AC and DC resistance.
SRM resistors are used as the standard instruments for the calibration of resistance meters, including a number of SONEL devices of MPI, MRP, MRU, MIC series, and others, taking into account earth resistance, and contact voltage, and DC resistance.
Technical specifications
Basic technical parameters
SRM resistors are simple and safe in use. Key features of the resistors:
Table 1 – metrological parameters of SRM-3-01/1 SRM-3-01/2 SRM-3-01/3
No. of section | Range of section | Pmax | Imax | Accuracy class for model “/1” | Accuracy class for model “/2” | Accuracy lass for model “/3″ |
| 1 | 10 x 0.1 Ω | 5 W | 7 A | 0.5 | 1 | 1 |
2 | 10 x 1 Ω | 5 W | 2.2 | 0.1 | 0.2 | 0.5 |
| 3 | 10 x 10 Ω | 5 W | 0.7 A | 0.05 | 0.2 | 0.5 |
Table 2 – metrological parameters of SRM-3-100/1 SRM-3-100/2 SRM-3-100/3
No. of section | Range of section | Pmax | Imax | Accuracy class for model “/1” | Accuracy class for model “/2″ | Accuracy class for model “/3″ |
| 1 | 10 x 100 Ω | 5 W | 0.22 | 0.05 | 0.2 | 0.5 |
2 | 10 x 1 kΩ | 5 W | 0.07 | 0.05 | 0.2 | 0.5 |
| 3 | 10 x 10 kΩ | 5 W | 7 mA | 0.05 | 0.2 | 0.5 |
Table 3 – metrological parameters of SRM-3-100k/1 SRM-3-100k/2 SRM-3-100k/3
| No. of section | Range of section | Pmax | Imax | Accuracy class for model “/1” | Accuracy class for model “/2″ | Accuracy class for model “/3″ |
| 1 | 10 x 100 kΩ | 3 W | 5 mA | 0.05 | 0.2 | 0.5 |
| 2 | 10 x 1 MΩ | 0.5 W | 0.7 mA | 0.05 | 0.2 | 0.5 |
| 3 | 10 x 10 MΩ | 0.5 W | 0.2 mA | 0.1 | 0.2 | 0.5 |
Table 4 – metrological parameters of SRM-6-01/1 SRM-6-01/2 SRM-6-01/3
No. of section | Range of section | Pmax | Imax | Accuracy class for model “/1” | Accuracy class for model “/2″ | Accuracy |
| 1 | 10 x 0.1 Ω | 5 W | 7 A | 0.5 | 1 | 1 |
| 2 | 10 x 1 Ω | 5 W | 2.2 | 0.1 | 0.2 | 0.5 |
| 3 | 10 x 10 Ω | 5 W | 0.7 A | 0.05 | 0.2 | 0.5 |
| 4 | 10 x 100 Ω | 5 W | 0.22 | 0.05 | 0.2 | 0.5 |
| 5 | 10 x 1 kΩ | 5 W | 0.07 | 0.05 | 0.2 | 0.5 |
| 6 | 10 x 10 kΩ | 5 W | 7 mA | 0.05 | 0.2 | 0.5 |
Table 5 – metrological parameters SRM-6-100/1 SRM-6-100/2 SRM-6-100/3
| No. of section | Range of section | Pmax | Imax | Accuracy class for model “/1” | Accuracy class for model “/2″ | Accuracy class for model “/3″ |
| 1 | 10 x 100 Ω | 5 W | 0.22 | 0.05 | 0.2 | 0.5 |
| 2 | 10 x 1 kΩ | 5 W | 0.07 | 0.05 | 0.2 | 0.5 |
| 3 | 10 x 10 kΩ | 5 W | 7 mA | 0.05 | 0.2 | 0.5 |
| 4 | 10 x 100 kΩ | 3 W | 5 mA | 0.05 | 0.2 | 0.5 |
| 5 | 10 x 1 MΩ | 0.5 W | 0.7 mA | 0.05 | 0.2 | 0.5 |
| 6 | 10 x 10 MΩ | 0.5 W | 0.2 mA | 0.1 | 0.2 | 0.5 |
Table 6 – metrological parameters of SRM-9-01/1 SRM-9-01/2 SRM-9-01/3
| No. of section | Range of section | Pmax | Imax | Accuracy class for model “/1” | Accuracy class for model “/2″ | Accuracy class for model “/3″ |
| 1 | 10 x 0.1 Ω | 5 W | 7 A | 0.5 | 1 | 1 |
| 2 | 10 x 1 Ω | 5 W | 2.2 | 0.1 | 0.2 | 0.5 |
| 3 | 10 x 10 Ω | 5 W | 0.7 A | 0.05 | 0.2 | 0.5 |
| 4 | 10 x 100 Ω | 5 W | 0.22 | 0.05 | 0.2 | 0.5 |
| 5 | 10 x 1 kΩ | 5 W | 0.07 | 0.05 | 0.2 | 0.5 |
| 6 | 10 x 10 kΩ | 5 W | 7 mA | 0.05 | 0.2 | 0.5 |
| 7 | 10 x 100 kΩ | 3 W | 5 mA | 0.05 | 0.2 | 0.5 |
| 8 | 10 x 1 MΩ | 0.5 W | 0.7 mA | 0.05 | 0.2 | 0.5 |
| 9 | 10 x 10 MΩ | 0.5 W | 0.2 mA | 0.1 | 0.2 | 0.5 |
where:
Pmax – maximum permissible power for a decade
Imax – accumulators permissible current value for the decade
Additional technical parameters of SRM resistors
Protection degree of the housing ………………………………………………………………….. IP40
Contamination level ………………………………………………………………………………………… 2
Installation category ……………………………………………………………………………………….. 2
Insulation resistance ………………………………………………………………………… >10 GΩ
Insulation test voltage …………………………………………………………………… 2000 V
Zero resistance ………………………………………………………………………………………… ≤0.025 Ω
Instability of zero resistance ……………………………………………………………… ±0.0025 Ω
Operating temperature range ………………………………………………. from +10 ºС to +35 ºС
Storage temperature range …………………………………………………………. from -20 ºС to +60 ºС
Rated operating temperature ………………………………………………………………… +23°C ± 2°C
Operating altitude …………………………………………………………………………. up to 2000 m a.s.l.
Relative humidity ………………………………………………………………………….from 25% to 80%
Atmospheric pressure: ……………………………………………………………… 630 mmHg – 800 mmHg
The permissible limit of the additional measurement error caused by changes in ambient temperature (compared to the normal operating temperature range) is equal to the accuracy precision class.
Dimensions:
▪ SRM-3……………………………………………………………………………….. 215 x 147 x 160 mm
▪ SRM-6…………………………………………………………………………………. 540 х 147 х 160 mm
▪ SRM-9………………………………………………………………………………….. 472 x 260 x 160 mm
Weight:
▪ SRM-3………………………………………………………………………. not more than 3 kg
▪ SRM-6……………………………………………………………….. not more than 6 kg
▪ SRM-9……………………………………………………………………… not more than 9 kg
| Temperature coefficient (±ppmrC) | Long-term stability (±ppm/3 yrs) | Stability (±PPnVIrr) | Maximum voltage V | |
| x 0.1 | 5 | 75 | 50 | 7 |
| x 1 | 10 | 25 | 20 | 22 |
| x 10 | 5 | 25 | 20 | 100 |
| x 100 | 5 | 25 | 20 | 220 |
| x 1k | 5 | 25 | 20 | 700 |
| x 10k | 5 | 25 | 20 | 700 |
| x 100k | 5 | 25 | 20 | 2000 |
| x 1M | 5 | 25 | 20 | 2000 |
| x 10M | 10 | 100 | 20 | 2000 |
Content of the packaging
| Name | Quantity |
| SRM series decade resistor | 1 pc. |
| User manual | 1 pc. |
Marking and sealing
The name and symbol of the resistor are indicated on the front panel. The serial number and year of manufacture of the device are shown on the bottom panel.
The decade resistor has a guarantee label attached to its housing. Removing the label will void the guarantee.
Safety measures
The instrument may be operated only by persons with appropriate training in safe work with electrical equipment.
This measuring device may be operated only indoors.
NOTE!
When working with the decade resistor – ensure sufficient access to the device, in order to facilitate connecting/disconnecting cables to its measuring inputs.
Before commencing measurements, make sure the test leads are connected to the appropriate measurement sockets.
Repairs may be performed only by an authorized service point.
To prevent accidents or damage to the device, observe the following rules:
- Do not use the decade resistor for purposes not specified in this manual;
- Store the device in a dry place with the humidity not exceeding the value given in the manual.
- Do not use the decade resistor with visible mechanical damage;
- When working with the decade resistor, use only well-functioning and undamaged connecting cables;
- Do not connect the input voltage exceeding the value specified on the front of the device and in this manual.
UWAGA!
It is forbidden to operate the decade resistor without connecting it to the protective earth terminal of the ground circuit used by the electrical system of the building.
General guidelines for using the device
Maintenance activities on the decade resistor are carried out in order to ensure its interrupting operation and readiness for use.
During the maintenance activities, check the device for:
- absence of external mechanical damage;
- cleanliness of its connectors and sockets;
- the condition of coatings, electroplating, and precision of engraving;
- the condition of connecting cables.
During operation, the measuring device must not be placed on its front panel, as this may damage its controls.
Operating the device
Using controls
SRM resistors are equipped with one common “0” connection and with additional sockets (from 1 to 3, depending on the model) used to connect the decades to the measuring system. To connect the resistor to the measuring circuit, use the common “0” input and one of the other inputs. At the same time, the value set on the resistor must not exceed the value indicated next to the additional socket being used.
Socket marked as
located above measuring outputs, is used to connect the device to the earthing grounding.
The resistance decade switches are located on the front panel of the device. The number of decades corresponds to the first number in the name of a given model and it varies from 3 to 9.
Fig 1 – Front panel of SRM-9-01/1
Each decade is composed of 10 series-connected resistors with outputs connected to the rotary selector switches of decades. Knobs of the rotary switches are located on the front panel.
SRM decade resistors have a high permissible dissipation power and meet all requirements for decade resistors to be used in calibration laboratories and for testing measuring instruments and may be used in other AC/DC measuring systems.
Preparing and taking measurements
Task (example): the resistance value must be at the level of 3 Ω. To achieve this, set the decade marked as 10 x 0.1 into position “10” (1 Ω), and the decade marked as 10 x 10 Ω set into position “1” (1 Ω); then the required value of 3 Ω is achieved. Using the above method of adjustment, the circuit will be connected to 11 resistors and each of them will generate a proportional part of the power consumed in the circuit.
It is not allowed to set the second decade in position “2” (2 Ω), when decade 10 x 0.1 Ω is set in position “0” and the resistor dissipation of 2 Ω in the second decade exceeds by 100% the permissible dissipation power.
NOTE!
Failure to follow the above procedure may lead to excessive overheating of the decade resistor and its damage.
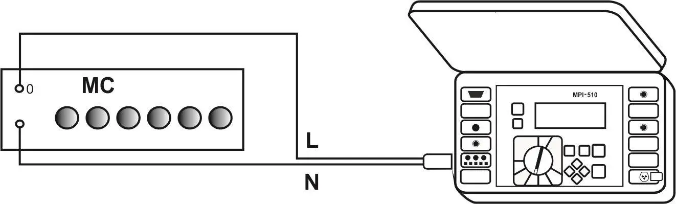
When using the resistors to test resistance meters and instruments for measuring electrical safety parameters, it is recommended to use typical layouts shown in Figures 2-4.
Fig. 3 – Typical layout of MRP-201 controls when measuring touch voltage.

Fig. 3 – Typical layout of MRP-201 controls when measuring touch voltage.

Fig. 4 – Typical layout of MPI-530 controls when measuring DC resistance.
Calibration of the decade resistor
It is recommended to check resistors of the SRM series every 12 months.
Operation and maintenance
NOTE!
Before performing maintenance, disconnect the resistor from the measuring circuit and the grounding circuit.
The operator carrying out the measurements with the resistor may perform the following maintenance activities:
- cleaning of the decade resistor.
The housing of the resistor may be cleaned with a soft, dry cloth. Do not use solvents or abrasive cleaners (powders, pastes, etc.). Internal circuits and systems do not need cleaning, with the exception of sockets for measuring leads.
Any other maintenance works are performed only by the authorized service of the manufacturer.
The resistor packed in its commercial packaging and transport box, as shown in assembly drawings, may be transported by any means of transport for any distance.
The resistor is packed in a commercial transport box, as shown in assembly drawings. Before the start-up, store the device at temperatures from -20 to +60°C and relative humidity of 80%.
When storing the device without packaging, the ambient temperature must be in the range of 10°C – 35°C and relative humidity up to 60%.
Storage rooms/areas must be free from dust, fumes acids, and corrosive alkalis.
Shelf life of the device secured and inside the manufacturer’s packaging: 5 years.
Transport
Packaging
During the transport of the device, it is packed in a transport box.
To pack the device for transport, proceed as follows:
- put the device in a plastic bag, tie it with a string, and put it in a box;
- put operational documentation in a polyethylene bag and place it on the device or between the side wall of the box and the device;
- put the shipping documentation in the bag and place it under the cover of the box;
- wrap the box with plastic tape and seal it.
Transport conditions
The device packed in the transport box may be shipped using all kinds of transport and to any distance.
During the transport, the packaging must be protected against rain and dust. Do not tilt the device.
Manufacturer
The manufacturer of the device and provider of guarantee and post-guarantee service:
SONEL S.A.
Wokulskiego 11
58-100 Świdnica
Poland
tel. +48 74 858 38 60
fax +48 74 858 38 09
E-mail: [email protected]
Web page: www.sonel.pl
Service repairs must be performed only by the manufacturer.
+48 74 858 38 60 +48 74 858 38 00
fax: +48 74 858 38 09 e-mail: [email protected]
www.sonel.pl



















