LORD C12 Combined Fridge

Dear customer:
Thank you for buying this upright freezer. To ensure that you get the best results from your new freezer, please take time to read through the simple instructions in this booklet.
Please ensure that the packing material is disposed of in accordance with the current environmental requirements.
When disposing of any Freezer equipment please contact your local waste disposal department for advice on safe disposal.
This appliance must be only used for its intended purpose. This appliance is intended to be used in household.
SAFETY INFORMATION
WARNING! Risk of fire/flammable materials
This appliance is intended to be used in household and similar applications such as staff kitchen areas in shops, offices and other working environments; farm houses and by clients in hotels, motels and other residential type environments; bed and breakfast type environments; catering and similar non-retail applications.
If the supply cord is damaged, it must be replaced by the manufacturer, its service agent or similarly qualified persons in order to avoid a hazard.
Do not store explosive substances such as aerosol cans with a flammable propellant in this appliance.
The appliance has to be unplugged after use and before carrying out user maintenance on the appliance.
- WARNING! Keep ventilation openings, in the appliance enclosure or in the built-in structure, clear of obstruction.
- WARNING! Do not use mechanical devices or other means to accelerate the defrosting process, other than those recommended by the manufacturer.
- WARNING! Do not damage the refrigerant circuit.
- WARNING! Do not use electrical appliances inside the food storage compartments of the appliance, unless they are of the type recommended by the manufacturer.
- WARNING! Please abandon the refrigerator according to local regulators for it use flammable blowing gas and refrigerant.
- WARNING! When positioning the appliance, ensure the supply cord is not trapped or damaged.
- WARNING! Do not locate multiple portable socket-outlets or portable power supplies at the rear of the appliance. Do not use extension cords or ungrounded (two prong) adapters.
- WARNING! Risk of child entrapment. Before you throw away your old refrigerator or freezer:
- Take off the doors.
- Leave the shelves in place so that children may not easily climb inside.
The refrigerator must be disconnected from the source of electrical supply before attempting the installation of accessory. Refrigerant and cyclopentane foaming material used for the refrigerator are flammable.Therefore, when the refrigerator is scrapped, it shall be kept away from any fire source and be recovered by a special recovering company with corresponding qualification other than be disposed by combustion, so as to prevent damage to the environment or any other harm. For EN standard: This appliance can be used by children aged from 8 years and above and persons with reduce physical sensory or mental capabilities or lack of experience and knowledge if they have been given supervision or instruction concerning use of the appliance in a safe way and understand the hazards involved. Children shall not play with the appliance. Cleaning and user maintenance shall not be made by children without supervision. Children aged from 3 to 8 years are allowed to load and unload refrigerating appliances. FOP IEC standard: This appliance is not intended for use by persons (including children) with reduced physical, sensory or mental capabilities, or lack of experience and knowledge, unless they have been given supervision or instruction concerning use of the appliance by a person responsible for their safety.) Children should be supervised to ensure that they do not play with the appliance. The instructions shall include the substance of the following:
To avoid contamination of food, please respect the following instructions:
- Opening the door for long periods can cause a significant increase of the temperature in the compartments of the appliance.
- Clean regularly surfaces that can come in contact with food and accessible drainage systems.
- Clean water tanks if they have not been used for 48 h; flush the water system connected to a water supply if water has not been drawn for 5 days. ( note 1 )
- Store raw meat and fish in suitable containers in the refrigerator, so that it is not in contact with or drip onto other food.
- Two-star (**) frozen-food compartments are suitable for storing pre-frozen food, storing or making ice-cream and making ice cubes, (note 2 )
- One (*) -two (**) -and three-star (***) compartments are not suitable for the freezing of fresh food. ( note 3 )
- If the refrigerating appliance is left empty for long periods, switch off, defrost, dean, dry, and leave the door open to prevent mould developing within the appliance.
Note 1,2,3: Please confirm whether it is applicable according to you product compartment type.
Meaning of safety warning symbols
This is a prohibition symbol.
Any incompliance with instructions marked with this symbol may result in damage to the product or endanger the personal safety of the user.
This is a warning symbol.
It is required to operate in strict observance of instructions marked with this symbol; otherwise, damage to the product or personal injury may be caused.
This is a cautioning symbol.
Instructions marked with this symbol require special caution Insufficient caution may result in slight or moderate injury, or damage to the product.
This manual contains lots of important safety information which shall be observed by the users.
- Do not pull the power cord when pulling the power plug of the refrigerator. Please firmly grasp the plug and pull out it from the socket directly.
- To ensure safe use, do not damage the power cord or use the power cord when it is damaged or worn.
- Please use a dedicated power socket and the power socket shall not be shared with other electrical appliances.

- The power plug should be firmly contacted with the socket or else fires might be caused.
- Please ensure that the grounding electrode of the power socket is equipped with a reliable grounding line.
- Please turn off the valve of the leaking gas and then open the doors and windows in case of leakage of gas and other flammable gases. Do not unplug the refrigerator and other electrical appliances considering that spark may cause a fire.
- Do not use electrical appliances on the top of the appliance, unless they are of the type recommended by the manufacturer.
Warnings for using - Do not arbitrarily disassemble or reconstruct the refrigerator, nor damage the refrigerant circuit; maintenance of the appliance must be conducted by a specialist
- Damaged power cord must be replaced by the manufacturer, its maintenance department or related professionals in order to avoid danger.
- The gaps between refrigerator doors and between doors and refrigerator body are small, be noted not to put your hand in these areas to prevent from squeezing the finger. Please be gentle when close the refrigerator door to avoid falling articles.
- Do not pick foods or containers with wet hands in the freezing chamber when the refrigerator is running, especially metal containers in order to avoid frostbite.
- Do not allow any child to get into or climb the refrigerator; otherwise suffocation or falling injury of the child may be caused.
- Do not place heavy objects on the top of the refrigerator considering that objectives may fall when close or open the door, and accidental injuries might be caused.
- Please pull out the plug in case of power failure or cleaning. Do not connect the freezer to power supply within five minutes to prevent damages to the compressor due to successive starts.

Warnings for placement of items - Do not put flammable, explosive, volatile and highly corrosive items in the refrigerator to prevent damages to the product or fire accidents.
- Do not place flammable items near the refrigerator to avoid fires.
- The refrigerator is intended for household use, such as storage of foods; it shall not be used for other purposes, such as storage of blood, drugs or biological products, etc.

- Do not store beer, beverage or other fluid contained in bottles or enclosed containers in the freezing chamber of the refrigerator; otherwise the bottles or enclosed containers may crack due to freezing to cause damages.

Warnings for energy
Refrigerating appliances might not operate consistently (possibility of defrosting of contents or temperature becoming too warm in the frozen food compartment) when sited for an extended period of time below the cold end of the range of temperatures for which the refrigerating appliance is designed.
The fact that effervescent drinks should not be stored in food freezer compartments or cabinets or in low-temperature compartments or cabinets, and that some products such as water ices should not be consumed too cold; The need to not exceed the storage time(s) recommended by the food manufacturers for any kind of food and particularly for commercially quick-frozen food in food-freezer and frozen-food storage compartments or cabinets; The precautions necessary to prevent an undue rise in the temperature of the frozen food while defrosting the refrigerating appliance, such as wrapping the frozen food in several layers of newspaper. The fact that a rise in temperature of the frozen food during manual defrosting, maintenance or cleaning could shorten the storage life.
The necessity that, for doors or lids fitted with locks and keys, the keys be kept out of the reach of children and not in the vicinity of the refrigerating appliance, in order to prevent children from being locked inside.
Warnings for disposal
Refrigerant and cyclopentane foaming material used for the refrigerator are flammable. Therefore, when the refrigerator is scraped, it shall be kept away from any fire source and be recovered by a special recovering company with a corresponding qualification other than be disposed of by combustion, so as to prevent damage to the environment or any other harm.
When the refrigerator is scraped, disassemble the doors, and remove the gasket of door and shelves; put the doors and shelves in a proper place, so as to prevent trapping of any child.
Correct Disposal of this product:
This marking indicates that this product should not be disposed of with other household wastes throughout the EU. To prevent possible harm to the environment or human health from uncontrolled waste disposal, recycle it responsibly to promote the sustainable reuse of material resources. To return your used device, please use the return and collection systems or contact the retailer where the product was purchased. They can take this product for environmentally safe recycling.
INSTALLING THE REFRIGERATOR
Placement
- Before use, remove all packing materials, Including bottom cushions, foam pads and tapes inside of the refrigerator;
- Tear off the protective film on the doors and the refrigerator body.
- Keep away from heat and avoid direct sunlight. Do not place the freezer in moist or watery places to prevent rust or reduction of insulating effect.
- Do not spray or wash the refrigerator; do not put the refrigerator in moist places easy to be splashed with water so as not to affect the electrical insulation properties of the refrigerator.
- The refrigerator is placed in a well-ventilated indoor place; the ground shall be flat, and sturdy (rotate left or right to adjust the wheel for leveling if unstable).
- This refrigerating appliance is not intended to be used as a built-in appliance.
- The top space of the refrigerator shall be greater than 30cm, and The refrigerator should be placed against a wall with a free distance more than 10cm to facilitate heat dissipation.


Climate classes:
Extended temperate: „this refrigerating appliance is intended to be used at ambient temperatures ranging from 10 °C to 32 °C“;
Temperate: „this refrigerating appliance is intended to be used at ambient temperatures ranging from 16 °C to 32 °C“;
Subtropical: „this refrigerating appliance is intended to be used at ambient temperatures ranging from 16 °C to 38 °C“;
Tropical: „this refrigerating appliance is intended to be used at ambient temperatures ranging from 16 °C to 43 °C“;
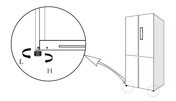
Leveling feet
Precautions before operation
Before operation of accessories, it shall be ensured that the refrigerator is disconnected from power. Before adjusting the leveling feet, precautions shall be taken to prevent any personal injury.
Schematic diagram of the leveling feet
The picture above is only for reference. The actual configuration will depend on the physical product or statement by the distributor.
Adjusting procedures:
- Turn the feet clockwise to raise the refrigerator;
- Turn the feet counterclockwise to lower the refrigerator;
- Adjust the right and left feet based on the procedures above to a horizontal level.
Changing the Light
Any replacement or maintenance of the LED lamps is intended to be made by the manufacturer, its service agent or similar qualified person.
Starting
- Before initial start, keep the refrigerator still for half an hour before connecting it to power supply.
- Before putting any fresh or frozen foods, the refrigerator shall have run for 2-3 hours, or for above 4 hours in summer when the ambient temperature is high.

- Spare enough space for convenient opening of the doors and drawers.
- The picture above is only for reference. The actual configuration will depend on the physical product or statement by the distributor.

Energy-saving tips
- The appliance should be located in the coolest area of the room, away from heat producing appliances or heating ducts, and out of the direct sunlight.
- Let hot foods cool to room temperature before placing in the appliance. Overloading the appliance forces the compressor to run longer. Foods that freeze too slowly may lose quality, or spoil.
- Be sure to wrap foods properly, and wipe containers dry before placing them in the appliance. This cuts down on frost build-up inside the appliance.
- Appliance storage bin should not be lined with aluminum foil, wax paper, or paper toweling. Liners interfere with cold air circulation, making the appliance less efficient.
- Organize and label food to reduce door openings and extended searches. Remove as many items as needed at one time, and close the door as soon as possible.
STRUCTURE AND FUNCTIONS
Key components
Freezing chamber
The picture above is only for reference. The actual configuration will depend on the physical product or statement by the distributor.
Refrigerating chamber
- The Refrigerating Chamber is suitable for storage of a variety of fruits, vegetables, beverages and other food consumed in the short term.
- Cooking foods shall not be put in the refrigerating chamber until cooled to room temperature.
- Foods are recommended to be sealed up before putting into the refrigerator.
- The glass shelves can be adjusted up or down for a proper storage space and easy use.
Freezing chamber
- The low temperature freezing chamber may keep food fresh for a long time and it is mainly used to store frozen foods and making ice.
- The freezing chamber is suitable for storage of meat, fish, rice balls and other foods not to be consumed in short term.
- Chunks of meat are preferably to be divided into small pieces for easy access. Please be noted food shall be consumed within the shelf time.
- The temperature should be set to “super freezing” , when you want to freeze foods quickly.
Note: Storage of too much food during operation after the initial connection to power may adversely affect the freezing effect of the refrigerator. Foods stored shall not block the air outlet; or otherwise the freezing effect will also be adversely affected.
Functions
The picture above is only for reference. The actual configuration will depend on the physical product or statement by the distributor.
Display screen
- Refrigerating icon
- OFF icon
- Temperature display area
- Super refrigerating icon
- Freezing icon
- Lock/unlock icon
- Vacation icon
- Super freezing icon
Operation button
- Refrigerating button
- Freezing button
- Mode button
- Lock/unlock button
Operation instructions
The first time the power was turn on for the refrigerator, the display screen will total display for 3 seconds. Meanwhile the starting up bell ringsand then the screen enters the normal display of the operation.
The first time for using the refrigerator, the default temperature of refrigerating chamber and freezing chamber is 5° C/-18 °C respectively.
When the error occurs, the display shows the error code (see next page); during normal operation, the display shows the set temperature of the refrigerating chamber or freezing chamber.
Under normal circumstances, if there is no operation on display panel or door opening action within 30s, then the display shows the lock state , and the display goes out after the lock state continued for 30s.
Lock/unlock
In the unlocked state, continue to press the lock button for 3 seconds, enter the lock state. The logo lights up and buzzer sounds, it means the display panel is locked, at this time, button operation cannot be implemented.
In the locked state, continue to press the lock button for 3 seconds, enter the unlocked state. The logo go out and buzzer sounds, it means the display panel is unlocked, at this time, button operation can be implemented.
The temperature setting of the refrigerating chamber
Press the temperature adjusting button of the refrigerating chamber to change the setting temperature of refrigerating chamber, and then each time a press of temperature adjusting button of the refrigerating chamber, the temperature will be reduced 1 °C; The temperature setting range for refrigerating chamber is 2-8 °C. When the temperature is 2 °C, press the button again, and the temperature of refrigerating chamber will be set at 8 °C, and it circulates accordingly.
The temperature setting of the freezing chamber
Press the temperature adjusting button of the freezing chamber to change the
setting temperature of the freezing chamber and then each time a press of temperature adjusting button of the freezing chamber, the temperature will be reduced 1 °C. The temperature setting range for the freezing chamber is-24 °C ~-16 °C. When the temperature is -24*0, press the button again, and the temperature of the freezing chamber will be set at-16 °C, and it circulates again and again.
Mode setting
Press the mode button to select a different control mode. Control mode is cycled according to the following regulation:
Super refrigerating —> super freezing —> super refrigerating and super freezing —> vacation —> none —> super refrigerating . When the super refrigerating mode is set, the temperature of the refrigerating chamber will automatically set at 2 °C. Exit super refrigerating mode, the temperature of the refrigerating chamber will automatically return back to the temperature set before super refrigerating mode. When super freezing mode set, the temperature of freezing chamber will automatically set at -24 °C. Exit super freezing mode, the temperature of freezing chamber will automatically return back to the temperature set before super freezing mode.
The time setting of super freezing:
After setting the super freezing mode, long-press the freezing temperature adjusting button for 3 seconds, the display shows „48“, which means that time of super freezing has been set at 48 hours. And press the freezing temperature adjusting button , the display shows „6“, which means that time of super freezing has been set at 6 hours.when the time arrives, it will exit the super refrigerating mode automatically. After setting the super refrigerating , The super refrigerating time setting is 2.5 hours by acquiescence, and the super refrigerating mode will exit automatically when the time arrives. When vacation mode is set, the temperature of the freezing chamber will be automatically set at -18 °C. The temperature of refrigerating chamber is turned off, and the icon (OFF) shines. Storage upon power failure In case of power failure, the instant working state will be locked and maintained till electrification. Opening warning and alarm control When the refrigerator doors get open, the opening music will play. If the door is not closed in two minutes, the buzzer will sound once every minute until the door is closed. Press any one button to stop the buzzer alarm.
Fault indication
The following warnings appearing on the display indicate corresponding faults of the refrigerator. Though the refrigerator may still have cold storage function with the following faults, the user shall contact a maintenance specialist for maintenance, so as to ensure optimized operation of the appliance.
| Error code | Error description |
| E1 | Temperature sensor failure of refrigerating chamber |
| E2 | Temperature sensor failure of freezing chamber |
| E4 | Failure of defrosting sensor in refrigerating chamber |
| E5 | Failure of defrosting sensor in freezing chamber |
| E6 | Communication error |
| E7 | Failure of ambient temperature sensor |
| EH | Failure of humidity sensor |
MAINTENANCE AND CARE OF THE APPLIANCE
Overall cleaning
- Dusts behind the refrigerator and on the ground shall be timely cleaned to improve the cooling effect and energy saving.
- Check the door gasket regularly to make sure there are no debris. Clean the door gasket with a soft cloth dampened with soapy water or diluted detergent.
- The interior of the refrigerator should be cleaned regularly to avoid odor.
- Please turn off the power before cleaning interior, remove all foods, drinks .shelves, drawers, etc.
- Use a soft cloth or sponge to clean the inside of the refrigerator, with two tablespoons of baking soda and a quart of warm water. Then rinse with water and wipe clean. After cleaning, open the door and let it dry naturally before turning on the power.
- For areas that are difficult to clean in the refrigerator (such as narrow sandwiches, gaps or comers), it is recommended to wipe them regularly with a soft rag, soft brush, etc. and when necessary, combined with some auxiliary tools (such as thin sticks) to ensure no contaminants or bacterials accumulation in these areas.
- Do not use soap, detergent, scrub powder, spray cleaner, etc., as these may cause odors in the interior of the refrigerator or contaminated food.
- Clean the bottle frame, shelves and drawers with a soft cloth dampened with soapy water or diluted detergent. Dry with a soft cloth or dry naturally.
- Wipe the outer surface of the refrigerator with a soft cloth dampened with soapy water, detergent, etc., and then wipe dry.
- Do not use hard brushes, clean steel balls, wire brushes, abrasives (such as toothpastes), organic solvents (such as alcohol, acetone, banana oil, etc.), boiling water, acid or alkaline items, which may damage the fridge surface and interior. Boiling water and organic solvents such as benzene may deform or damage plastic parts.
- Do not rinse directly with water or other liquids during cleaning to avoid short circuits or affect electrical insulation after immersion.

Please unplug the refrigerator for defrost and cleaning.
Cleaning of door tray

(The picture above is only for reference. The actual configuration will depend on the physical product or statement by the distributor.)
Cleaning steps
In order to conveniently take off tray, punch the bottom of right part of tray for several times and again punch the bottom of left part of tray for several times, as shown in the figure. Tray can be smoothly taken off after it has been loosened.
Defrosting
The refrigerator is made based on the air-cooling principle and thus has automatic defrosting function. Frost formed dueto change of season or temperature may also be manually removed by disconnection of the appliance from power supply orby wiping with a dry towel.
Out of operation
- Power failure: In case of power failure, even if it is in summer, foods inside the appliance can be kept for several hours; during the power failure, the times of door opening shall be reduced, and no more fresh food shall be put into the appliance.
- Long-time nonuse: The appliance shall be unplugged and then cleaned; then the doors are left open to prevent odor.
- Moving: Before the refrigerator is moved, take all objects inside out, fix the glass partitions, vegetable holder, freezing chamber drawers and etc. with tape, and tighten the leveling feet; close the doors and fix them with tape. During moving, the appliance shall not be laid upside down or horizontally, or be vibrated. The inclination during movement shall be no more than 45°.
The appliance shall run continuously once it is started. Generally, the operation of the appliance A shall not be interrupted, otherwise the service life may be impaired.
TROUBLESHOOTING
|
Failed operation. | • Check whether the appliance Is connected to power or vhether the plug is in well contact. • Check whether the voltage is too low. • Check whether there is a power failure or partial circuits have tripped. |
| Odor. | • Odorous foods shall be tightly wrapped. • Check whether there is any rotten food. • Clean the inside of the refrigerator. |
|
Long-time operation of the compressor. | • Long operation of the refrigerator is normal in summer when the ambient temperature is high. • It is not suggestible having too much food in the appliance at the same time Food shall get cool before being put into the appliance. • The doors are opened too frequently. |
| Light falls to get lit. | • Check whether the refrigerator is connected to power supply and whether the illuminating light is damaged. • Have the light replaced by a specialist. |
| Doors cannot be properly closed. | • The door is stuck by food packages. • Too much food is placed. • The refrigerator is tilted. |
| Loud noise. | • Check whether the floor is level and whether the refrigerator is placed stably • Check whether accessories are placed at proper locations |
| Door seal fails to be tight. | • Remove foreign matters on the door seal. • Heat the door seal and then cool it for restoration (or blow it with an electrical drier or use a hot towel for heating). |
| Water pan overflows. | • There is too much food in the chamber or food stored contains too much water,resulting in heavy defrosting • The doors are not closed properly, resulting in frosting due to entry of air and increased water due to defrosting |
|
Hot housing. | • Heat dissipation of the built-in condenser via the housing, which is normal When housing becomes hot due to high ambient temperature, storage of too much food or shutdown of the compressor is shut down, provide sound ventilation to facilitate heat dissipation. |
| Surface condensation. | • Condensation on the exterior surface and door seals of the refrigerator is normal when the ambient humidity is too high. Just wipe the condensate with a clean towel. |
|
Abnormal noise. | • Buzz: The compressor may produce buzzes during operation, and the buzze: are loud particularly upon start or stop. This is normal. • Creak: Refrigerant flowing inside of the appliance may produce creak, which is normal. |
Authorized service center contact information can be found at www.lord.eu.
Spare parts can also be ordered at the authorized service center.
According to the respective ecodesign regulation, spare parts can be obtained from the authorized service center for at least 7 or 10 years (based on the spare part type) since the last appliance model item has been placed on the market of the European Economic Area.
Please have the identification mark of the model and the serial number at hand before contacting the authorized service center.
The identification mark of the model and the serial number of the product can be found at the rating label placed on the outside surface at the rear of the appliance.
We recommend that you write the data from the production label into this manual before you place the appliance to the place where it will be operated to facilitate finding the data later.
This product contains a light source of energy efficiency class (G).
PRODUCT INFORMATION SHEET
| Supplier’s name or trade mark: LORD | |||||
| Supplier’s address: LORD Hausgeräte GmbH, Greschbachstraße 17, 76229 Karlsruhe, Deutschland | |||||
| Model identifier: C12 | |||||
| Type of refrigerating appliance | Combined Fridge-freezer | ||||
| Low-noise appliance: | No | Design type: | freestanding | ||
| Wine storage appliance: | No | Other refrigerating appliance: | Yes | ||
| General product parameters: – | |||||
| Parameter | Value | Parameter | Value | ||
| Overall dimensions (millimetre) | Height | 1775 | Total volume (dm3 or l) | 492 | |
| Width | 833 | ||||
| Depth | 740 | ||||
| EEI(%) | 99.2 | Energy efficiency class | E | ||
| Airborne acoustical noise emissions (dB(A) re 1 pW) | 40 | Airborne acoustical noise emission class | C | ||
| Annual energy consumption (kWh/a) | 298 | Climate class: | extended temperate/ temperate/ subtropical/ tropical | ||
| Minimum ambient temperature (°C), for which the refrigerating appliance is suitable | 10 | Maximum ambient temperature (°C), for which the refrigerating appliance is suitable | 43 | ||
| Winter setting | No | ||||
| Compartment Parameters: | |||||
| Compartment type | Compartment Volume (dm3 or l) | Recommended temperature setting for optimised food storage (°C) | Freezing capacity (kg/24 h) | Defrosting type (auto- defrost = A, manual defrost = M) | |
| Pantry | No | — | +14≤+20 | — | — |
| Wine storage | No | — | +5≤+20 | — | — |
| Cellar | No | — | +2≤+14 | — | — |
| Fresh food | Yes | 329.0 | 0≤+4 | — | A |
| Chill | No | — | -3≤3 | — | — |
| 0-star or ice- making | No | — | ≤0 | — | — |
| 1-star | No | — | ≤-6 | — | — |
| 2-star | No | — | ≤-12 | — | — |
| 3-star | No | — | ≤-18 | — | — |
| 4-star | Yes | 163.0 | ≤-18 | 12 | A |
| 2-star section | No | — | ≤-12 | — | — |
| Variable temperature compartment | compartment types | x,x | x | x,xx (for 4-star compartments) or — | — |
| For 4-star compartments | |||||
| Fast freeze facility | Yes | ||||
| Light source parameters: Determined in accordance with Commission Delegated Regulation (EU) 2019/2015 | |||||
| Type of light source | LED | ||||
| Energy efficiency class | G | ||||
| Minimum duration of the guarantee offered by the manufacturer: 24 months | |||||
| Additional information: | |||||
| Weblink to the manufacturer‘s website, where the information in point4(a) Annex of Commission Regulation (EU)2019/2019 is found: www.lord.eu | |||||
Information on the model in the product database defined in Regulation (EU) 2019/2016 can be found via the following internet link:
https://eprel.ec.europa.eu/qr/295847


Warnings for using
Warnings for placement of items























