LORD R4 Monoclimatic Refrigerator

Safety information
- In the interest of your safety and to ensure the correct use, before installing and first using the appliance, read this user manual carefully, including its hints and warnings. To avoid unnecessary mistakes and accidents, it is important to ensure that all people using the appliance are thoroughly familiar with its operation and safety features. Save these instructions and make sure that they remain with the appliance if it is moved or sold, so that everyone using it through its life will be properly informed on appliance use and safety.
- For the safety of life and property keep the precautions of these user‘s instructions as the manufacturer is not responsible for damages caused by omission.
Children and vulnerable people safety
- This appliance can be used by children aged from 8 years and above and persons with reduced physical, sensory or mental capabilities or lack of experience and knowledge if they have been given super vision or instruction concerning use of the appliance in a safe way and understand the hazards involved.
- Children aged from 3 to 8 years are allowed to load and unload this appliance.
- Children should be supervised to ensure that they do not play with the appliance. y Cleaning and user maintenance shall not be made by children unless they are aged from 8 years and above and supervised.
- Keep all packaging well away from children. There is risk of suffocation.
- If you are discarding the appliance pull the plug out of the socket, cut the connection cable (as close to the appliance as you can) and remove the door to prevent playing children to suffer electric shock or to close themselves into it.
- lf this appliance featuring magnetic door seals is to replace an older appliance having a spring lock (latch) on the door or lid, be sure to make that spring lack unusable before you discard the old appliance. This will prevent it from becoming a death trap for a child.
General safety
- WARNING! Keep ventilation openings, in the appliance enclosure or in the built-in structure, clear of obstruction.
- WARNING! Do not use mechanical devices or other means to accelerate the defrosting process, other than those recommended by the manufacturer.
- WARNING! Do not damage the refrigerant circuit.
- WARNING! Do not use other electrical appliances (such as ice cream makers) inside of refrigerating appliances, unless they are approved for this purpose by the manufacture.
- WARNING! Do not touch the light bulb if it has been on for a long period of time because it could be very hot. 1)
- WARNING! When positioning the appliance, ensure the supply cord is not trapped or damaged.
- WARNING! Do not locate multiple portable socket-outlets or portable power suppliers at the rear of the appliance.
- Do not store explosive substances such as aerosol cans with a flammable propellant in this appliance.
- The refrigerant isobutane (R-600a) is contained within the refrigerant circuit of the appliance, a natural gas with a high level of environmental compatibility, which is nevertheless flammable.
- During transportation and installation of the appliance, be certain that none of components of the refrigerant circuit become damaged.
- avoid open flames and sources of ignition
- thoroughly ventilate the room in which the appliance is situated
- It is dangerous to alter the specifications or modify this product in any way. Any damage to the cord may cause a short circuit, fire and/or electric shock.
- This appliance is intended to be used in household and similar applications such as
- staff kitchen areas in shops, offices and other working environments;
- farm houses and by clients in hotels, motels and other residential type environments;
- bed and breakfast type environments;
- catering and similar non-retail applications.
WARNING! Any electrical components (plug, power cord, compressor and etc.) must be replaced by a certified service agent or qualified service personnel.
WARNING! The light bulb supplied with this appliance is a „special use lamp bulb“ usable only with the appliance supplied. This „special use lamp“ is not usable for domestic lighting. 1)
- Power cord must not be lengthened.
- Make sure that the power plug is not squashed or damaged by the back of the appliance. A squashed or damaged power plug may overheat and cause a fire. y Make sure that you can come to the mains plug of the appliance.
- Do not pull the mains cable.
- If the power plug socket is loose, do not insert the power plug. There is a risk of electric shock or fire.
- You must not operate the appliance without the lamp.
- This appliance is heavy. Care should be taken when moving it.
- Do not remove nor touch items from the freezer compartment if you hands are damp/wet, as this could cause skin abrasions or frost/freezer burns.
- Avoid prolonged exposure of the appliance to direct sunlight.
Daily use
- Do not put hot on the plastic parts in the appliance.
- Do not place food products directly against the rear wall.
- Frozen food must not be re-frozen once it has been thawed out. 1)
- Store pre-packed frozen food in accordance with the frozen food manufacture·s instructions. 1)
- Appliance’s manufactures storage recommendations should be strictly adhered to. Refer to relevant instructions.
- Do not place carbonated of fizzy drinks in the freezer compartment as it creates pressure on the container, which may cause it to explode, resulting in damage to the appliance. 1)
- Ice lollies can cause frost burns if consumed straight from the appliance. 1)
- To avoid contamination of food, please respect the following instructions.
- Opening the door for long periods can cause a significant increase of the temperature in the compartments of the appliance.
- Clean regularly surfaces that can come in contact with food and accessible drainage systems.
- Clean water tanks if they have not been used for 48 h; flush the water system connected to a water supply if water has not been drawn for 5 days.
- Store raw meat and fish in suitable containers in the refrigerator, so that it is not in contact with or drip onto other food.
- Two-star frozen-food compartments (if they are presented in the appliance) are suitable for storing pre-frozen food, storing or making ice-cream and making ice cubes.
- One-, two- and three -star compartments (if they are presented in the appliance) are not suitable for the freezing of fresh food.
- If the appliance is left empty for long periods, switch off, defrost, clean, dry and leave the door open to prevent mount developing within the appliance.
Care and cleaning
- Before maintenance, switch off the appliance and disconnect the mains plug from the mains socket.
- Do not clean the appliance with metal objects.
- Do not use sharp objects to remove frost from the appliance. Use a plastic scraper. 1)
- Regularly examine the drain in the refrigerator for defrosted water. If necessary, clean the drain. If the drain is blocked, water will collect in te bottom of the appliance. 2)
Installation
IMPORTANT! For electrical connection carefully follow the instructions given in specific paragraphs.
- Unpack the appliance and check if there are damages on it. Do not connect the appliance if it is damaged. Report possible damages immediately to the place you bought it. In that case retain packing.
- It is advisable to wait at least four hours before connecting the appliance to allow the oil to flow back in the compressor.
- Adequate air circulation should be around the appliance, lacking this leads to overheating. To achieve sufficient ventilation follow the instructions relevant to installation.
- Wherever possible the spacers of the product should be against a wall to avoid touching or catching warm parts (compressor, condenser) to prevent possible burn. y The appliance must not be located close to radiators or cookers.
- Make sure that the mains plug is accessible after the installation of the appliance.
Service
- Any electrical work required to do the servicing of the appliance should be carried out by a qualified electrician or competent person.
- This product must be serviced by an authorized Service Center, and only genuine spare parts must be used.
Energy saving
- Don‘t put hot food in the appliance;
- Don‘t pack food close together as this prevents air circulating;
- Make sure food don‘t touch the back of the compartment(s);
- If electricity goes off, don‘t open the door(s);
- Don‘t open the door(s) frequently;
- Don‘t keep the door(s) open for too long time;
- Don‘t set the thermostat on exceeding cold temperatures;
- All accessories, such as drawers, shelves balconies, should be kept there for lower energy consumption.
Environment Protection
This appliance does not contain gasses which could damage the ozone layer, in either its refrigerant circuit or insulation materials. The appliance shall not be discarded together with the urban refuse and rubbish. The insulation foam contains flammable gases: the appliance shall be disposed according to the appliance regulations to obtain from your local authorities. Avoid damaging the cooling unit, especially the heat exchanger. The materials used on this appliance marked by the symbol are recyclable.
The symbol on the product or on its packaging ,U indicates that this product may not be treated as household waste. Instead it should be taken to the appropriate collection point for the recycling of electrical and electronic equipment. By ensuring this product is disposed of correctly, you will help prevent potential negative consequences for the environment and human health, which could otherwise be caused by inappropriate waste handling of this product. For more detailed information about recycling of this product, please coctact your local council, your household waste disposal service or the shop where you putchased the product.
Packaging materials
The materials with the symbol are recyclable.
Dispose the packaging in suitable collection containers to recycle it.
Disposal of the appliance
- Disconnect the mains plug from the mains socket.
- Cut off the mains cable and discard it.)
WARNING! During using, service and disposal the appliance, please pay attention to symbol similar as left side, which is located on rear of appliance (rear panel or compressor) and with yellow or orange color. It’s risk of fire warning symbol. There are flammable materials in refrigerant pipes and compressor.
Please be far away fire source during using, service and disposal.
Overview

Reverse Door
Tool required: Philips screwdriver, Flat bladed screwdriver, Hexagonal spanner.
- Ensure the unit is unplugged and empty.
- To take the door off, it is necessary to tilt the unit backwards. You should rest the unit on something solid so that it will not slip during the door reversing process. y All parts removed must be saved to do the reinstallation of the door.
- Do not lay the unit flat as this may damage the coolant system.
- It’s better that 2 people handle the unit during assembly
Installation5. Unscrew and remove the bottom hinge pin , turn the bracket over and replace it.
- Unscrew hinge cover.
- Open the door and unscrew the top hinge. Then take the door from the cabinet and place it on a soft pad to avoid damage.

- Remove the cover and screws at left side and fit them to right side.
- Carefully lie down the rear of cabinet on a soft pad. Remove two leveling feet first. Then unscrew the door hinge and left foot base.
CAUTION! If there is a screw at left front corner, remove it before install hinge
- Unscrew and remove the bottom hinge pin , turn the bracket over and replace it.

- Install the hinge at left side and foot base at right side. Then screw two leveling feet with their original parts.
- Unscrew top hinge pin and mounte it to left hole.

- Stand up the unit and put the door on the bottom hinge. Make sure the bottom hinge core is inserted in the door hole. Then fit upper hinge with the door. Before tightly fix the upper hinge, try to open the door to check whether the cabinet is sealed well. Finally, screw the hinge cover with hinge.
- Detach the Fridge and the Freezer door gaskets and then attach them after rotating.

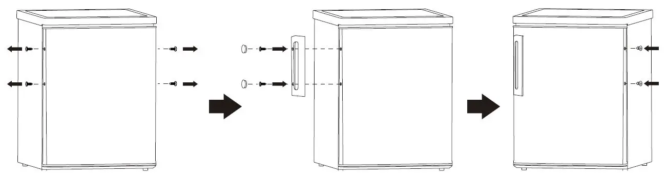
Install door handle
(if external handle is presently
Depends on models and its equipment
Space Requirement
- Keep enough space of door open.
- It is advisable to keep at least 50 mm gap at two sides.

A 600 B 600 C 1700 D min= 0 E min=50 F G 1200 H
Leveling the unit
To do this adjust the two levelling feet of the unit.
If the unit is not level, the doors and magnetic seal alignments not be covered properly.
Daily Use
Positioning
Install this appliance at a location where the ambient temperature corresponds to the climate class indicated on the rating plate of the appliance:
For refrigerating appliances with climate class:
- extended temperate: this refrigerating appliance is intended to be used at ambient temperatures ranging from 10 °C to 32 °C (SN);
- temperate: this refrigerating appliance is intended to be used at ambient temperatures ranging from 16 °C to 32 °C (N);
- subtropical: this refrigerating appliance is intended to be used at ambient temperatures ranging from 16 °C to 38 °C (ST)
- tropical: this refrigerating appliance is intended to be used at ambient temperatures ranging from 16 °C to 43 °C (T):
Location
The appliance should be installed well away from sources of heat such as radiators, boilers, directsunlight etc. Ensure that air can circulate freely around the back
ofthe cabinet. To ensure best performance, if the appliance is positioned below an overhanging wall unit, the minimum distance between the top of the cabinet and the wall unit must be at least 50 mm. Ideally, however, tha appliance should not ba positioned below overhanging wall units. Accurate laveling is ensured by one or mora adjustable feet at tha base of the cabinet.
This refrigerating appliance is not intended to be used as a built-in appliance;
WARNING! It must ba possible to disconnect the appliance from the mains power supply; the plug must therefore be easily accessible after Installation.
Electrical connection
Before plugging in, ensure that the voltage and frequency shown on the rating plate correspond to your domestic power supply. The appliance must be earthed. The power supply cable plug is provided with a contact for this purpose. If the domestic power supply socket is not earthed, connect the appliance to a separate earth in compliance with current regulations, consulting a qualified electrician.
The manufacturer declines all responsibility if the above safety precautions are not observed.
This appliance complies with the E. E. C. Directives.
Temperature setting recommendation
Information above give users recommendation of temperature setting.
Impact on Food Storage
- Under Recommended setting, the best storage time of fridge is no more than 3 days.
- The best storage time may reduce under other settings.
Position different food in different compartments according to be below table.
| Refrigerator compartments | Type of food |
| Door or balconies of fridge compartment | y Foods with natural preservatives, such as jams, juices, drinks, condiments. y Do not store perishable foods. |
| Crisper drawer (salad drawer) | y Fruits, herbs and vegetables should be placed separately in the crisper bin. y Do not store bananas, onions, potatoes, garlic in the refrigerator. |
| Fridge shelf – middle | y Dairy products, eggs. |
| Fridge shelf – top | y Foods that do not need cooking, such as ready-to-eat foods, deli meats, leftovers. |
First use
Cleaning the interior
Before using the appliance for the firsttime, wash the interior and all internal accessories with lukewarm water and some neutral soap so as to remove the typical smell of a brand new product, then dry thoroughly.
IMPORTANT! Do not use detergents or abrasive powders, as these will damage the finish.
Temperature Setting
- Plug on your appliance. The internal temperature is controlled by a thermostat. There are 6 (8)settings. 1 is warmest setting and 5 (7) is coldest setting and 0 is off.
- The appliance may not operate at the correct temperature if it is in a particularly hot or if you open the door often.
- This refrigerating appliance is not suitable for freezing foodstuffs.
Accessories
Movable shelves
The walls of the refrigerator are equipped with a series of runners so that the shelves can be positioned as desired.
Positioning the door balconies
To permit storage of food packages of various sizes, the door balconies can be placed at different heights. To make these adjustments proceed as follows: gradually pull the balcony in the direction of the arrows until it comes free, then reposition as required.
Helpful hints and tips
Hints for fresh food refrigeration
To obtain tha bast performance:
- Do not at ora warm food
- Do cover ar wrap the food
Hlnts for refrtgeratlon
Useful hints:
- Make (all types); wrap In polythene bags and place on the glass shalves above the vagetabla drawer.
- For safety, store in the way only one or two days at the most.
- Cooked foods, cold dishes, etc…: these should be covered and may be placed on any shelf.
- Fruit and vegatables: these should be thoroughly cleaned and placed in the special drawer(s) provided.
- Butter and cheese: these should be placed in special airtight containers or wrapped in aluminum foil or polythene bags to exclude as much air as possible.
- Milk bottle: these should have a cap and should ba stared in the balconies on the door.
- Bananas, potatoes, onions and garlic, if not packed, must not be kept in the fridge.
Cleaning
For hygienic reasons the appliance interior, including interior accessories, should be cleaned regularly.
CAUTION! The appliance may not be connected to the mains during cleaning. Danger of electrical shock! Before cleaning switch the appliance off and remove the plug from the mains, or switch off or turn out the circuit breaker or fuse. Never clean the appliance with a steam cleaner. Moisture could accumulate in electrical components, danger of electrical shock! Hot vapors can lead to the damage of plastic parts. The appliance must be dry before it is placed back into service.
IMPORTANT! Ethereal oils and organic solvents can attack plastic parts, e.g. lemon juice or the juice form orange peal, butyric acid, cleanser that contain acetic acid.
- Do not allow such su bstancas to coma into contact the appliance parts.
- Do not use any abrasive cleaners
- Remove the food from the freezer. Store them in a cool place, wall covered.
- Switch the appliance off and remove the plug from the mains, or switch off or turn out the circuit breaker offuse.
- Clean the appliance and the interior accessories with a cloth and lukewarm water. After cleaning wipe with fresh water and rub dry.
- After everyth lng is dry place appliance back into service.
Replace the lamp
The internal light is a LED type. To replace the lamp, please contact qualified technician.
Troubleshooting
CAUTION! Before troubleshooting, disconnect the power supply. Only a qualified electrician of m competent person must do the troubleshooting that is not in this manual.
IMPORTANT! There are some sounds during normal use (compressor, refrigerant circulation).
| Problem | Possible cause | Solution |
|
Appliance does not work | Temperature regulation knob is set at number ”0“. | Set the knob at other number to switch on the appliance. |
| Mains plug is not plugged in or is loose. | Insert mains plug. | |
| Fuse has blown or is defective. | Check fuse, replace if necessary. | |
| Socket is defective. | Mains malfunctions are to be corrected by an electrician. | |
|
The food is too warm | Temperature is not properly adjusted. | Please look in the initial Temperature Setting section. |
| Door was open for an extended period. | Open the door only as long as necessary. | |
| A large quantity of warm food was placed in the appliance within the last 24 hours. | Turn the temperature regulation to a colder setting temporarily. | |
| The appliance is near a heat source. | Please look in the installation location section. | |
| Appliance cools too much | Temperature is set too cold. | Turn the temperature regulation knob to a warmer setting temporarily. |
|
Unusual noises | Appliance is not level. | Re-adjust the feet. |
| The appliance is touching the wall or other objects. | Move the appliance slightly. | |
| A component, e.g. a pipe, on the rear of the appliance is touching another part of the appliance or the wall. | If necessary, carefully bend the component out of the way. | |
| Water on the floor | Water drain hole is blocked. | Seethe Cleaning and Care section. |
| Side panels are hot | It‘s normal. Heat exchange parts are in the sides. | Take gloves to touch sides. |
If the fault reappears, contact an authorized service center. Contact the authorized service can be found at www.lord.eu.
Spare parts can also be ordered from the authorized service center.
You will receive spare parts in accordance with the relevant ecodesign regulation from an authorized service center for a period of min. 7 or 10 years (depending on the type of spare part) since the last piece of the appliance model was placed on the market in the European Economic Area.
Before contacting an authorized service center, please have the model identification mark and serial number ready.
You will find the model identification number and product serial number on the rating plate located on the outside back of the appliance.
To quickly find the data of your appliance, we recommend that you note the data on the rating plate in this manual before placing the appliance on the site.
Product information sheet
| Supplier’s name or trade mark: LORD | |||||
| Supplier’s address: LORD Hausgeräte GmbH, Greschbachstraße 17, 76229 Karlsruhe, Deutschland | |||||
| Model identifier: R4 | |||||
| Type of refrigerating appliance: refrigerator | |||||
| Low‑noise appliance: | No | Design type: | freestanding | ||
| Wine storage appliance: | No | Other refrigerating appliance: | Yes | ||
| General product parameters: | |||||
| Parameter | Value | Parameter | Value | ||
| Overall dimensions (millimetre) | Height | 1700 | Total volume (dm3 or l) | 331 | |
| Width | 600 | ||||
| Depth | 600 | ||||
| EEI (%) | 99,4 | Energy efficiency class | E | ||
| Airborne acoustical noise emissions (dB(A) re 1 pW) | 40 | Airborne acoustical noise emission class | C | ||
| Annual energy consumption (kWh/a) | 114 | Climate class: | N/ST | ||
| Minimum ambient temperature (°C), for which the refrigerating appliance is suitable | 16 | Maximum ambient temperature (°C), for which the refrigerating appliance is suitable | 38 | ||
| Winter setting | No | ||||
| Compartment Parameters: | |||||
|
Compartment type | Compartment Volume (dm3 or l) | Recommended temperature setting for optimised food storage (°C). | Freezing capacity (kg/24 h) | Defrosting type (auto‑ ‑defrost = A, manual defrost = M) | |
| Pantry | No | ‑ | ‑ | ‑ | ‑ |
| Wine storage | No | ‑ | ‑ | ‑ | ‑ |
| Cellar | No | ‑ | ‑ | ‑ | ‑ |
| Fresh food | Yes | 331 | 4 | ‑ | M |
| Chill | No | ‑ | ‑ | ‑ | ‑ |
| 0‑star or ice‑ ‑making | No | ‑ | ‑ | ‑ | ‑ |
| 1‑star | No | ‑ | ‑ | ‑ | ‑ |
| 2‑star | No | ‑ | ‑ | ‑ | ‑ |
| 3‑star | No | ‑ | ‑ | ‑ | ‑ |
| 4‑star | No | ‑ | ‑ | ‑ | ‑ |
| 2‑star section | No | ‑ | ‑ | ‑ | ‑ |
| Variable temperature compartment | com‑ partment types | ‑ | ‑ | ‑ | ‑ |
| For 4-star compartments | |||||
| Fast freeze facility | No |
| Light source parameters: | |
| Type of light source | ‑ |
| Energy efficiency class | |
| Minimum duration of the guarantee offered by the manufacturer: | |
| Additional information: | |
| Weblink to the manufacturer’s website, where the information in point 4(a) Annex of Commission Regulation (EU) 2019/2019 is found: www.lord.eu | |
Information on the model in the product database defined in Regulation (EU) 2019/2016 can be found via the following link: eprel.ec.europa.eu/qr/339280
LORD Hausgeräte GmbH Greschbachstraße 17 76229 Karlsruhe Deutschland
[email protected]
www.lord.eu

























