LeuchtenDireckt 14019-78 IVEN LED Ceiling Light

This product contains light sources of energy efficiency class
SPECIFICATION
- Operation voltage: DC3V
- Operation current: <15mA
- Remote distance: > 6m
- Remote Control: Infrared
- Battery: 2x 1,5V AAA

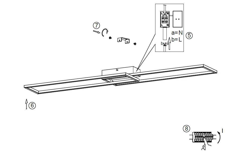
INSTALLATION


REMOTE CONTROL

BATTERY INSTALLATION

LeuchtenDirekt GmbH
Olakenweg 36 • D-59457 Weri
9721 9290
[email protected]
www.leuchtendirekt.de




















