NEXSENS SP Series Solar Power Pack

Installation Instructions
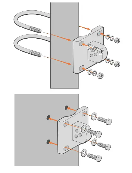
Solar Panel Mounting
- Install the mounting bracket onto a 1-1/2 to 2 pole using the included U-bolt hardware or attach the bracket to a panel as shown below. Ensure the arrow on the back of the bracket is pointing up upon installation.
- Install the solar panel onto the mounting bracket by inserting one of the socket head cap screws. Insert the screw into the center hole on both mounting pieces. Tighten using a 3/16 hex driver.
- Lock into place by inserting the second socket head cap screw. Insert the screw through both mounts. Tighten using a 3/16 hex driver.
- Tilt the panel and install the set screw.
Overview
The NexSens SP-Series Solar Power Packs feature a solar panel, regulator, and battery housed in a weather tight enclosure. Solar Power Packs are used to provide continuous, long-term power for NexSens X2 data logger systems.
What’s Included
The package includes:
- Solar panel mounting bracket and hardware
- Solar panel with regulator and battery
- UW-6 plug connector
Check the Panel Voltage
Before installation, it is recommended to check the solar panel battery voltage using a DC multimeter. Measure the potential between pins 1 (V+) and 3 (GND) on the pack’s UW-6 plug connector. Healthy operational pack voltages range from 12V to approximately 15V, depending on the amount of direct sunlight and the age/health of the installed battery. Batteries should be replaced every 3-5 years.
Connecting to a Device
Connect the UW-6 plug on the Solar Power Pack to a device with a NexSens UW-6 receptacle to supply power. Connect to the middle 6-pin port on a NexSens X2 Environmental Data Logger.
Important Note
Solar Power Packs should always be tested outside in direct sunlight. Solar radiation through a window is inadequate to charge the internal battery on the solar power pack. Connecting the solar power pack to an X2 or other load while inside could drain the internal battery. Always check the batteries’ charge before deployment.
For further assistance, contact NexSens at 937-426-2703 or visit www.nexsens.com
Overview
The NexSens SP-Series Solar Power Packs feature a solar panel, regulator, and battery housed in a weather tight enclosure. Solar Power Packs are used to provide continuous, long-term power for NexSens X2 data logger systems.
What’s Included
Solar panel mounting hardware
- (1) Pole mount/ Angle adjustment bracket
- (2) 5/16-18 x 2” U-bolt, 2-1/2” ID
- (4) 5/16” Flat washers
- (4) 5/16” Split lock washer
- (4) 5/16-18 Hex nuts
- (2) 1/4-20 x 1-1/2” Socket head cap screws
Solar Panel Mounting
- Install the mounting bracket onto a 1-1/2” to 2” pole using the included U-bolt hardware or attach the bracket to a panel as shown below.
- Ensure the arrow on the back of the bracket is pointing up upon installation.

- Ensure the arrow on the back of the bracket is pointing up upon installation.
- Install the solar panel onto the mounting bracket by inserting one of the socket head cap screws.
- Insert the screw into the center hole on both mounting pieces.
- Tighten using a 3/16” hex driver.

- Tilt the panel to the desired angle (30° or 45°) and lock into place by inserting the second socket head cap screw.
- Insert the screw through both mounts.
- Tighten using a 3/16” hex driver.

- Connect the UW-6 plug on the Solar Power Pack to a device with a NexSens UW-6 receptacle to supply power.
- Connect to the middle 6-pin port on a NexSens X2 Environmental Data Logger.
Check the Panel Voltage
Before installation, it is recommended to check the solar panel battery voltage using a DC multimeter. Measure the potential between pins 1 (V+) and 3 (GND) on the pack’s UW-6 plug connector.
Healthy operational pack voltages range from 12V to approximately 15V, depending on the amount of direct sunlight and the age/health of the installed battery. Batteries should be replaced every 3-5 years
Table 1: UW6 Plug wiring information
IMPORTANT: Solar Power Packs should always be tested outside in direct sunlight. Solar radiation through a window is inadequate to charge the internal battery on the solar power pack. Connecting the solar power pack to an X2 or other load while inside could drain the internal battery. Always check the batteries’ charge before deployment.
937-426-2703
www.nexsens.com
2091 Exchange Court Fairborn, Ohio 45324























