CONTROLLED
Rhino Double Vertical Jerry Can Holder with Locking Cable 43151
Important: Please read these instructions carefully prior to installation. Please refer to your fitting instruction to ensure that the roof racks are installed in the correct location. Check the contents of kit before commencing fitment and report any discrepancies. Place these instructions in the vehicle’s glove box after installation is complete.

Important Information
Recommendations:
Maximum Capacity: 45kg/ 99Lbs.
Use only non stretch fastening ropes or straps. Do not overload your Rhino-Rack Pioneer Platform/ Tray or Tradie Tray and roof bars. Check your vehicle’s roof carrying capacity. Exercise caution when driving off road as vehicle roof height has been increased. Be aware of increased sensitivity to cross winds.
- Regularly check strap condition for any signs of abrasion. Immediately replace. Do not use a strap that is damaged.
- Only use approved metal or high strength polyethylene jerry cans when transporting fuel.
- Always use the approved colours to identify types of fuel carried.
- Always place fuel behind the driver on the roof or towards the rear of the vehicle.
- Do not overload roof capacity. Always evenly distribute load.
- Remove jerry cans/roof racks when putting vehicle through an automatic car wash.
Caution:
The handling characteristics of the vehicle change when you transport a load on the roof. For safety reasons, we recommend exercising extreme care when transporting large wind-resisting loads; special consideration must be taken into account when negotiating corners and under braking.
Note for Dealers and Fitters:
It is your responsibility to ensure instructions are given to the end user or client.
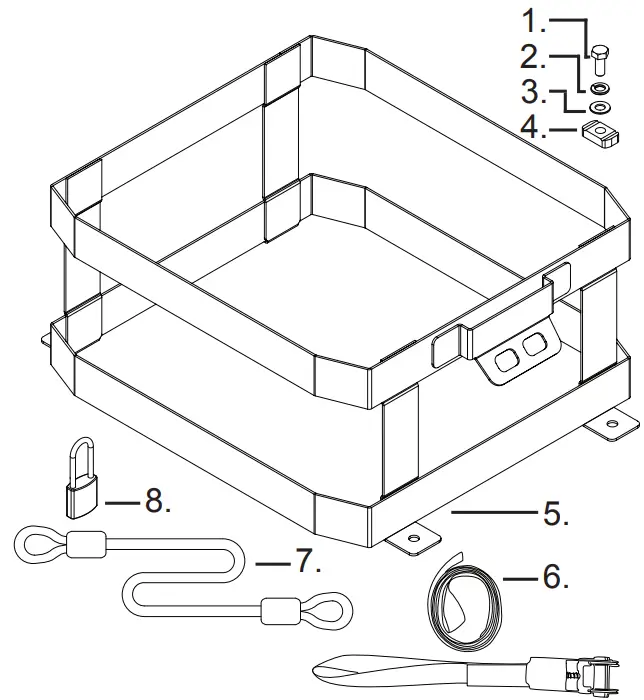
| Parts List | |||
| 1 | M8 x 16 Hex Bolt | 4 | B019 |
| 2 | M8 Spring Washer | 4 | W019 |
| 3 | M8 X 17 Flat Washer | 4 | W020 |
| 4 | M8 Channel Nut | 4 | N003 |
| 5 | Vertical Jerry Can Holder | 1 | CA1355 |
| 6 | Ratchet Strap | 1 | CA1133 |
| 7 | Locking Cable 1.2m | 1 | CA1496 |
| 8* | Pad Lock | 1 | – |
| 9 | Instructions | 1 | R478 |
Tools Required:
13mm Wrench.

*Not Included
Layout

- Using item 1,2,3 and 4, install four sets of hardware. Finger tighten.

- Slide the four channel nuts into the openings at the front or rear of the tray. Push back into desired position above one of the trays crossbars.

When Jerry Can Holder is in place, tighten with a 13mm wrench. - Loop the two parts of the ratchet strap through themselves to tighten in position on the tray crossbar. Place them on either side of the Jerry Can Holder.

- Place Jerry Cans into holder. Pull strap through Ratchet and tighten. The holder can house 2x 10L or 2x 20L Jerry Cans.

- Note: A padlock can be used to secure the Jerry Cans from theft.

| Rhino-Rack 3 Pike Street, Rydalmere, NSW 2116, Australia. (Ph) (02) 9638 4744 (Fax) (02) 9638 4822 | Document No: R478 Prepared By: Kayle Everett Authorised By: Chris Murty | Fit time: 15min Issue No: 01 Issue Date: 01/06/15 |
These instructions remain the property of RhinoRack Australia Pty. Ltd. and may not be used or changed for any other purpose than intended.



















