
PLANTRONICS + POLYCOM. NOW TOGETHER AS
Voyager Focus UC
User Guide
Overview
Headset

| Volume up/down | |
| Track backward* | |
| Play/pause music* | |
| Track forward* | |
| ANC | Active noise canceling |
| Charge port | |
| Active call = mute/unmute Idle = OpenMic (hear your surroundings) | |
![]() | Headset LEDs for pairing, battery status, online indicator |
| Call button ([ ]) | |
| Power button | |
| Bluetooth pair button |
NOTE *Functionality varies by application. Does not function with web-based apps.
Charge stand*
NOTE *Contents may vary by product.
NOTE Both the charging stand and micro USB cable can be plugged into either a computer or wall charger. It is only necessary to plug the charge stand into a computer to update the firmware.
USB Bluetooth adapter
| USB LEDs | What they mean |
| Red and blue flashes | Pairing |
| Solid Blue | Pairing successful; Connected |
| Blue flashes | On a call |
| Solid red | Mute active |
| Purple flashes | Streaming music/media from computer |
Connect and pair
Connect to PC
Your Bluetooth USB adapter comes pre-paired to your headset.
- Insert the Bluetooth USB adapter into your laptop or PC.

- Pairing is successful when you hear “pairing successful” and the USB adapter LED is solid blue.
- OPTIONAL: Headset call control Some softphones require the installation of Plantronics Hub for Windows and Mac (plantronics.com/software) to enable headset control (answer/end and mute) functionality.
NOTE Plantronics Hub software also allows you to customize your headset’s behavior through advanced settings and options.
Configure USB adapter
Your high-fidelity Bluetooth USB adapter comes ready to take calls. If you want to listen to music, you will need to configure your Bluetooth USB adapter.
Windows
- To configure your Bluetooth USB adapter to play music, go to Start menu > Control Panel > Sound > Playback tab. Select Plantronics BT600, set it as the Default Device, and click OK.
- To pause music when you place or receive calls, go to the Start menu > Control Panel > Sound > Communications tab and select the desired parameter.
Mac
- To configure the Bluetooth USB adapter, go to the Apple menu > System Preferences > Sound. On both the Input and Output tabs, select Plantronics BT600.
Pair to mobile device
- To put your headset in pair mode, press and hold the power button towards the Bluetooth icon until you hear “pairing” and the headset LEDs flash red and blue.

- Activate Bluetooth on your phone and set it to search for new devices.
• iPhone Settings > Bluetooth > On*
• Android Settings > Bluetooth: On > Scan for devices*
NOTE *Menus may vary by device. - Select “PLT Focus.”
If necessary, enter four zeros (0000) for the passcode or accept the connection.
Once successfully paired, you hear “pairing successful” and the headset LEDs stop flashing.
NOTE Your headset can pair with up to 8 devices but only maintain 2 connections simultaneously; this includes the Bluetooth USB adapter.
Pair USB adapter again
- Insert the high-fidelity Bluetooth USB adapter into your laptop or computer and wait for your computer to recognize it.
- Put your headphones in pair mode.
- Put your Bluetooth USB adapter into pair mode by gently pressing and holding the pair button with a pen or paperclip until the Bluetooth USB adapter flashes red and blue.
Pairing is successful when you hear “pairing successful” and the Bluetooth USB adapter LED is solid blue.
Fit and charge
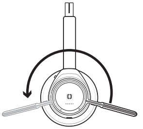
Wear on the right or left
To position, the microphone on the right or left side, rotate the microphone boom up and over.
Adjust the boom so it points to the corner of your mouth.
TIP Your headset senses when you change the microphone boom from one side to the other and syncs the audio and controls specific to each side.
Charge your headset
IMPORTANT Before using, charge the headset fully to reset the accuracy of the talk time prompts.
Charge your headset with the charging stand or the micro USB cable. The headset LEDs flash when charging. It takes up to 2 hours to fully charge your headset. The LEDs turn off once charging is complete.
NOTE Both the charging stand and micro USB cable can be plugged into either a computer or wall charger. It is only necessary to plug into a computer to update the firmware.

| Headset LEDs | Battery status |
| 4–5 blue blinks | Battery high |
| 2–3 blue blinks | Battery medium |
| 1 red blink | Battery low |
| flashing red | Battery critical; Recharge headset |
Check headset battery status
There are several ways to check your headset battery status.
- Wearing the headset, tap the Call
button and listen to the voice alert (smartphone only). - When not wearing the headset, tap any button except the Call button and observe the headsLEDs.
- Place the headset in the charging cradle and observe the headset LEDs.
Load software
Some softphones require the installation of Plantronics Hub for Windows and Mac to enable headset control (answer/end and mute) functionality.
- Install Plantronics Hub for Windows and Mac onto your computer by visiting plantronics.com/software.
- Manage your headset settings with your computer or mobile device with Plantronics Hub for Windows and Mac or Plantronics Hub for iOS and Android, respectively (plantronics.com/software).
| Plantronics Hub | iOS and Android | Windows and Mac |
| Call control for softphones | X | |
| Change headset language | X | |
| Update firmware | X | |
| Turn features on/off | X | X |
| View user guide | X | |
| Battery meter | X | X |
The basics

| Volume up/down | |
| Track backward* | |
| Play/pause music* | |
| Track forward* | |
| ANC | Active noise canceling |
| Charge port | |
| Active call = mute/unmute Idle = OpenMic (hear your surroundings) | |
![]() | Headset LEDs for pairing, battery status, online indicator |
| Call button ([ ]) | |
| Power button | |
| Bluetooth pair button |
NOTE *Functionality varies by application. Does not function with web-based apps.
Make/Take/End Calls
If your smartphone has a voice-enabled assistant, press and hold the Call
Mute/unmute
- Tap the red Mute button
- Take off/put on your headset while on an active call (requires active smart sensors)
Mute on reminder*
If you have muted an active call and you start to speak, then a desktop notification reminds you that you are on mute. You can add a voice prompt notification by managing your mute features with Plantronics Hub for Windows and Mac.
OpenMic
Control the level of ambient noise you hear by adjusting the volume wheel.
Volume
- Put on/take off the headset (requires active smart sensors)
- Tap the Play/pause
button
NOTE Functionality varies by application. Does not function with web-based apps.
Track selection
Tap the Forward button
or Back button
to control the track selection.
NOTE Functionality varies by application. Does not function with web-based apps.
Use sensors
Smart sensors respond when you put on or take off your headphones.
| With active sensors | putting on the headset will: | taking off the headset will: |
| Call | answer the call | mute the headset |
| Music/media | resume music/media (if playing previous to taking off)* | pause music/media (if playing)* |
| Mute | mute if on an active call |
NOTE *Functionality varies by application. Does not function with web-based apps.
Reset sensors
You may need to reset the sensors if they are not working as expected.
There are two ways to reset the headset sensors. Choose:
- With your headset powered on, charge your headset on the charge stand for 10 seconds
- Press and hold both the Mute
and Play/pause
buttons for more than 4 seconds until the LEDs flash purple twice, being careful to not touch the earcup padding or allow it to come in contact with surfaces
Disable sensors
You can disable your headset smart sensors in several ways:
- Manage sensors through Plantronics Hub software
• Hold both the Mute
and Call
buttons for more than 4 seconds until the LED flashes purple then red. Repeat to reactivate; the LED flashes purple than blue
NOTE Sensors cannot be disabled while streaming audio.
ANC
Active Noise Cancelling (ANC) reduces external noise and enhances your music and sound quality.
Your headset ships with ANC on. To turn ANC off, slide the switch away from “ANC.”
More Features
DeepSleep mode
If you leave your headphones powered on but out of range of your paired phone or USB adapter for more than 7 days, your headset conserves its battery power by entering into DeepSleep mode.
Once back in range with your phone or USB adapter, press the Call contrl
bution to exitDeepSleep mode.
Answer calls from a second device
It’s easy to answer calls from two devices (including a softphone).
When on a call, you hear a ringtone notification of the incoming call from the second paired device.
To answer a second call from the other device, first, tap the Call
button to end the current call and tap the Call button again to answer the new call. If you choose to not answer the second call, it will go to voicemail.
Change language
You can change the voice prompts language of your headset (for example “mute on”).
- Download Plantronics Hub for Windows/Mac at plantronics.com/software.
- Dock your headset in the charging stand and plug it directly into your computer.
- Disconnect your headset from other devices; this includes unplugging your USB adapter from the computer.
- Open Plantronics Hub for Windows/Mac and go to Settings > Language to view language choices for voice prompts.
Update firmware
Firmware updates are designed to keep your headset current with the latest technology.
Update your firmware to:
- Change voice alert/command languages
- Improve performance
- Add new features to your device
1 Download Plantronics Hub for Windows/Mac at plantronics.com/software.
2 To update your headset firmware, dock your headset in the charging stand and plug it directly into your computer. Disconnect your headset from other devices; this includes unplugging your USB adapter from the computer.
3 Open Plantronics Hub for Windows/Mac and check the Updates tab for firmware update alerts.
TIP - Do not answer or place a call during the update
What’s in the box

Troubleshoot
| When I use my headset with a softphone, the headset call control and mute buttons don’t work | Check the following:
|
| I can’t unmute my headset when I’m on a softphone call. | Ensure that you have Plantronics Hub for Windows/Mac v. 3.6 or later installed. |
| If your headset sensors are not working as expected, you may need to reset the sensors. See Reset sensors. |
| During a call, nobody can hear me. | Configure the headset as the recording/output default device. |
| During a call, I can’t hear anybody. | Configure the headset as the playback/input default device. |
| During a call, I get interference and drops in sound. | Your headset is configured for optimal performance during conference calls. Stereo telephony is on by default. To increase Bluetooth density, change the setting from stereo telephony to mono telephony by holding the Mute button for four seconds while not on a call, until you hear “Wideband stereo off.” You can also change the setting in Plantronics Hub for Windows/Mac by going to Settings > Wireless > Extended Range Mode. |
| Music is not coming through my headset. | To configure your USB adapter to play music, see Configure USB adapter. |
| On my Mac, if I’m listening to streaming audio and take off the headset, iTunes starts playing when I put the headset back on. | This is a known issue. Turn off the play/pause setting in the sensors tab of Plantronics Hub for Windows/Mac. |
| When I play music and a call comes in, the music is too loud or doesn’t pause. | To configure your USB adapter to play music, see Configure USB adapter. |
| The headset talk time is not accurate. | Charge the headset fully to reset the accuracy of the talk time prompts. |
| I hear an echo when not on a call. | Check and see if OpenMic is on by pressing the red mute button on the boom when you are not on a call. Our exclusive OpenMic feature lets you control the level of ambient noise you hear. |
Support
0800 410014
For warranty details, go to plantronics.com/warranty.
NEED MORE HELP?
plantronics.com/support

| Plantronics, Inc. 345 Encinal Street Santa Cruz, CA 95060 United States | Plantronics BV South Point Building C Scorpius 140 2132 LR Hoofddorp, Netherlands |
© 2019 Plantronics, Inc. Plantronics, Voyager, DeepSleep, and Simply Smarter Communications are trademarks of Plantronics, Inc. registered in the US and other countries. Bluetooth is a registered trademark owned by Bluetooth SIG, Inc. and any use by Plantronics, Inc. is under license. All other trademarks are the property of their respective owners.
Patents: US 8,208,673; 8,494,153; CN ZL201530152759.7; ZL201530152785.X; EM 002700138; 002700146; IN 272226; 272227; KO 30-833989; TW
D171945; patents pending.
205084-06 (09.19)




Pairing is successful when you hear “pairing successful” and the Bluetooth USB adapter LED is solid blue.















