PIXEL LC-8 RGB Light Remote Controller User Manual
INTRODUCTION
Thank you for purchasing our products!
LC-8 RGB LIGHT REMOTE CONTROLLER
This product has three modes: HSI, CCT, and FL5. In different modes, color gamut, saturation, brightness value, color temperature, and light effects can be adjusted. Applies FSK 2.4 GHz wireless transmission technology, separate group frequency, and independent remote control. Without mutual interference, it enables you to easily control the fill light. With the low-power consumption display screen, the parameters can be easily understood and adjusted. This user manual is aimed to provide better understand on how to use the product and help you simply handle the operation methods.
WARNING
- This product is an accessory for other electronic products. There might be a little defect possibility due to environmental issues.
- Power off the device and remove the batteries for long periods of non use.
- The batteries should be installed correctly. Otherwise, it may cause the leak of corrosive liquids, heating or explosion.
- Do not use this product in high-temperature locations, such as an enclosure car. Do not expose this product to strong direct sunlight, car dashboard, or other overheating places.
- Keep it dry. Do not touch this product with wet hands. Do not expose this product to water or rain.
- Do not use it with inflammable gas. Otherwise, it may cause an explosion or fire.
LIST OF ITEMS

- Display Screen
- Mode Setting
- Dial Selector
- Quick Brightness Adjustment
- Channel Setting
- Confirm Button
- Group Setting
- Battery Compartment
- Power ON/OFF Button
DISPLAY
Color Gamut mode (HSI)

Light Effect Mode (FLS)
Color temperature mode (CCT)
- Channel
- Brightness
- Color Gamut
- Saturation
- Group Display
- Mode
- Battery Display
- NO
- Effects
- Color Temperature
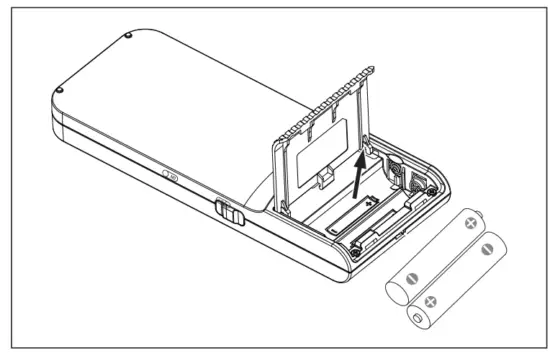
INSTALL BATTERIES
Install and Change Batteries
When in low battery, the low battery icon
on the display screen blinks, it shows that the battery is running out. Please be ready to spare batteries.
The transmitter is powered by AAA batteries.
Note: Please install batteries correctly to the compartment according to the + and – terminal of the batteries.

USAGE
- Power ON/OFF
Push the Power Button upward to
, the screen will display the relevant parameter values. Push it downward to
,the remote controller will be turned off.
The standby time of the remote controller is 30 minutes, it will be automatically turned off without any action in 30 minutes. In order to prevent the auto-shut-down function, press any button to wake it up. - Channel Setting
Press the button [CH], the icon ton the top left corner) will keep flashing. Then rotate the dial to switch the channel between 1 to 48. Press the Confirm Button or wait 6 seconds to confirm the setting.
Note The remote controller only works with the LED panel lights under the same channel. - Group Setting
Press the [GP] button to switch the group between A/B/C/D/E/F f6 groups in total).
Note: Remote controller only works with the LED panel lights under the same channel. - Brightness Quick Adjustment
Press the Brightness Quick Adjustment button
to quickly cyclically adjust the brightness between 09’o, 1%, 2596, 5096, 75%, and 10096 {Ono stands for turning off the lights).
Turn off all lights under the same group
Press and hold the Brightness Quick Adjustment button
for about 3 seconds, and the screen will display [ALL OFF? to turn off all the lights under the same group; Press and hold
again for about 3 seconds to switch back to the default mode. - Mode Setting
Press the button
to switch cyclically between the three modes of Color Gamut Mode (HSI), Color Temperature Mode {CCT), Light Effect Mode {FLS). - Color Gamut Mode fHSI} Adjustment
- Press the
switch button, the icon [HSI] will be displayed on the upper right corner of the display screen. Press the Confirm Button continuously to move the lighted icon to brightness adjustment/full-color gamut adjustment/saturation adjustment. Rotate the dial to adjust the parameters of brightness from 0 to 100, full color gamut from 0 to 360 °, and saturation from 0 to 100. - Brightness Control
After entering the Color Gamut Mode (HSI), continuously press the Confirm Button to move the lighted icon to the brightness setting position
rotate the dial to adjust the brightness from 0 to 100%. Rotate to left to decrease the brightness parameter, and rotate to right to increase the brightness parameter. - Full Gamut Adjustment
After entering the Color Gamut Mode (HSI), continuously press the Confirm Button to move the lighted icon to the full color gamut setting position
land rotate the dial to adjust the full gamut from 0 to 360 ° - Saturation Control
After entering the Color Gamut Mode (HSIA, continuously press the Confirm Button to move the lighted icon to the saturation setting position
, rotate the dial to adjust the saturation from 0 to 100%, rotate to left to decrease the saturation parameter, and rotate to right to increase the saturation parameter.
- Press the
- Color Temperature Mode Regulation {CCT}
Press the switch button
, the icon CCT will be displayed on the upper right corner of the display screen. Press the Confirm Button continuously to move the setting icon to brightness adjustment/color temperature adjustment. Rotate the dial to adjust the parameters of brightness from 0 to 100 and color temperature from 2600 to 10000K.- Color Temperature Adjustment
After entering the Color Temperature Mode (CCT), continuously press the Confirm Button to move the lighted icon to the color temperature setting position
. Rotate the dial to adjust the color temperature of from 2600 to 10000K. Rotate to left to decrease the parameter of color temperature, and rotate to right to increase the parameter of color temperature.
- Color Temperature Adjustment
- Light Effect Mode Adjustment {FLS}
Press the
button, the icon FLSJ will be displayed on the upper right corner of the display screen. Press the Confirm Button continuously to move the lighted icon to brightness adjustment/special effect adjustment. Rotate the dial to adjust the parameter value of brightness from 0 to 100 and select a specific effect.- Light Effect Selection
After entering the Light Effect Mode {FLS, continuously press the Confirm Button to move the lighted icon to the light effect setting position
, rotate the dial to select the required light effect, and select from # 01 to # 21 light effect.
- Light Effect Selection
- If you set light parameter values through the remote controller, all current settings will not be saved after shutdown; If you set the parameter values through the control panel on the light, the current settings will be automatically saved for next use.
SPECIFICATIONS
| Product Model | RGB Light Remote Controller | Mode | HSI CCT FLS |
| Model | LC-8 | Color Saturation Adjust | 0-100% and 0%.1%. 25%. 50%. 75%.100% |
| Frequency | FSK2.4GHz | Display | LCD 2.2in |
| Channel | 48 Channel (1-48) | Battery | AAA*2 Battery |
| Group | 6 Group (A.B.C.D.E.F) | Size | 136x52x12mm/5.35×2.1×0.48in |
| Net Weight | Approx. 71g/2.5oz (Excluding batteries) |
FCC Warning
This device complies with part 15 of the FCC Rules. Operation is subject to the following two conditions:
(1) This device may not cause harmful interference, and (2) this device must accept any interference received, including interference that may cause undesired operation.
Any Changes or modifications not expressly approved by the party responsible for compliance could void the user’s authority to operate the equipment.
Note: This equipment has been tested and found to comply with the limits for a Class B digital device, pursuant to part 15 of the FCC Rules. These limits are designed to provide reasonable protection against harmful interference in a residential installation. This equipment generates uses and can radiate radio frequency energy and, if not installed and used in accordance with the instructions, may cause harmful interference to radio communications. However, there is no guarantee that interference will not occur in a particular installation. If this equipment does cause harmful interference to radio or television reception, which can be determined by turning the equipment off and on, the user is encouraged to try to correct the interference by one or more of the following measures:
- Reorient or relocate the receiving antenna.
- Increase the separation between the equipment and receiver.
- Connect the equipment into an outlet on a circuit different from that to which the receiver is connected.
- Consult the dealer or an experienced radio/TV technician for help.
The device has been evaluated to meet general RF exposure requirement. The device can be used in portable exposure condition without restriction.

















