IRBdi 5150 Built in Refrigerator without Freezer White
User Manual
User Guide
Quality, Design and Innovation
home.liebherr.com/fridge-manuals
IRBdi 5150 Built in Refrigerator without Freezer White
The manufacturer is constantly working to improve all types and models. Therefore, please be aware that we reserve the right to make changes to the shape, equipment and technology.
| Symbol | Explanation |
| Read instructions Please read the information in these instructions carefully to understand all of the benefits of your new appliance. | |
| Full instructions on the internet You can find detailed instructions on the internet using the QR code on the front of these instruction or by entering the service number at home.liebherr.com/fridgemanuals. The service number can be found on the serial tag: ![]() | |
| Check appliance Check all parts for transport damage. If you have any complaints, please contact your agent or customer service. | |
| Differences These instructions apply to a range of models, so there may be differences. Sections that apply to certain models only are indicated by an asterisk (*). | |
| Instructions and results Instructions are marked with a | |
| Videos Videos about the appliances are available on the YouTube channel of Liebherr-Hausgeräte. |
These operating instructions apply to:
| IRBb / d / e | 40.. / 41.. / 45.. / 48.. / 51.. |
| IRBdi | 51.. |
The appliance at a glance
1.1 Delivered contents
Check all parts for damage during transport. If you have any complaints, please contact the dealer or Customer Service (see 9.4 Customer service) .
Delivery contains the following parts:
– Integrated appliance
– Equipment (depending on your model)
– Installation parts (depending on your model)
– “Quick Start Guide”
– “Installation Guide”
– Service brochure
1.2 Overview of the appliance and its equipment
Temperature zone
(A) Fridge
(B) BioFresh
(C) Coldest zone
Equipment
| (1) Controls (2) 4-star freezer* (3) Fan with FreshAir active carbon filter (4) Dry rear panel (5) Split shelf (6) Shelf (7) InfinitySpring* (8) VarioSafe* (9) Space for baking tray (10) Variable bottle shelf | (11) HydroBreeze* (12) Lid for Fruit & VegetableSafe (13) Fruit & Vegetable-Safe (14) Drainage outlet (15) Meat & Dairy-Safe (16) Rating plate (17) Door racks (18) Bottle rack (19) VarioBoxes* |
Note
The shelves, drawers, and baskets are arranged for optimal energy efficiency in the factory configuration. However, changes to the arrangement within the given insertion options – for example the arrangement of shelves in the fridge compartment – have no effect on energy consumption.
1.3 Range of appliance use
Normal use
The appliance is only suitable for cooling food for residential or other similar environments.
This includes the following types of uses
– in staff kitchens, bed and breakfasts,
– by guests in country homes, hotels, motels and other types of accommodations,
– for catering and similar wholesale services.
The appliance is not suitable for freezing food;*
All other types of uses are not permitted.
Foreseeable misuse
The following uses are specifically prohibited:
– Storage and cooling of medication, blood plasma, laboratory preparations or similar substances and products in accordance with the Medical Device Directive 2007/47/EC
– Use in areas at risk of explosion
Incorrect appliance use can cause damage to the stored products or cause them to spoil.
Climate ratings
The appliance is set to operate within specific ambient temperature limits according to its climate rating The climate rating for your appliance is printed on the rating plate
Note
To guarantee trouble-free operation, comply with the indicated ambient temperatures.
| Climate rating | for ambient temperatures from |
| SN | 10 °C to 32 °C |
| N | 16 °C to 32 °C |
| ST | 16 °C to 38 °C |
| T | 16 °C to 43 °C |
1.4 Conformity
The refrigerant circuit has been tested for leaks. When installed, the appliance complies with the applicable safety regulations and with the corresponding directives.
| For the EU market:* | The appliance complies with directive 2014/53/EU.* |
| For the GB market:* | The appliance complies with the Radio Equipment Regulations 2017 SI 2017 No. 1206.* |
The full text of the EU Declaration of Conformity is available on the following website: www.Liebherr.com
The BioFresh compartment meets the requirements of a cold storage compartment as set out in DIN EN 62552:2020.
1.5 EPREL Database
Details about energy labeling and ecodesign requirements will be available on the European product database (EPREL) from March 1, 2021. You can access the product database at the following link: https://eprel.ec.europa.eu/ You will be asked to enter the model ID. You can find the model ID on the type plate.
General safety instructions
Please keep these operating instructions in a safe place so you can refer back to them at any time.
If you pass the appliance on, please hand these operating instructions to the new owner.
Read these operating instructions before use in order to use the appliance safely and correctly. Follow the instructions, safety instructions and warning messages included at all times. They are important for ensuring you can operate and install the appliance safely and without any problems.
Dangers for the user:
– This appliance can be operated by children as well as by persons with reduced phys‐ ical, sensory or mental capabilities or lack of experience and knowledge if they are supervised or have been instructed in the safe use of the appliance and understand the associated risks. Children must not play with the appliance. Cleaning and user maintenance must not be performed by children unless they are supervised. Children between the ages of 3 and 8 may load and unload the appliance. Children under
the age of 3 must be kept away from the appliance if they are not constantly supervised.
– The socket must be easily accessible so that the appliance can be disconnected quickly from the electricity in an emer‐ gency. It must not be located in the area behind the appliance.
– When disconnecting the appliance from the outlet, always take hold of the plug. Do not pull on the cable.
– Disconnect the power plug or switch off the power if a fault occurs.
– Do not damage the mains power line. Do not operate the appliance from a defective mains power line.
– Repairs and work on the appliance may only be carried out by after sales service or other specifically trained qualified personnel.
– Only install, connect and dispose of the appliance in accordance with the instructions.
– Only operate the appliance after it has been installed.
– The manufacturer is not liable for damage arising from incorrect connection to the water supply.*
Risk of fire:
– The refrigerant contained within the appliance (specifications on the rating plate) is environmentally friendly, but flammable.
Leaking refrigerant can ignite.
• Do not damage the pipes of the refrigerant circuit.
• Do not handle ignition sources inside the appliance.
• Do not use electrical devices inside the appliance (e.g. steam cleaners, heaters, ice cream makers, etc.).
• If refrigerant leaks: Remove naked flames or ignition sources located near the area of the leak. Air the room well. Contact the customer service department.
– Do not store explosive materials or spray cans with flammable propellants, such as e.g. butane, propane, pentane, etc. in the appliance. You can recognize such spray cans by the printed contents or a flame symbol. Any leaking gasses can be ignited by electrical components.
– Keep lit candles, lamps and other objects with naked flames away from the appliance so they do not cause a fire.
– Alcoholic beverages or other containers holding alcohol must always be tightly sealed for storage purposes. Any leaking alcohol can be ignited by electrical components
Tipover hazard:
– Do not stand or climb on the base, drawers, doors, etc. This applies in particular to children.
Risk of food poisoning:
– Do not consume food that has passed its best before date.
Danger of frostbite, feelings of numbness and pain:
– Avoid prolonged skin contact with cold surfaces or chilled/frozen food or take protective measures, e.g. wear gloves.
Risk of injury and damage:
– Hot steam may lead to injuries. Do not use any electrical heating or steam cleaning equipment, naked flames or defrosting sprays for defrosting
– Do not remove ice with sharp objects
Risk of crushing:
– Do not reach into the hinge when opening and closing the door. Fingers may get trapped.
Symbols on the device:
The symbol can be on the compressor. It refers to the oil in the compressor and refers to the following danger: Can be lethal if swallowed or inhaled. This notice only applies for recycling. There is no danger during normal operation.
The symbol is located on the compressor and indicates the danger of inflammable materials. Do not remove the label.
This label or a similar one can be located on the rear of the appliance. It refers to the foamed-in panels in the door and/or the housing. This notice only applies for recycling. Do not remove the label.
Observe the warning messages and other detailed information in the other sections:
| DANGER | indicates a hazardous situation, which if not avoided, will result in death or serious injury. | |
| WARNING | indicates a hazardous situation, which if not avoided, could result in death or serious injury. | |
| CAUTION | indicates a hazardous situation, which if not avoided, will result in minor or moderate injury. | |
| NOTICE | indicates a hazardous situation, which if not avoided, could result in damage to property. | |
| Note | indicates useful advice and tips. |
Start-up
3.1 Turning on the appliance
Make sure that the following requirements are met:
- Appliance is installed and connected according to installation instructions.
- All adhesive strips, adhesive and protective films, as well as transport safety devices in and on the appliance are removed.
- All advertising material has been removed from the drawers.

Fig. 2
Switch on the appliance using the display.
Fig. 3
Select the language.
The status display appears.
The appliance starts in DemoMode:
If the appliance starts in DemoMode, you can deactivate
DemoMode within the next 5 minutes.
Fig. 4
Press DemoMode for 3 seconds.
DemoMode is deactivated.
Note
The manufacturer recommends:
Place the food inside: Wait for around 6 hours until the set temperature is reached.
Store frozen foods at -18 °C or colder.*
3.2 Insert the equipment
Insert the supplied equipment to help you make the most of the appliance.
Purchase the SmartDevice Box and insert it (see smart device.liebherr.com).*
Install the SmartDevice app (see apps.home.liebherr.com).
Insert the water tank (see 8.2.2 Inserting the water tank) .*
Insert the water filter (see 8.3.2 Installing the water filter) .*
Insert the drip tray (see 8.2.3 Removing / inserting the drip tray) .*
Note
You can purchase accessories from the Liebherr household appliance store (home.liebherr.com).
Food management
4.1 Storing food
WARNING
Danger of fire
u Do not use electrical appliances inside the food storage compartments of the appliance, unless they are of the type recommended by the manufacturer.
Note
Insufficient ventilation results in an increase in energy consumption and reduction of the refrigerating performance
Always keep the air slots unobstructed.
When storing food, remember these basic rules:
- Do not obstruct the air vents on the back wall.
- Do not obstruct the air vents on the fan.
- Food is well sealed.
- Food that easily absorbs or emits odor or taste, are in sealed containers or are covered.
- Raw meat or fish is in clean, sealed containers so that other food cannot be touched or drip on them.
- Liquids are in sealed containers.
- Food is stored spaced apart to ensure good air circulation.
Note
Failure to follow these guidelines can lead to food perishing.
4.1.1 Fridge
The natural air circulation means the temperature varies in different sections.
Arranging the food:
In the top section and in the door: butter and cheese, preserves, and tubes.
The coldest zone Fig. 1 (C) is for: easily perishable food such as prepared meals.
4.1.2 BioFresh
BioFresh allows some fresh food to be stored longer compared to conventional cooling.
Food with a “use by” date must still be consumed by the date indicated on the package
Note
If the temperatures drop below 0 °C foods may freeze to each other.
Store cold-sensitive vegetables such as cucumbers, aubergines, zucchini, and cold-sensitive tropical fruit, in the refrigerator compartment.
Fruit & Vegetable-Safe![]()
This provides a fresh storage climate with the lid closed. A moist climate is suitable for storing unsealed food with a high moisture content (e.g. salad, vegetables, fruit).
The humidity depends on the moisture content of the stored items and how frequently the door is opened. You can regulate the moisture.
Arranging the food:
Place unsealed fruit and vegetables.
Excessive moisture: Regulate the air humidity (see 7.11 Humidity control) .
Meat & Dairy-Safe![]()
The DrySafe provides a relatively dry storage environment. A dry climate is suitable for dry or sealed food (e.g. dairy products, meat, fish, sausage).
Arranging the food:
u Place dry or sealed food.
4.1.3 Freezer compartment*
The air temperature in the compartment, which is measured with a thermometer or other measurement devices, can fluctuate. Temperature fluctuations are greater in a half-full or empty compartment, and temperatures can reach -18 °C and above.
Freezing food
You can freeze as many kilograms of fresh food within 24 hours as indicated on the nameplate under “Freeze capacity … kg/24h”.
To ensure that the food freezes quickly to the core, keep to the following quantities per pack:
– Fruit, vegetables up to 1 kg
– Meat up to 2.5 kg
Before freezing, please note the following:*
For maximum freezing capacity: Glass plate is removed.
Arranging the food:
CAUTION
There is a risk of injury from pieces of broken glass! Bottles and cans containing drinks can split or crack when frozen. This applies in particular to carbonated drinks.
Do not freeze bottles and cans containing drinks
Place sealed food in the freezer so that it is in contact with the floor or the side walls.
Defrosting food
– in the fridge compartment
– in the microwave
– in the oven/fan oven
– at room temperature
WARNING
Danger of food poisoning!
Do not re-freeze defrosted food.
Remove only the food you need for now.
Use defrosted food as quickly as possible
4.2 Storage times
The storage times given are guidelines
Food with a “use by” date must still be consumed by the date indicated on the package
4.2.1 Fridge
The best-before date stated on the packaging applies.
4.2.2 BioFresh
Note
You can check the guideline settings in the BioFresh app https://home.liebherr.com/de/deu/service/apps/landingpageapps-emea.html.
Guideline storage times for the Meat & Dairy-Safe
| Butter | at 1 °C | up to 90 days |
| Hard cheese | at 1 °C | up to 110 days |
| Milk | at 1 °C | up to 12 days |
| Sausage, cold cuts | at 1 °C | up to 8 days |
| Poultry | at 1 °C | up to 6 days |
| Pork | at 1 °C | up to 6 days |
| Beef | at 1 °C | up to 6 days |
| Game | at 1 °C | up to 6 days |
Note
Note that higher-protein foods spoil more quickly So, shellfish and crustaceans perish faster than fish, and fish perishes faster than meat.
Guideline storage times for the Fruit & Vegetable-Safe
| Vegetables, lettuce | ||
| Artichokes | at 1 °C | up to 14 days |
| Celery | at 1 °C | up to 28 days |
| Cauliflower | at 1 °C | up to 21 days |
| Broccoli | at 1 °C | up to 13 days |
| Endives | at 1 °C | up to 27 days |
| Mâche | at 1 °C | up to 19 days |
| Peas | at 1 °C | up to 14 days |
| Kale | at 1 °C | up to 14 days |
| Carrots | at 1 °C | up to 80 days |
| Garlic | at 1 °C | up to 160 days |
| Cabbage turnip | at 1 °C | up to 14 days |
| Iceberg lettuce | at 1 °C | up to 13 days |
| Herbs | at 1 °C | up to 13 days |
| Leeks | at 1 °C | up to 29 days |
| Mushrooms | at 1 °C | up to 7 days |
| Radishes | at 1 °C | up to 10 days |
| Brussels sprouts | at 1 °C | up to 20 days |
| Asparagus | at 1 °C | up to 18 days |
| Spinach | at 1 °C | up to 13 days |
| Savoy cabbage | at 1 °C | up to 20 days |
| Fruit | ||
| Apricots | at 1 °C | up to 13 days |
| Apples | at 1 °C | up to 80 days |
| Pears | at 1 °C | up to 55 days |
| Blackberries | at 1 °C | up to 3 days |
| Dates | at 1 °C | up to 180 days |
| Strawberries | at 1 °C | up to 7 days |
| Figs | at 1 °C | up to 7 days |
| Blueberries | at 1 °C | up to 9 days |
| Raspberries | at 1 °C | up to 3 days |
| Red currants | at 1 °C | up to 7 days |
Guideline storage times for the Fruit & Vegetable-Safe
| Cherries, sweet | at 1 °C | up to 14 days |
| Kiwi | at 1 °C | up to 80 days |
| Peaches | at 1 °C | up to 13 days |
| Plums | at 1 °C | up to 20 days |
| Cranberries | at 1 °C | up to 60 days |
| Rhubarb | at 1 °C | up to 13 days |
| Gooseberries | at 1 °C | up to 13 days |
| Grapes | at 1 °C | up to 29 days |
4.2.3 Freezer compartment*
Guidelines for the shelf-lives of various foods
| Ice cream | at -18 °C | 2 to 6 months |
| Cold cuts, ham | at -18 °C | 2 to 3 months |
| Bread, baked products | at -18 °C | 2 to 6 months |
| Game, pork | at -18 °C | 6 to 9 months |
| Fish, fatty | at -18 °C | 2 to 6 months |
| Fish, lean | at -18 °C | 6 to 8 months |
| Cheese | at -18 °C | 2 to 6 months |
| Poultry, beef | at -18 °C | 6 to 12 months |
| Vegetables, fruit | at -18 °C | 6 to 12 months |
Energy saving
– Always ensure good ventilation. Do not obstruct ventilation openings or grilles.
– Never block air slits in the fan.
– Do not install the appliance in direct sunlight or next to a stove, heater or similar heat source.
– Energy consumption depends on installation conditions such as the ambient temperature (see 1.3 Range of appli‐ ance use) . A warmer ambient temperature can increase
the energy consumption.
– Avoid opening the appliance door for any longer then necessary
– The lower the temperature is set the higher the energy consumption.
– Sort your food items: home.liebherr.com/food.
– All food stored in the appliance should be well wrapped and covered. This prevents frost buildup.
– Only take food out for as long as necessary so that it does not get too warm.
– Insertion of warm foods: first let the food cool down to room temperature.
– Defrost frozen food in the fridge*
– If there is a thick layer of frost in the appliance Defrost the appliance.*
– For longer periods of absence, use HolidayMode (see HolidayMode) .
Use
6.1 Controls and displays
The display provides a quick overview of the temperature setting and the status of functions and settings. You can control the functions and settings either by deactivating/ activating them or by selecting a value.
6.1.1 Status display
(1) Fridge compartment temperature display
(2) Temperature display BioFresh
The Status display shows the set temperatures and is the home display. From there, you can navigate to the options and settings.
6.1.2 Navigation
Navigate in the menu to access the individual functions. An audible signal sounds after confirming a function or setting.
If no selection is made after 10 seconds the display switches to the Status display.
The appliance is operated by swiping and confirming in the display:
Back:
– Confirm your selection in the submenu. The display returns to the menu.
– Select
. The display returns to the function/setting.
Back to Status display:
– Close and open the door.
– Wait 10 seconds. The display changes to the Status display.
6.1.3 Display symbols
The display symbols provide information about the current appliance status.
| Symbol | Appliance status |
| Standby The appliance or temperature zone is turned off. | |
| Flashing number | |
| Appliance is working. Temperature flashes until the set temperature is reached. | |
| Flashing symbol | |
| Appliance is working. Setting is made. |
6.2 Operating logic
6.2.1 Activating/deactivating settings
You can activate/deactivate the following functions:
| Symbol | Function |
| SuperCoolx | |
| PartyMode | |
| HolidayModex | |
| EnergySaver | |
| HydroBreeze* |
x When function is on, the appliance works harder. This means appliance noise when operating may be louder for a short while, and more energy will be consumed.
Swipe left in the display until the function appears.
Confirm selected function with a short tap.
You hear the confirmation tone.
Status appears in the menu.
Function is on/off.
6.2.2 Selecting function value
With the following functions you can set a value in the submenu:
| Symbol | Function |
| Setting the temperature Switch the appliance on/off |
Swipe left in the display until the function appears.
Confirm selected function with a short tap.
Select the setting value by swiping the display.
Setting the temperature
Confirm selected value with a short tap.
You hear the confirmation tone.
The display changes to blue when it is activated.
Display switches back to the menu.
6.2.3 Activating/deactivating settings
You can activate/deactivate the following settings:
| Symbol | Setting |
| WiFi 1 | |
| Entry lock2 | |
| SabbathMode2 | |
| Cleaning Mode2 | |
| Reminders1 | |
| Reset 2 | |
| Switch off 2 |
Swipe left in the display until Settings
appears.
Confirm settings by tapping.
Swipe until you can see the setting you want.
1Activate setting (short press)
Tap briefly to confirm.
You hear the confirmation tone.
Status appears in the menu.
Setting is activated / deactivated.
2 Activate setting (long press)
Press selection for 3 seconds to confirm.
You hear the confirmation tone.
Status appears in the menu.
Display changes.
6.2.4 Selecting the setting value
With the following settings you can set a value in the submenu:
| Symbol | Settings |
| Brightness | |
| Door alarm | |
| Language |
Swipe the display to the left until the settings
are displayed.
Confirm the settings by tapping.
Swipe until you can see the setting you want.
Tap briefly to confirm.
Select the desired setting value by swiping the display.
Tap briefly to confirm.
You hear the confirmation tone.
Status appears briefly in the submenu.
Display switches back to the menu.
6.2.5 Calling up the customer menu
The customer menu provides the following settings:
| Function | |
| BioFresh B-Value1 | |
| C-Value 1 * | |
| Software |
Swipe left in the display until the settings
appear.
Tap settings.
w The submenu appears.
Swipe left in the display until the appliance information
appears.
Press for 3 seconds.
The input menu for a numerical code appears.
Enter the numerical code 151.
The customer menu appears.
Swipe left in the display until the desired setting appears.
1 Select the setting value
Tap briefly to confirm.
You hear the confirmation tone.
Status appears briefly in the display.
The display switches back to the menu.
2 Activate setting
To confirm, press the display for 3 seconds.
You hear the confirmation tone.
Status appears in the display.
The symbol flashes as long as the appliance is working.
6.3 Functions
Turn off appliance
This setting turns off the whole appliance.
Switch off whole appliance
Activating/deactivating (see 6.2 Operating logic) .
Off: Display turns black.
Setting up the WLAN connection
This setting connects the appliance to the internet. The connection is managed in the SmartDevice Box. You can use the SmartDevice-App to add your appliance to a Smar‐
tHome-System. Use the SmartDevice-App or other compat‐ ible partner networks to enjoy advanced options and settings.
Note
The SmartDevice Box is available from the Liebherr Residential Appliances Store (https://home.liebherr.com/shop/de/deu/smartdevicebox.html).
More information about the availability, prerequisites and individual options can be found on the Internet at https://smartdevice.liebherr.com/install.
Use:
– Manage the appliance with the SmartDevice-App or a compatible partner network.
– Enjoy advanced functions and settings.
– Check the appliance status on the SmartDevice-App.
Purchase the SmartDevice Box and insert it (see https://smartdevice.liebherr.com/install).*
Install the SmartDevice app (see https://apps.home.liebherr.com/).
Setting up the WLAN connection
Activate (see 6.2 Operating logic) .
The connection is set up: Connecting appears. The symbol flashes.
The connection is set up: WiFi appears, the display turns blue.
The connection failed: WiFi Error appears.
Disconnecting
Deactivate the setting (see 6.2 Operating logic) .
There is no connection: The symbol is
displayed constantly.
Restoring the connection
Restore settings (see 6.2 Operating logic) .
Connection and other settings are restored to factory settings.
Temperature
The temperature depends on the following factors:
– the number of times the door is opened
– The duration the door is opened
– the room temperature of the installation location
– the type, temperature and amount of food
| Temperature zone | Recommended setting |
| 5 °C | |
| (see BioFresh B-Value) |
Setting the temperature
Set the value. (see 6.2 Operating logic) .
The set temperature is shown on the bottom right of the display.
Setting the temperature in the BioFresh
You can set the temperature using the BioFresh B-Value in the customer menu. (see BioFresh B-Value)
BioFresh B-Value
In the delivery condition of the appliance, the value is set to B5. The status indicator on the display shows the appropriate target temperature in the BioFresh.
You can change this value slightly if a higher or lower ambient temperature makes it necessary. When setting the value, note:
| Value | Description |
| B1 | Lowest temperature |
| B1-B4 | The temperature can drop to below 0 °C, so food can freeze easily. |
| B5 | Default temperature |
| B9 | Highest temperature |
BioFresh B-Value
Choosing the setting
Make your settings in the Customer menu (see 6.2 Operating logic).
C-Value*
The C-Value can be used to set the temperature of the 4*compartment slightly warmer or colder.*
The C-Value is set to C5 by default.*
The 4*-compartment becomes colder with all values less than C5. The 4*-compartment becomes warmer with all values greater than C5.*
Selecting the setting value*
Set value in customer menu (see 6.2 Operating logic) .
D-Value
The D-Value is preset for your appliance and may not be changed.
SuperCool
Select this function for the maximum cooling setting, to reach lower cooling temperatures.
This function is relevant to the fridge section Fig. 1 (A)
You can also reach lower temperatures in the 4-star freezer.*
Use:
– Cool large amounts of food quickly.
– Freeze food.*
Activating/deactivating settings
Using the 4-star freezer: activate the function 3 hours beforehand.*
Using the fridge section: activate the function when you add the goods.
Activating/deactivating (see 6.2 Operating logic) .
-or
Activate/deactivate using the SmartDevice app.*
The function automatically turns off. The appliance goes back to normal mode. The temperature adjusts itself to the set level.
PartyMode
This option offers an assortment of special functions and settings that are useful if you are having a party.
The following functions are activated:
– SuperCool
– InfinitySpring*
You can set any functions you like. Your changes are lost when the option is switched off.
Activating/deactivating settings
Activating/deactivating (see 6.2 Operating logic) .
On: All functions are activated at the same time.
Deactivated: Previously set temperatures are restored.
The function is automatically switched off after 24 hours.
HolidayMode
This function minimizes the energy consumption during an extended absence. The temperature of the refrigerator compartment is set to 15 °C and this is displayed on the
status screen when the temperature has been reached.
Use:
– Save energy if you plan to be away for a while.
– Avoid coming home to bad smells and mold.
Activating/deactivating settings
Empty everything from the fridge section.
Activating/deactivating (see 6.2 Operating logic) .
On: Fridge temperature is raised.
Off: The previously set temperature is restored.
SabbathMode
This setting meets the religious requirements on the Sabbath and Jewish festivals. Turn on SabbathMode to switch off certain controls. This means you can use the appliance without anyone changing any settings.
You can find a list of Star-K-certified appliances at www.star-k.org/appliances.
This appliance has certification from the “Institute for Science and Halacha”.
WARNING
Danger of food poisoning!
If there is a power outage when SabbathMode is on, this message is not saved. When the power is restored, the appliance continues in SabbathMode. Afterwards, the temperature display does not show a message about the power outage.
If there was a power outage during SabbathMode:
Check the quality of the food. Do not consume spoiled food!
What the appliance does in SabbathMode:
– The Status display continuously shows SabbathMode.
– The display is locked for all functions apart from deactivating SabbathMode.
– Any functions/settings that are already on, remain active.
– The display stays bright when the door is closed.
– Reminders are disabled. The set timer interval is also stopped. The function is no longer executed in SabbathMode.
– Reminders and warnings are not displayed. No acoustic signals are emitted and the display does not show warnings / settings such as temperature alarm or door alarm.
– InfinitySpring is out of use.*
– The internal light is off.
– The defrost cycle only works for the specified time without taking account of fridge use.
– After a power cut the appliance automatically returns to SabbathMode.
Activating/deactivating SabbathMode
To activate this function, swipe the display until you reach Settings
and press for 1 second. The menu shows the available settings.
Swipe the display until the symbol for SabbathMode (Menora) appears. Press the symbol for 3 seconds.
The display changes color.
SabbathMode has been activated.
To deactivate the function, press the display for 3 seconds.
SabbathMode has been deactivated.
EnergySaver
This function reduces energy consumption. If you activate this function, the cooling temperature increases.
| Temperature zone | Recommended setting | Temperature when EnergySaver activated |
| 5 °C | 7 °C |
Use:
– Save energy.
Activating/deactivating settings
Activating/deactivating (see 6.2 Operating logic) .
Activated: Higher temperatures are set in all temperature zones.
Deactivated: Previously set temperatures are restored.
HydroBreeze*
HydroBreeze creates a fine mist in the drawer every 90 minutes for 4 seconds when the door is closed. This function is also activated when you open the door. The function
is not activated when the appliance is delivered.
Use:
– For storing unpackaged salad, vegetables and fruit with high natural moisture levels.
The following settings are possible:
- 1: Function duration when the door is opened 4 s
- 2: Function duration when the door is opened 6 s
- 3: Function duration when the door is opened 8 s
- Off: HydroBreeze is deactivated.
Activating/deactivating settings
Activating/deactivating (see 6.2 Operating logic) .
-or
Activating/deactivating in the Liebherr SmartDeviceApp.*
CleaningMode
This setting makes it easy to clean the appliance.
This setting is relevant to the fridge section Fig. 1 (A).
Use:
– Clean the fridge section manually.
– Clean the InfinitySpring.*
What happens with the appliance when this setting is on:
– The display shows CleaningMode permanently.
– The refrigerator compartment is switched off.
– The internal light is on.
– Reminders and warnings are not shown. There is no acoustic signal.
– InfinitySpring is out of use.*
Activating/deactivating settings
Activate/deactivate setting (see 6.2 Operating logic) .
On: Fridge compartment is switched off. Light stays on.
Off: preset temperature is restored.
The setting is automatically deactivated after 60 minutes.
Then the appliance continues operation in normal mode.
Display brightness
With this setting, you can choose a brightness level for the display.
You can set the following brightness levels:
– 40%
– 60%
– 80%
– 100%
Choosing the setting
Set the level (see 6.2 Operating logic) .
Door alarm
Set the time before the door alarm (see Close the door) sounds.
Options are as follows:
– 1 min
– 2 min
– 3 min
– Off
Choosing the setting
Set the level (see 6.4 Error messages) .
Entry lock
This setting avoids accidental operation of the appliance, e.g. by children.
Use:
– Avoid unintentional changing of settings and functions.
– Avoid unintentional switching off of the appliance.
– Avoid unintentional temperature adjustments.
Activating/deactivating settings
Activating/deactivating (see 6.2 Operting logic).
Language
This setting lets you choose the language of the display.
Choose from the following languages:
– German
– English
– French
– Spanish
– Italian
– Dutch
– Czech
– Polish
– Portuguese
– Russian
– Chinese
Activating/deactivating settings
Activating/deactivating (see 6.2 Operating logic) .
Info
This setting allows the appliance information to be read out as well as access to the customer menu.
It provides the following information:
– Model name
– Index
– Serial number
– Service number
View appliance data
Swipe in the display until Settings
appears.
Confirm the display.
Swipe in the display until About appears.
Read the appliance data.
Reminder
Reminders are displayed acoustically by a beep and visually by a symbol in the display. The signal gets louder until the alert stops.
Replace water filter*
This message appears when the water filter needs replacing.
Replace the water filter every 6 months.
Confirm the message with OK.
The service interval resets.
The water filter guarantees the best water quality.
Replace the FreshAir active carbon filter
This message appears when the air filter needs replacing.
Replace the air filter every six months.
Confirm the message with OK.
The service interval resets.
The air filter guarantees the air quality in the fridge.
Activate setting
Activating/deactivating (see 6.2 Operating logic) .
Reset
This function resets all settings to the factory settings. All settings that you have made thus far will be reset to their original values.
Activate the setting
Activating (see 6.2 Operating logic) .
6.4 Error messages
Error messages appear in the display. There are two categories of error message:
| Category | Meaning |
| Message | Reminder of general procedures. You can carry out these procedures to eliminate the message. |
| Warning | Appears when there are malfunctions. A signal sounds in addition to the display. The signal becomes louder until you acknowledge by tapping the display. You can eliminate simple defects yourself. For more serious defects, you must contact customer service. |
6.4.1 Warnings
Close the door
This message appears if the door is open too long.
You can set the time before this message appears.
Stop alarm: Confirm the message.
-or
Close the door.
Error
This message appears when there is a fault with the appliance. An appliance component has an error.
Open the door.
Take note of the error code.
Confirm the message.
The signal tone stops.
The status display appears.
Close the door.
Contact customer service. (see 9.4 Customer service)
6.4.2 Message
Water tank*
This message appears if there is not enough water in the water tank.
Fill the water tank.
The IceMaker produces ice cubes.
When the water tank is full and the following message appears: Check if the float is stuck.
If necessary, drain the water and release the float with a thin object such as a cotton bud.
When the water tank is full and the following message appears: Contact customer service. (see 9.4 Customer service)
6.4.3 DemoMode
If “D” appears in the display, demo mode is on. This feature is designed for retailers. The cooling features are disabled.
Switching off DemoMode
When you see a time counting down:
Confirm within the countdown.
DemoMode is off. If there is no countdown:
Disconnect the power plug.
Reconnect the power plug.
DemoMode is off.
Equipment
7.1 4-star freezer*
7.1.1 Open/close freezer

Open freezer:
Reach into the handle area from below.
Push the handle plate and pull the door forward at the same time.
Close freezer:
Close the door and press from the front at the same time.
Door is engaged.
7.2 Door racks
7.2.1 Moving/removing door racks

Slide racks up.
Pull to the front.
Re-insert in reverse order.

You can use just one or both VarioBoxes. To store oversized bottles, suspend just one box over the bottle rack.*
Move the VarioBox shelf:*

Pull up and out.*
Replace at any position.*
In front of 4-star freezer: Optimum air flow in the appli‐ance is no longer guaranteed. Condensate may form on the freezer compartment.*
Note
Liebherr recommends the following:*
Put the VarioBox shelf in its default position, anywhere below the 4-star freezer. This will provide the best air flow in the fridge section.*
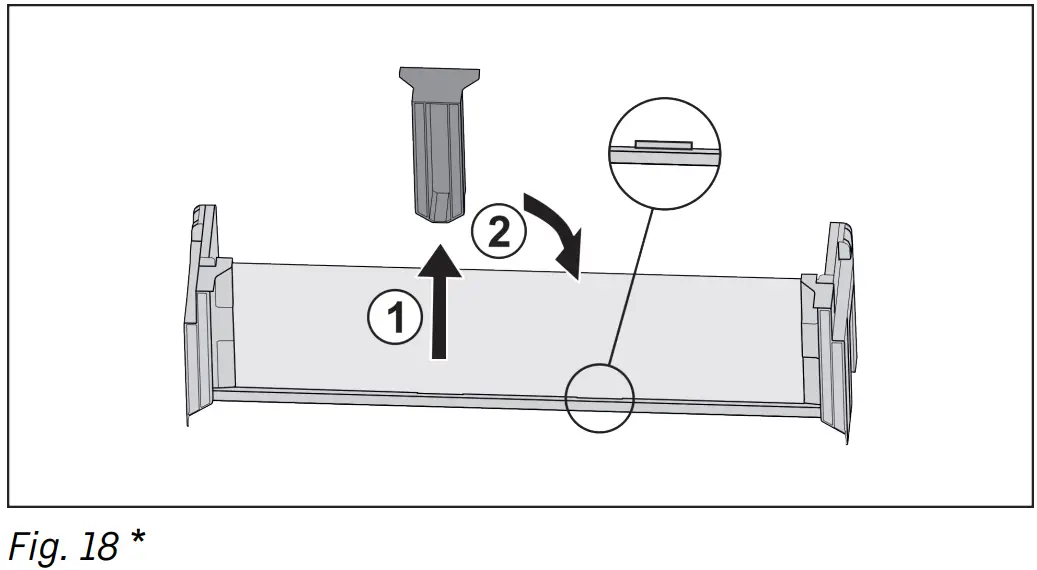
Moving the VarioBoxes:*

If the door rack is removed:*
Remove boxes.*

Place the shelf on the table.*

Pull off the middle holder Fig. 18 (1).*
Insert the middle holder in the second position Fig. 18 (2).*
* Depending on model and options

Replacing boxes.*
7.2.2 To dismantle door racks
The door racks can be disassembled for cleaning.

Disassemble the door racks.
7.3 Shelves
7.3.1 Moving/removing shelves
Extension stops secure the shelves against being acciden‐tally pulled out

Lift the shelf and pull to the front.
Side recess to shelf position.
Reposition the shelf: Lift up or lower to the desired height and insert.
-or-

Take out the shelf completely: Pull out to the front.
Easier removal: Set the shelf at an angle.
Reinsert the shelf: Push it in to its stop limit.
Pull-out stoppers are pointing down.
Pull-out stoppers are behind the front shelf.
7.4 Split shelf
7.4.1 Using the split shelf
Extension stops secure the shelves against being acciden‐tally pulled out

Push the split shelf underneath as in the illustration

Adjusting heights:
Pull the glass panels out Fig. 25 (1) from the front, one at a time.
Pull the support rails out of their retainers and snap into place at the height you want them.
Slide in the glass panels one at a time.
Flat pull-out stoppers at the front, right behind the support rail.
Taller pull-out stoppers at the back.
Using both shelves:
Hold the bottom glass panel with one hand and pull it to the front.
The glass panel Fig. 25 (1) with the trim strip is at the front.
The stops Fig. 25 (3) point downward.
Appliances with freezer:*
Do not place shelf rails and split shelves in front of the fan.*
7.5 VarioSafe*
The VarioSafe provides space for small food, packs, tubes, and jars.
7.5.1 Using the VarioSafe
You can remove the drawer and slide it back in at two different heights. This is to accommodate taller small items in the drawer.

Remove the drawer.
Slide in at any height Fig. 26 (1) or Fig. 26 (2).
7.5.2 Moving the VarioSafe
You can shift the height of the entire VarioSafe unit.

Pull to the front.
Side recess to shelf position.
Raise or lower to any height.
Slide to the rear.
7.5.3 Removing the VarioSafe completely
You can remove the entire VarioSafe unit.
Pull to the front.
Side recess to shelf position.

Tilt and pull to the front.
7.5.4 Disassembling the VarioSafe
The VarioSafe can be dismantled for cleaning.

Dismantling the VarioSafe.
7.6 InfinitySpring*
The built-in water dispenser provides convenient drinking water. The water temperature depends on the temperature in the fridge.

Push the glass against the button pushbutton of the dispenser.
The outlet unit moves out: water pours into the glass.
Avoid splashes: Remove the glass slowly.
If dispensing larger quantities of water:
If the water flow stops, remove the water tank and push your container against the button push button of the dispenser again.
7.7 Space for baking tray
There is space for a baking tray Fig. 1 (9) above the drawers.

Make sure that the following requirements are fulfilled
Max. baking tray dimensions are adhered to (see 9.1 Tech‐nical specifications) .
Baking tray has cooled to room temperature.
The bottom door stopper is set at least one position up.
When door 90° is open:
Slide the baking tray onto the lower side runs.
-or
If baking tray is uneven:
Use the supplied support rails.

Snap support rails into the lowest runs.
When door 90° is open:
Slide the baking tray in on the support rails.
7.8 Variable bottle shelf
7.8.1 Using the bottle shelf
Use the variable bottle shelf or the glass panel placed on the fridge floor.

Remove the glass shelf and store separately.
Place the bottles with the base pointing backwards facing the rear wall
Note
If the bottles protrude over the front of the bottle shelf:
Move the bottom door rack higher up.
7.8.2 Removing the bottle shelf
You can remove the bottle shelf for cleaning.
Remove the glass panel above the bottle shelf.

Lift the bottle shelf at the front and pull out.
Note
Liebherr recommends the following:
Do not place any goods on the drawer cover below.
7.8.3 Inserting the bottle shelf

Slide in the bottle shelf until it engages and push down.
The lugs at the back of the bottle shelf are connected automatically.
LED lights up.
7.9 Drawers
You can remove the drawers for cleaning.
The way to remove/insert the drawers varies depending on the pull-out system. Your appliance can contain a variety of pull-out systems.
Note
Insufficient ventilation results in an increase in energy consumption and reduction of the refrigerating perform‐ance.
Never obstruct the vents on the interior rear wall!
7.9.1 Drawer on telescopic rails
The drawer runs on full-extension rails (telescopic rails).
There are full-extension telescopic rails and telescopic rails with partial pull-out. Drawers which are full extension can be pulled out fully from the appliance. Drawers with partial pull-out cannot be pulled out fully from the appliance. The system in your appliance depends on the type of appliance.
Full extension*
If you have full-extension rails, there is a clamp located at the back on the left and right of the rail.
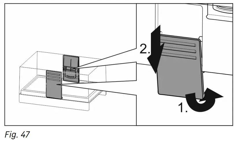
Removing drawer

Pull out drawer as far as it will go.
Lift left clamp and simultaneously pull drawer forwards on the left. Fig. 36 (1)
Lift right clamp and simultaneously pull drawer forwards on the right. Fig. 36 (2)
Remove drawer to the front. Fig. 36 (3)
Slide rails in.
Inserting drawer

Fig. 37
Slide rails in.
Place drawer on rails.
Slide in drawer to the back.
Drawer latches in audibly at the back.
Partial pull-out fridge compartment*
Removing drawer

Pull out the drawer halfway. Fig. 38 (1)
Lift drawer at the front. Fig. 38 (2)
Slide in left rail. Fig. 38 (3)
Slide in right rail. Fig. 38 (4)
Remove drawer to the front. Fig. 38 (5)

If the rails are not yet fully pushed in after removing the drawer:
Push the rails in completely.
Inserting drawer

Slide rails in.
Place drawer on rails.
Slide in drawer to the back.
7.10 Fruit & Vegetable-Safe cover
The compartment lid can be removed for cleaning.
7.10.1 Removing the compartment lid
Make sure that the following requirements are fulfilled
Bottle shelf is removed (see 7.8 Variable bottle shelf) .

Fig. 41
If the drawers are removed:
Pull the lid up at the front in the retaining parts to the opening Fig. 41 (1).
Lift from the back and pull it up and out Fig. 41 (2).
7.10.2 Inserting the compartment lid

If the text THIS SIDE UP is on top:
Insert the lip of the cover over the opening of the rear bracket Fig. 42 (1) and click into place Fig. 42 (2).
Position the cover where you want it (see 7.11 Humidity control) .
7.11 Humidity control
You can regulate the moisture in the drawer yourself by adjusting the compartment cover.
The compartment cover is on the drawer itself and can be covered with shelves or additional drawers.

Low air humidity
Open the drawer.
Pull the drawer cover to the front.
If the drawer is closed: Gap between lid and compart‐ment.
Switch off HydroBreeze.*
Moisture levels lower in the Safe.
High air moisture:
Open the drawer.
Slide the compartment cover to the back.
If the drawer is closed: The cover seals the compartment.
Activate the HydroBreeze.*
Moisture levels rise in the Safe.
If there is too much moisture in the compartment:
Choose a “low moisture setting”.
-or-
Remove the moisture with a cloth.
Note
With the “low humidity” setting, the Fruit & Vegetable-Safe can also be used as a Meat & Dairy-Safe.
Choose a “low moisture” setting.
7.12 HydroBreeze*
HydroBreeze emits a mist over the refrigerated goods to provide moisture every time the door is opened. The HydroBreeze and its water tank are located in the adjustable bottle shelf.
Make sure that the following requirements are fulfilled
– The water tank is clean (see 8.7.3 Cleaning the equip‐ment) .
– The water tank is properly engaged.
– Moisture is set to “high moisture” (see 7.11 Humidity control) .
– HydroBreeze is on (see HydroBreeze*) .
7.12.1 Fill the water tank
WARNING
Contaminated water!
Poisoning.
Fill with drinking water only.
HydroBreeze is off: Empty the water tank.
HydroBreeze is out of use for a prolonged period: Empty the water tank.
NOTICE
Sugary liquids!
Damage to the HydroBreeze.
Fill with drinking water only.
Note
Use filtered, decarbonized water to provide the best-quality drinking water and keep the HydroBreeze working smoothly.
This water quality can be achieved using a table water filter of the kind available in trade retail outlets.
Fill the water tank with filtered, decarbonized drinking water.
The water tank is built into the adjustable bottle shelf (see 1.2 Overview of the appliance and its equipment) .

Press on the back-left corner of the front glass plate.
The glass panel folds upwards.
Lift the glass panel and fold to the back as far as it will go Fig. 44 (1).
The glass panel is upright.
Slide the slider Fig. 44 (2) to the left.
The water tank jumps out of its recess.
Remove the water tank Fig. 44 (3).
Cleaning the water tank (see 8.7.3 Cleaning the equip‐ ment) .
Angular opening:
Fill with drinking water up to the level mark.
Insert the water tank, bottom first, into the recess.
Slowly lower the front part and push the tank in.
Water tank is engaged.
7.12.2 Disassembling the water tank
You can disassemble the water tank for cleaning.

Disassemble the water tank.
7.13 Accessories
7.13.1 Butter dish
Opening/closing the butter dish

Dismantling the butter dish
You can disassemble the butter dish for cleaning.

Disassemble the butter dish.
7.13.2 Egg rack
You can pull out and turn the egg rack. You can use both sides of the egg rack so you can label specifics like the purchase date.
Using the egg rack

Top section: store hen eggs.
Bottom section: store quail eggs.
7.13.3 Bottle rack
Using the bottle rack

Slide the bottle rack at the edges.
Stops bottles from tipping over.
Removing the bottle rack

Slide the bottle rack all the way to the right edge.
Remove to the back.
7.13.4 Ice cube tray with lid*
Using the ice cube tray

When water is frozen:
Hold the ice cube tray briefly under warm water.
Remove the lid.
Gently turn the ends of the ice cube tray in opposite directions.
Release the ice cubes.
Dismantling the ice cube tray
You can dismantle the ice cube tray for cleaning.

Disassemble the ice cube tray.
Maintenance
8.1 FreshAir carbon filter
The FreshAir carbon filter is located in the compartment above the fan.
It guarantees the best air quality.
Change the carbon filter every 6 months.
With an active Reminder, a change prompt appears in the display.
You can dispose of the carbon filter with the regular household waste.
Note
The FreshAir carbon filter is available for purchase from the Liebherr home appliance store (home.liebherr.com).
8.1.1 Removing the FreshAir carbon filter

Pull out the compartment Fig. 53 (1).
Remove the carbon filter Fig. 53 (2).
8.1.2 Inserting the FreshAir carbon filter

Insert the carbon filter as shown in the diagram Fig. 54 (1).
The carbon filter clicks into place.
If the carbon filter is pointing downwards:
Push the compartment in Fig. 54 (2).
The carbon filter is now ready for use.
8.2 Water tank*
The InfinitySpring water tank is located behind the lowest drawer.
8.2.1 Removing the water tank
Turn off the water tap.
Run the InfinitySpring for 30 seconds and collect the remaining water in a glass.
Remove the drawer.
Turn the water tank all the way to the left and pull it out.
Water dripping out is collected in the drip tray.
Drain the water from the drip tray.
Clean the drip tray with a cloth or in the dishwasher.
8.2.2 Inserting the water tank

Remove the drawer.
Insert the water tank and turn approx. 90° to the right until it engages.
Check that the water tank is sealed and no water leaks out.
Insert the drawer.
Turn on the water tap.
Vent the water system (see Installation Instructions, Water Connection)
Instead of the water filter, you can use an additional water tank.
Note
The water tank is available as a spare part.
8.2.3 Removing / inserting the drip tray
You can remove the drip tray for cleaning.

Pull out the drip tray to the front.
8.3 Water filter*
The water filter is located behind the lowest drawer.
It absorbs deposits in the water and reduces the taste of chlorine.
Replace the water filter at least every 6 months under the specified usage conditions or if the flow rate drops significantly.
The water filter contains carbon and can be disposed of with the regular household waste.
Note
You can purchase the water filter from the Liebherr household appliance store (home.liebherr.com).
8.3.1 Removing the water filter
Remove the drawer.
Turn the water filter all the way counterclockwise and pull it out.
Water dripping out is collected in the drip tray.
Clean the drip tray with a cloth or in the dishwasher.
8.3.2 Installing the water filter

Remove the drawer.
Insert the water filter and turn clockwise approx. 90° until it engages.
Make sure the filter does not leak and no water is coming out.
Insert the drawer.
CAUTION
New water filters may contain particulate matter.
Dispense 3 l of water through the InfinitySpring and pour away.
The water filter is now ready for use.
8.4 Disassembling / assembling pullout systems
8.4.1 Notes on disassembly
You can disassemble some of the pull-out systems for cleaning. Your appliance can contain a variety of pull-out systems.
The following pull-out systems can be disassembled or cannot be disassembled:
| Pull-out system | can be disassembled /cannot be disassembled |
| Full extension* | cannot be disassembled* |
| Partial pull-out fridge compart‐ment* | cannot be disassembled* |
8.5 Defrosting the appliance
WARNING
Appliance incorrectly defrosted!
Injuries and damage.
Do not use mechanical devices or other means to accel‐erate the defrosting process, other than those recom‐ mended by the manufacturer.
Do not use any electrical heating or steam cleaning equipment, naked flames or defrosting sprays.
Do not remove ice with sharp objects. Defrosting is performed automatically. The water from the thawing process runs out via the drain opening and is evaporated.
Clean the drain opening regularly (see 8.7 Cleaning the appliance) .
8.6 Defrosting the freezer compartment manually*
A layer of frost or ice forms after longer periods of opera‐ tion.
The following factors may accelerate frost or ice formation:
– The appliance is opened frequently.
– Hot food is placed in the appliance.
Switch off the appliance .
Disconnect the power plug or fuse.
Wrap the frozen food in newspaper or blankets and store in a cold place.

Put a pot with hot (but not boiling) water on a middle shelf of the compartment.
This speeds up defrosting.
Leave the compartment and appliance doors open during defrosting.
Remove pieces of ice that come loose.
Make sure that the defrosted water does not run into the surrounding furnishings.
If necessary, soak up the water with a sponge or a cloth several times.
Clean the appliance (see 8.7 Cleaning the appliance) .
8.7 Cleaning the appliance
8.7.1 Preparation
WARNING
Danger of electric shock.
Unplug refrigerator or disconnect power.
WARNING
Danger of fire
Do not damage the refrigerant circuit.
Empty appliance.
Pull out the power plug.
-oru
Activate CleaningMode. (see CleaningMode)
8.7.2 Cleaning the interior
NOTICE
Improper cleaning!
Damage to the appliance.
Only use soft cleaning cloths and ph-neutral all-purpose cleaners.
Do not use steel wool or sponges that scour or scratch.
Do not use caustic or abrasive cleaning materials or those containing sand, chloride, or acids.
Plastic surfaces: clean by hand with a soft clean cloth, lukewarm water and a little detergent.
Metal surfaces: clean by hand with a soft clean cloth, lukewarm water and a little detergent.
Drain outlet Fig. 1 (14): Remove any deposits with a thin item such as a cotton bud.
8.7.3 Cleaning the equipment
NOTICE
Improper cleaning!
Damage to the appliance.
Only use soft cleaning cloths and ph-neutral all-purpose cleaners.
Do not use steel wool or sponges that scour or scratch.
Do not use caustic or abrasive cleaning materials or those containing sand, chloride, or acids.
Clean with a soft, clean cloth, lukewarm water and a little washing up liquid:
– VarioSafe*
– Fruit & Vegetable-Safe cover
– Drawer
– Variable bottle shelf
Clean with a damp cloth:
– Retracting rails
Please note: the grease in the tracks is there for lubrica‐tion purposes and must not be removed!
Clean in the dishwasher up to 60 °C:
– Door racks
– VarioBox*
– Bottle rack
– Shelf
– Split shelf
– Holder for the split shelf
– HydroBreeze water tank and water tank lid*
– Drip tray*
– Egg rack
– Butter dish
– Ice cube tray*
Disassemble the equipment: see the relevant section.
Clean the equipment.
8.7.4 Cleaning the InfinitySpring*
You can clean the InfinitySpring outlet and around it without disconnecting the appliance from the mains.
We recommend cleaning in the following situations:
Initial commissioning
If out of use for longer than 5 days.
Press the bottom pushbutton of the dispenser.
The outlet unit moves out.
Clean the water outlet and around it with a soft, damp cloth, lukewarm water and a little washing up liquid.
Release the bottom pushbutton.
Dispense 2 l of water through the InfinitySpring and pour away.*
8.7.5 Cleaning the HydroBreeze*
We recommend cleaning in the following situations:
Initial commissioning
HydroBreeze was off for longer than 48 hours.
Refill the water tank.
Make sure that the following requirements are fulfilled
HydroBreeze is off (see HydroBreeze*) .
Water tank was removed and cleaned in the dishwasher.
Wipe out the recess with a damp cloth.
Insert the water tank.
Activate the HydroBreeze.
8.7.6 After cleaning
Wipe dry the appliance and items of equipment
Connect and switch on the appliance.
When the temperature is sufficiently cold
Place the food inside.
Repeat cleaning regularly.
Customer support
9.1 Technical specifications
| Temperature zone | |
| Cool: | 3 °C to 9 °C |
| BioFresh | 0 °C to 3 °C |
| Maximum freezing capacity / 24 hrs | |
| Freezer compart‐ ment* | See nameplate, “Freezing capacity … /24h”* |
| Max. size baking tray | |
| Width | 466 mm |
| Depth | 386 mm |
| Height | 50 mm |
| Lighting | |
| Energy efficiency class1 | Light source |
| This product contains an energy efficiency class G light source | LED |
1 The appliance may contain light sources with different energy efficiency classes. The lowest energy efficiency class is indicated.
For appliances with a WiFi connection:*
| Frequency specification* | |
| Frequency band | 2.4 GHz |
| Maximum radiated power | <100 mW |
| Purpose of the wireless equipment | Integration in the local WiFi network for data communication |
9.2 Operating noises
The appliance makes noises while in operation.
– At less cooling output the appliance saves energy but takes longer to cool items. The volume is lower.
– At a higher cooling output the food cools more quickly.
The volume is higher.
Examples:
- Activated functions (see 6.3 Functions)
- Running fan
- Freshly sorted food
- High ambient temperature
- Door opened for long periods
| Noise | Possible cause | Type of noise |
| Bubbling and splashing | Coolant is flowing into the cooling circuit. | Normal noise |
| Spitting and hissing | Coolant is spraying into the cooling circuit. | Normal noise |
| Humming | The appliance cools. The volume depends on the cooling output. | Normal noise |
| Sipping noises | The self-closing door is being opened and closed. | Normal noise |
| Whirring and murmuring | The fan is running. | Normal noise operating |
| Clicking | Components are being switched on and off. | Normal noise switching |
| Rattling or humming | Valves are active. | Normal noise switching |
| Noise | Possible cause | Type of noise | How to resolve |
| Vibration | Unsuitable installation | Error noise | Check instal‐ lation. Set up the appliance. |
| Clattering | Equipment, Objects inside the appliance | Error noise | Secure equipment parts. Leave a gap between items. |
9.3 Technical faults
Your appliance is designed and manufactured for reliable operation and a long service life. If a malfunction nonethe‐ less occurs during operation, please check whether the
malfunction is due to an operating error. In this case, you will have to be charged for the costs incurred, even during the warranty period.
You may be able to rectify the following faults yourself.
9.3.1 Appliance function
| Defect | Cause | Remedy |
| The appliance does not work. | → The appliance is not switched on. | ▶ Switch on the appliance. |
| → The power plug is not properly inserted in the wall socket. | ▶ Check the power plug. | |
| → The powerfuse in the wall socket is not OK. | ▶ Check the fuse. | |
| → Power failure. | ▶ Keep the appliance closed. ▶ Protect your food: Lay freezer packs on top of the food or use another freezer if the power is off for a prolonged period. ▶ Do not re-freeze defrosted food. | |
| → The appliance connector is not correctly inserted in the appliance. | ▶ Check the appliance connector. | |
| The temperature is not cold enough | → This means that the door of the appliance is not closed properly | ▶ Close the appliance door |
| → Insufficient ventilation | ▶ Clear and clean the ventilation grille. | |
| → The ambient temperature is too high | ▶ Solution: (see 1.3 Range of appliance use) . | |
| → The appliance was opened too frequently or for too long | ▶ Wait to see whether the required temperature resets itself by itself. If not, contact Customer Service (see 9.4 Customer service) . | |
| → The temperature is incorrectly set | ▶ Set to a colder temperature and check after 24 hours. | |
| → The appliance is too near to a heat source (stove, heater etc). | ▶ Change location of appliance or the heat source. | |
| → The appliance was not properly installed in the recess. | ▶ Make sure the appliance was installed correctly and the door closes properly. | |
| The door seal is defective or should be replaced for other reasons. | → The door seal is interchangeable. You can replace it without the use of any special tools. | ▶ Contact Customer Service (see 9.4 Customer service) . |
| The appliance is iced up or conden‐ sation is building. | → The door seal may have slipped out of its groove. | ▶ Check the door seal is well placed in the groove. |
9.3.2 Equipment
| Defect | Cause | Remedy |
| The InfinitySpring is not working.* | → There is air in the system. | ▶ Vent the water system (see Installation Instructions, Water Connection). |
| → The water connection is not open | ▶ Open the water connection* | |
| The water flow at the InfinitySpring is irregular.* | → The aerator is not clean. | ▶ Replace the aerator. Contact (see 9.4 Customer service) . Customer Service |
| HydroBreeze is not keeping refriger‐ ated foods moist.* | → HydroBreeze is not activated. | ▶ Activate the HydroBreeze. |
| → There is not enough water in the water tank | ▶ Fill the water tank. | |
| → There is dirt upstream of the concentrator. | ▶ Clean the HydroBreeze. | |
| → The water tank is not properly locked into place. | ▶ Make sure the water tank clicks in properly. |
Decommissioning
| Defect | Cause | Remedy |
| → The lid of the Fruit & Vegetable- Safe is set to “low air moisture”. | ▶ Adjust the lid of the Fruit & Vegetable-Safe to “high air moisture”. | |
| The interior light does not turn on. | → The appliance is not switched on. | ▶ Switch on the appliance. |
| → The door was open for longer than 15 min. | ▶ The interior light automatically switches itself off if the door stays open for approx. 15 min. | |
| → The LED interior light is faulty or the lid is damaged. | ▶ Contact Customer Service (see 9.4 Customer service) . | |
| The freezer door will not shut.* | → The catch is locked with the door open. | ▶ Try the handle again. |
9.4 Customer service
First check if you can fix the error yourself (see 9 Customer support) . If this is not the case, please contact customer service.
Please refer to the enclosed “Liebherr Service” brochure for the address.
WARNING
Unprofessional repair!
Injuries.
Repairs and work on the appliance and the power supply cable not described in the Manual (see 8 Maintenance) should only be carried out by a qualified service provider.
A damaged power cable may only be replaced by the manufacturer, the manufacturer’s Customer Service or a similarly qualified person.
For appliances with an IEC connector, the change can be made by the customer.
9.4.1 Contact Customer Service
Make sure to have the following appliance information to hand:
Appliance name (model and index)
Service no. (service)
Serial no. (S no.)
Showing appliance info on the display (see Info) .
-or-
Referring to appliance info on the nameplate (see 9.5 Rating plate) .
Take note of the appliance information.
Inform Customer Service: Tell us the problem and the appliance details.
This will help us give you fast and accurate support.
Further instructions from customer service will follow.
9.5 Rating plate
The nameplate is located behind the drawers on the inside of the appliance.

Fig. 58
(1) Appliance name
(2) Service no.
(3) Serial no.
Information from the nameplate.
Decommissioning
Empty appliance.
Switch off the appliance .
Pull out the power plug.
Remove the appliance connector if necessary: Pull it out and, at the same time, move it from the left to the right.
Clean the appliance (see 8.7 Cleaning the appliance) .
Leave the door open to prevent bad smells
Disposal
11.1 Preparing appliance for disposal
Liebherr uses batteries in some of its appli‐ances. In the EU, for environmental reasons, legislation obliges the end user to remove these batteries before disposing of the old appliances. If your appliance contains batteries, a corresponding notice is attached to the appliance.
Lamps
If you can remove the lamps yourself without destroying them, also remove these before disposal.
Take the appliance out of operation.
Appliance with batteries: Remove the batteries. For description, see Maintenance chapter.
If possible: Remove lamps without destroying them.
11.2 Disposing of the appliance in an environmentally friendly manner
The appliance still contains valuable materials and must be collected separately from unsorted municipal waste so it can be recycled.
Dispose of batteries separately from the old appliance. You can do this by returning the batteries free of charge to retailers or taking them to recy‐ cling centers and collection centers for recyclable materials.
Lamps
Dispose of removed lamps via the respective collection systems.
For Germany:
You can dispose of the appli‐ance free of charge via the class 1 collection containers at the local recycling and recyclable material collection centers. When purchasing a new fridge/freezer, if the sales area > 400m2, retailers will also take back the old appliance free of charge.
WARNING
Leaking refrigerant and oil!
Fire. The refrigerant contained within the appliance is envi‐ronmentally friendly, but flammable. The oil contained within the appliance is flammable. Escaping refrigerant and
oil can ignite if they are of high enough concentration and are exposed to an external heat source.
Do not damage the pipelines of the coolant circuit and the compressor.
Transport the appliance away without damaging it.
Dispose of batteries, lamps, and the appliance according to the above specifications.

home.liebherr.com/fridge-manuals
Built-in refrigerator with BioFresh
Part number index: 7088276-00
Liebherr-Hausgeräte Ochsenhausen GmbH
Memminger Straße 77-79
88416 Ochsenhausen
Deutschland

















