ORing IGAP-W99110GP Industrial Dual Wi-Fi 6 Wireless Access Point Installation Guide

Copyright statement
ORing Industrial Networking Corp.© 2021
ORing reserves all copyrights of this document. Any reproduction, excerption, backup, modification, transmission,
translation or commercial use of this document or any portion of this document, in any form or by any means, without the prior written consent of ORing is prohibited.
Exemption statement
This document is provided “as is”. The contents of this document are subject to change without any notice. Please obtain the latest information through the ORing website. ORing endeavors to ensure content accuracy and will not shoulder any responsibility for losses and damages caused due to content omissions, inaccuracies or errors.
Preface
Thank you for using our product. This manual will guide you through the installation of the access point.
Scope
It is intended for the users who have some experience in installing and maintaining network hardware. At the same time, it is assumed that the users are already familiar with the related terms and concepts.
Contact Information
- ORing Website: https://oringnet.com/
- Technical Support: [email protected]
- Sales Contact: [email protected] (Headquarter)
[email protected] (China)
[email protected] (Europe)
[email protected] (India)
Documentation Conventions
The symbols used in this document are described as below:
This symbol brings your attention to some helpful suggestions and references.
This symbol means that you must be extremely careful not to do some things that may damage the device or cause data loss.
1 Product Overview
The IGAP-W99110GP+, adhering to the latest 802.11ax standard, is a wireless access point (AP) designed by ORing. Featuring two spatial streams each radio, this dual-radio and dual-band AP provides an access rate up to 575 Mbps at 2.4G and 1,200 Mbps at 5G, totaling 1.775 Gbps. And the 10/100/1000Base-T Ethernet port and SFP port can be used in the meantime.
1.1 Technical Specifications
Table 1-1 IGAP-W99110GP+ Technical Specifications
| Model | IGAP-W99110GP+ |
| RF | Dual radio, dual band |
| IEEE802.11 | Support concurrent 802.11ax and 802.11a/b/g/n/ac |
| Operating Frequency | 802.11b/g/n/ac/ax: 2.4 GHz to 2.483 GHz 802.11a/n/ac/ax: 5.150 GHz to 5.350 GHz, 5.725 GHz to 5.850 GHz (Country-Specific) |
| Antenna Type | Built-in directional antenna |
| Antenna Gain | 2.4 GHz: 9 dBi 5 GHz: 9 dBi |
| Coverage Angle | 2.4G: vertical beam angle: 30°/horizontal beam angle: 60° 5G: vertical beam angle: 30°/horizontal beam angle: 60° |
| Spatial Stream | 4 Support 2.4G 2×2 MU-MIMO Support 5G 2×2 MU-MIMO |
| Access Rate | 2.4G: Up to 575 Mbps 5G: Up to 1200 Mbps Total: Up to 1.775Gbps |
|
Modulation | OFDM: BPSK@6/9Mbps, QPSK@12/18Mbps, 16-QAM@24Mbps, 64-QAM@48/54Mbps DSSS: DBPSK@1Mbps, DQPSK@2Mbps, and [email protected]/11Mbps MIMO-OFDM: BPSK, QPSK, 16QAM, 64QAM and 256QAM OFDM: BPSK@6/9Mbps, QPSK@12/18Mbps, 16-QAM@24Mbps, 64-QAM@48/54Mbps DSSS: DBPSK@1Mbps, DQPSK@2Mbps, and [email protected]/11Mbps MIMO-OFDM: BPSK, QPSK, 16QAM, 64QAM, 256QAM and 1024QAM |
|
Receive Sensitivity | 11b: -91dBm(1Mbps), -88dBm(5Mbps), -85dBm(11Mbps) 11a/g: -89dBm (6Mbps), -80dBm (24Mbps), -76dBm (36Mbps), -71dBm (54Mbps) 11n: -83dBm@MCS0, -65dBm@MCS7, -83dBm@MCS8, -65dBm@MCS15 11ac HT20: -83dBm (MCS0), -57dBm (MCS9) 11ac HT40: -79dBm (MCS0), -57dBm (MCS9) 11ac HT80: -76dBm (MCS0), -51dBm (MCS9) 11ax HE80: -76dBm (MCS0), -49dBm (MCS11) |
| Maximum Transmit Power | 28 dBm (Country-specific) |
| Dimensions | 251 mm × 168 mm × 64 mm (Excluding the bracket) |
| Weight | < 1.5kg |
| Ports | One 10/100/1000 Base-T uplink Ethernet port One SFP port One port for 48VDC power supply |
| Console Port | Support |
| Reset Button | Support |
| Power Input | 44~57VDC or IEEE 802.3af/at PoE |
| Power Consumption | < 12.95W |
| Temperature | Operating: -40°C to 65°C (-40°F to 149°F) Storage: -40°C to 85°C (-40°F to 185°F) |
| Humidity | Operating: 0% to 100% (non-condensing) Storage: 0% to 100% (non-condensing) |
| IP Rating | IP68 |
Table 1-2 LEDs of IGAP-W99110GP+
| LED | State | Meaning |
|
System status | Blinking green | The system is booting. |
| Solid green | Initialization in progress or proper operation. | |
| Blinking orange | Initialization is complete, but no CAPWAP connection. | |
| Blinking red | The uplink port is disconnected. | |
| WDS RSSI (3 LEDs in total; available when bridging is enabled) | 1 solid on | < -70dBm |
| 2 solid on | -70 to -50dBm | |
| 3 solid on | > -50dBm |
| Button | State | Meaning |
|
Reset button | When powered on, pressed for less than 2s | Resets the AP. |
| When powered on, pressed for more than 3s | Restores the factory default settings. |
1.2 Product Appearance
Figure 1-1 Product Appearance of the IGAP-W99110GP+
Hardware Installation and Reference Guide
|
Note | 1. Console port and reset button 2. Port for 48VDC power supply | 3. 10/100/1000 Base-T auto-sensing Ethernet/PoE PD port 4. SFP port |
1.3 Power Supply
The AP supports 802.3af PoE or 44-57VDC power supply. Power adapter is customer supplied.
When PoE power supply is adopted, please make sure the peer end support 802.3af/802.3at, too.
The lowest current output requirement for a DC power supply is 0.35 A.
2 Preparing for Installation
To prevent device damage and physical injury, please read carefully the safety recommendations described in this chapter.
Recommendations do not cover all possible hazardous situations.
2.1 Grounding and Lightning Protection
- Ensure that both the power-receiving end and the power-supplying end are well-grounded.
- Keep the grounding connection within 30 m, and use a 40mm x 4mm or 50mm x 5mm ground bar of hot-dip zinc-coated flat steel sheet.
- When the connection cable between the main grounding conductor and local equipotential earthing terminal board (LEB) on each floor is shorter than 2 meters, use a stranded copper wire with a sectional area not less than 1.318 mm2 (16 AWG) for the connection cable.
- Use a shielded network cable if possible, ensure that devices connected to both ends of the shielded network cable are reliably grounded, and make sure that the sheath of the shielded network cable is also grounded if possible. If no shielded network cable is available, wire the network cable through a steel pipe and bury the steel pipe for lead-in, and properly ground both ends of the steel pipe.
- No additional lightning protector is required as a high-profile lightning protector is built in the IGAP-W99110GP+, and the power port support 6kV lightning protection. If a lightning protector of a higher profile is available, configure the lightning protector optionally. Before the configuration, connect the lightning protector to the ground cable.
- Use a power cable with the PE end to ground the power supply (AC). Ensure that the PE end is properly grounded, with a ground resistance less than 5 ohms. Do not use a two-wire power cable with only the live (L) wire and naught (N) wire. Do not connect the N wire to the protection ground cable of other communication devices, and ensure that the L wire and N wire are properly connected.
- Ensure that the ground resistance is less than 5 ohms. In areas with high soil resistivity, reduce the soil resistivity via measures such as spreading resistivity reduction mixture around the grounding conductor.
2.2 Preparing the Installation Site
- Do not expose the AP to high temperature, dust, or harmful gases.
- Do not install the AP in an area prone to fire or explosions.
- Keep the AP away from EMI sources such as large radar stations, radio stations, and substations.
- Do not subject the AP to unstable voltage, vibration, and noises.
- Keep the AP at least 500 meters away from the ocean and do not face it towards the sea breeze.
- The installation site should be protected from water and flooding, seepage, dripping, or condensation.
- The installation site should be selected according to network planning, communications equipment features and considerations such as climate, hydrology, geology, earthquake, electric power, and transportation.
2.2.1 Temperature and Humidity
Table 2-1 Required Temperature and Humidity for the IGAP-W99110GP+
| Operating Temperature | -40°C to 65°C (-40°F to 149°F) |
| Operating Humidity | 0% to 100% (non-condensing) |
2.2.2 Outdoor Installation
The AP can be mounted on a wall or pole.
2.2.3 Waterproof
Use a seal plug to seal the unused ports.
Figure 2-1 Seal Plug

2.2.4 EMI
All interference sources (from outside or inside of the device or application system) affect the device by capacitive coupling, inductive coupling, or electromagnetic waves.
Electromagnetic interference (EMI) occurs due to electromagnetic radiation or conduction, depending on the transmission path.
Radiation interference occurs when energy (usually radio frequency energy) is emitted from a device and propagated through space to disrupt other devices. The interference source can be part of disrupted system or a fully electrically isolated unit. Conduction interference occurs when interference is transferred from one unit to another through cables, which are usually electromagnetic wires or signal cables connected between the source and the device(s) experiencing interference. Conduction interference often affects the power supply of the device. It is eliminated by using filters. Radiation interference can influence the path of any signal from the device and is difficult to shield.
- Take effective measures against interference from the power grid.
- Keep the AP far away from the grounding or lightning protection devices for power equipment.
- Keep the AP away from high-power radio stations, radar stations, and high-frequency high-current devices.
- Take electrostatic shielding measures.
2.3 Fiber Connection
Before connecting fiber cables, make sure the model of the optical transceiver and fiber type match the optical port. The transmit port on the local device should be connected to the receive port on the peer device and vice versa.
2.4 Installation Tools
Table 2-2 Installation Tools
| Tools | Marker, Phillips (crosshead) screwdriver, slotted screwdriver, drill, paper knife, crimping pliers, diagonal pliers, wire stripper, network cable tester, related power and fiber cables, wrench, hammer, cable ties, ESD tools, multimeter, waterproof duct tape, waterproof plaster |
2.5 Checking before Installation
Please check your materials carefully against the package contents. If there are any errors, please contact your distributor or ORing sales representative.
3 Installing the Access Point
Before installing the AP, make sure you have carefully read the requirements described in Chapter 2.
3.1 Installation Flowchart
3.2 Before You Begin
Before you install the AP, verify that all the parts in the package contents are there and make sure that:
- The installation site meets temperature and humidity requirements.
- The installation site is equipped with a proper power supply.
- Network cables are in place.
3.3 Precautions
IGAP-W99110GP+ can be mounted on a wall and a pole (diameter: 50mm to 140mm, thickness: ≥2.5mm). Otherwise, the AP could fall down and cause injuries. The installation site can vary due to on-the-spot surveys conducted by technical personnel.
Please make full preparations as described in Chapter 2 and observe the following precautions before installing the AP.
- Before connecting the power supply, make sure the external power supply matches the power module inside the AP.
- Before connecting the power cord, make sure the power switch is in the OFF position.
- When connecting a wire to a binding post, make sure their colors are the same.
- Make sure the power supply is properly connected.
3.4 Installing the AP
- Use four M5 screws to secure the AP to the mounting plate.
Figure 3-1 Securing the AP with M5 Screws
- 2. Install the mounting bracket to a pole or wall.
Pole mount
Attach the bracket to a pole with two hose clamp and fasten the clamp with screws and nuts.
Figure 3-2 Mounting the Bracket on a Pole
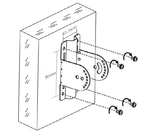
Wall mount
Use four M8 x 60 screws to implement the wall mount. (The screws, made of SUS304 stainless steel, are customer-supplied.)
a. Attach the bracket to the wall and mark the screw hole locations.
b. Align the screw holes on the bracket and those on the wall, and tighten the M8 x 40 screws to mount the bracket.
Figure 3-3 Mounting the Bracket on Wall
- Use four M6 screws to join the mounting plate and the bracket. Adjust the angle of the device before fastening the screws.
Figure 3-4 Complete the Installation
3.5 Connecting Cables
Connecting the grounding cable
The grounding cable is made on site. Connect the supplied grounding wire (yellow-green) to the AP grounding hole on one end and ground the wire on the other end through OT terminals. To avoid waste, adjust the cable length for actual demands.
Figure 3-5 Grounding the AP

Connecting the network cable
Waterproofing material is customer-supplied.
- Trim the network cable according to the distance between the AP and the power supply. And put the trimmed cable through the bracket.
- Thread the cable through liquid-tight adapter and add a plug to the end. See figure 3-6.
Figure 3-6 Threading the Network Cable
- 3Wrap the cable between B and C upwards with two or three layers of liquid-tight material. See figure 3-7.
Figure 3-7 Wrapping Liquid-tight Material around Cable
- Insert the plug into the ETH/PoE port and tighten B, C and D in order.
Make sure the plug is correctly inserted. The plug can be damaged if the liquid-tight adapter is improperly tightened.
Before removing the network cable, dismantle the liquid-tight adapter first and then the plug.
Connecting the optical fiber (Optional)
Waterproofing material is customer-supplied.
- Choose an LC-LC optical fiber with the diameter of 2.7±0.2mm.
- Thread the fiber through the liquid-tight adapter in the order as shown in figure 3-8.
Figure 3-8 Threading the Fiber
- 3Insert the plug of the fiber into the SFP port.
- Tighten A.
- Combine B and C and put the combination into A.
- Tighten D before applying waterproof glue to its joint with A.
Before removing the optical fiber, dismantle the liquid-tight adapter first and then the plug.
Connecting the DC Power Cord (Optional)
Waterproofing material is customer-supplied.
When you choose DC power supply to power the AP, please make sure the port for DC power supply face to the ground.
Thread the DC power cord through the liquid-tight adapter in the order as shown in Figure 3-9. Use waterproof duct tape and waterproof plaster to fill in the space between the power cord and the adapter.
Figure 3-9 Threading the DC Power Cord
Appendix A Connectors and Media
1000BASE-T/100BASE-TX/10BASE-T
The 1000BASE-T/100BASE-TX/10BASE-T is a 10/100/1000 Mbps auto-negotiation port that supports auto MDI/MDIX.
Compliant with IEEE 802.3ab, 1000BASE-T requires Category 5e 100-ohm UTP or STP (STP is recommended) with a maximum distance of 100 meters (328 feet).
1000BASE-T requires all four pairs of wires be connected for data transmission, as shown in Figure A-1.
Figure A-1 1000BASE-T Connection

10BASE-T uses Category 3, 4, 5 100-ohm UTP/STP and 1000BASE-T uses Category 5 100-ohm UTP/STP for connections. Both support a maximum length of 100 meters. Table A-1 shows 100BASE-TX/10BASE-T pin assignments.
Table A-2 100BASE-TX/10BASE-T Pin Assignments

Figure A-3 shows wiring of straight-through and crossover cables for 100BASE-TX/10BASE-T.
Figure A-3 100BASE-TX/10BASE-T Connection

Fiber Connection
You can choose to use single-mode or multi-mode fiber according to the transceiver module types. Figure A-4 shows connection of fiber cables.
Figure A-4 Fiber Connection

Appendix B Cabling Recommendations
During installation, route cable bundles upward or downward along the sides of the rack depending on the actual situation in the equipment room. All cable connectors should be placed at the bottom of the cabinet rather than be exposed outside of the cabinet. Power cords should be routed upward or downward beside the cabinet close to the location of the DC power distribution cabinet, AC power outlet, or lightning protection box.
Figure B-1 Bundling Cables of IGAP-W99110GP+

Required Minimum Cable Bend Radius
- The minimum bend radius of a power, communication or flat cable should be 5 times the overall diameter of the cable. If the cable is constantly bent, plugged or unplugged, the bend radius should be 7 times the overall diameter.
- The minimum bend radius of a high-speed cable, such as an SFP cable should be 5 times the overall diameter of the cable. If the cable is constantly bent, plugged or unplugged, the bend radius should be 10 times the overall diameter.
Precautions for Cable Bundling
- Before bundling cables, correctly mark labels and stick the labels to cables where appropriate.
- Cables should be neatly and properly bundled, as shown in Figure B-2.
Figure B-2 Bundling Cables
- Route and bundle power, signal, ground cables separately. When the cables are close to each other, cross them. When power cables run parallel to signal cables, the distance between them must be greater than 30 mm.
- All cable trays and their accessories shall be smooth and free from sharp edges.
- Holes in metal, through which cables pass shall have smooth, well-rounded surfaces or be protected with insulating bushings.
- Use proper cable ties to bind cables together. Do not tie two or more cable ties to bind cables.
- Cut off excess cable tie cleanly with no sharp edges after bundling cables, as shown in Figure B-3.
Figure B-3 Cutting off Excess Cable Tie
- If cables are to be bent, bind them first but do not tie cable ties within the bend to avoid stress on the cables, which may otherwise cause the wires inside to break, as shown in Figure B-4.
Figure B-4 Do Not Tie Cable Ties within the Bend
- Wrap up unnecessary or excess cables and bind them to the appropriate rack position, where device operation is not affected and no damages occur to the device and cables during debugging.
- Do not bind power cords to the rails for moving parts.
- Leave a certain length of the cable connecting moving parts, such as the ground wire of the cabinet door, to avoid stress on the cable; when moving parts are in place, ensure the excess cable length shall not contact heat sources, sharp corners or edges. If heat sources are unavoidable, use high-temperature cables instead.
- When using screws to fasten cable lugs, the bolts or nuts shall be tightened and prevented from loosening, as shown in Figure B-5.
Figure B-5 Fastening Cable Lugs
| Note | 1. Flat washer 2. Nut | 3. Spring washer 4. Flat washer |
- When using a stiff cable, fix it near the cable lug to avoid stress on the lug and cable.
- Do not use self-tapping screws to fasten terminals.
- Bundle cables of the same type and running in the same direction into groups. Keep cables clean and straight.
- Cables shall be tied according to the following table.
| Diameter of Cable Bundle (mm) | Space between Bundles (mm) |
| 10 | 80 to 150 |
| 10 to 30 | 150 to 200 |
| 30 | 200 to 300 |
- Do not tie knots for cables or cable bundles.
- The metal parts of the cold-pressed terminal blocks, such as air circuit breakers, shall not be exposed outside of the blocks.
































