V-ZUG V2000 Heat Pump Dryer
The appliance should be installed by qualified personnel only.
Each step must be carried out and checked in full in the order specified.
Check the appliance for visible damage. Do not use the appliance if it is damaged in any way.
The appliance must not be supplied through an external switching device, such as a timer, or connected to a circuit that is regularly switched on and off by a utility.
Validity
The installation instructions apply to the models: 12011—12013
Transport
Transport the appliance in an upright position only! Transporting it in any other position will result in damage to the appliance! When carried carefully without being shaken, the appliance may be tilted a maximum of 90° to the left (viewed from the front).
Identification plate
- Open the appliance door.
- The identification plate 1 is located bottom right.
Supplied installation accessories
The necessary installation accessories are located in the washing drum and in the appliance packaging.
| Designation | Article no. | Number | See installation step |
| Installation plate (incl. double-sided adhesive tape) | W40653 | 1 | 2. Positioning the installation plate |
| Tower panel | W55687 | 1 | 2. Positioning the installation plate |
| Condensate drain set (incl. screw material) | W56298 | 1 | 6. Connecting condensate drain |
Room size, room climate and ventilation
Keep all ventilation slits on the appliance clear and unobstructed. Otherwise an adequate supply of air is not guaran-teed.
- Ventilate the room well. Ensure that the temperature of the room is between 5–35 °C.
- The room temperature must be kept between the range of 15–25 °C to ensure the economic running of the appliance.
Room size <10 m² (<20 m³)
- Room must be ventilated: There must be air inlet and outlet openings to the adjacent room or to the outside, e.g. open window/door, ventilation grille or slits in the door or ventilation system.
Room size ≥10 m² (≥20 m³)
- Condensation may form on thermal bridges! The room must therefore be aired after running several consecutive drying programmes, e.g. by opening a window or door to the room.
Installation instructions
Heat pump dryer One-family household
Dimensions
The stated dimensions do not include distances from walls. To prevent disturbing noise and vibration the appliances must not come into contact with the surrounding walls of their installation location.


- Cooling air inlet
- Cooling air outlet
- Installation plate
- Tower panel
- Outlet mains connection cable, length: 1.8 m, with plug
- Condensate drain
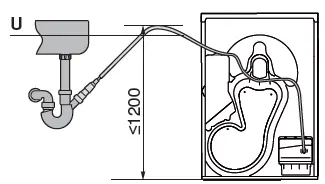
Drain connection: ø10.5 mm
Pumping height of drain pump from floor: ≤1200 mm
Condensate water drain hose, length: 2.5 m
Positioning the installation plate
General tips
Use the installation plate supplied to install the appliance. It fixes the appliance in position, and is for use with both free-standing appliances and appliances positioned in a niche.
In case of underfloor heating, do not drill holes in the floor! Adhere installation plate into place!
- Fold out spacers D in order to keep distance to the back wall.

Variant 1: Without underfloor heating:
- Fasten installation plate to the floor with 3 screws.
- Dampen mounting slots E with water to make the appliance easier to push in.
Variant 2: With underfloor heating:
- Holes must not be drilled in the floor if the room has underfloor heating. The installation plate must be adhered to the floor.
- Dampen mounting slots E with water to make the appliance easier to push in.
When installing the washer-dryer tower, do not drill any holes in the washing machine! Adhere installation plate into place!

- If a tumble dryer has to be installed on top of a washing machine, no holes must be drilled in the washing machine. The installation plate must be adhered to the floor.
Washer-dryer towers
Failure to use the correct installation plate can result in damage to the appliance!
Use the installation plate supplied to install the washing machine. The use of an unsuitable installation plate or a soft, sound-insulating underlay can cause damage to the appliance which does not fall within the scope of the manufacturer’s guarantee.
Tumble dryers: 12011–12013
Washing machine: 11001–11006, 11010–11014, 11021, 11023, 11025

- Take out the double-sided adhesive tape S and adhere to the mounting surfaces K.

- Turn over the installation plate. Push to the front edge of the washing machine cover plate (see arrow) and adhere into place.
- Take the tower panel out of its fixture on the back of the tumble dryer.
- Install the tower panel on the mounted installation plate.
Tumble dryer: 12011–12013
Washing machine: 265, 266, 268, 269

- Click in the six positioning cams P.
- Cut out the mounts U.
- Adhere the double-sided adhesive tape S to both sides of the mounts U.
- Turn over the installation plate.
- Adhere the mounts U to the 4 mounting surfaces B precisely.
- Turn over the installation plate. Push to the front edge of the washing machine cover plate (see arrow) and adhere into place.
- Take the tower panel out of its fixture on the back of the tumble dryer.
- Install the tower panel on the mounted installation plate.
Positioning in a niche
If a tumble dryer or a washer-dryer tower is installed in a niche, a 130° door stop must be provided (article no. W54086).
If the niche is fitted with a door, it must be ensured that the door is left open for the duration of the process. The niche door and the appliance door must be hinged on the same side.

- Centre the installation plate in the niche.
- Distance to the back wall: ≥45 mm
- Cut-out for lateral connections (left or right): ≥100 × 100 mm
- Niche height for tumble dryer: ≥860 mm
- Niche height for washer-dryer tower:
≥1710 mm
Variant 1: Tumble dryer door C is flush with niche front B:

- Niche depth A ≥605 mm
- Installation offset for installation plate D = 50 mm
Variant 2: Washing machine door C is flush with niche front B:
- Niche depth A ≥645 mm
- Installation offset for installation plate D = 83 mm
The condensed water hose must not be crushed between the rear of the appliance and the building wall.
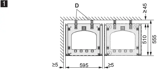
Free-standing position
If a tumble dryer and a washing machine are positioned side by side, keep a distance of min. 5 mm between the installation plates and to the walls at the side and min. 45 mm to the back wall. The installation plates for the washing machine and tumble dryer are the same.

- Fold out spacers D in order to keep distance to the back wall.
- Dimensions 45 and 555 only apply if no plumbing fittings are to be installed be-hind the appliance.
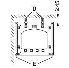
Inserting the ventilation grille

- The heat given off from the rear of the appliance must be conducted out of the niche.
- Insert 2 ventilation grilles P33002 or a ventilation cross-section of min. 400 cm2 .
- Ensure there is a supply of fresh air via the connection opening.
The condensed water hose must not be crushed between the rear of the appliance and the building wall.
Levelling
To ensure fault-free operation, the appliance must stand level with all 4 feet firmly on the installation plate and not wobble.
- Roughly adjust the height of the front and rear adjuster feet.
- Use a spirit level L to level the appliance.
- Slide the appliance onto the installation plate.
- Finely adjust the front adjuster feet.
- The appliance must not wobble!
Electrical connections
Electrical connections must be carried out by qualified personnel in accordance with the guidelines and standards for low-voltage installations and the specifications of the local electricity supply companies.
A plug-in appliance may only be connected to a socket outlet with earthing contact, installed according to specifications. An all-pole mains isolating device with 3 mm contact opening should be provided in the house wiring system. Switches, plug and socket devices, circuit breakers and fusible cut-outs which are accessible after installation and which have all-poles switching are permissible as isolating devices. Effective earthing and separately installed neutral and earth conductors ensure safe and fault-free operation. After installation, live parts and cables with basic insulation must not be accessible. Check old installations.
- Use at altitude: Electrical safety is guaranteed up to 2,000 m above sea level.
- Refer to the identification plate for information on the required mains voltage, current type and fuse protection.
The mains plug must not be cut off.
Connection cable
Valid for all washing machines and tumble dryers in the Adora, Adora Wash and Adora Dry model range.
The mains cable may only be replaced by the manufacturer, its Customer Services or a similarly qualified person.
Error messages «U1»
Disconnect the appliance from the mains and control the wiring.
Connecting condensate drain
Fastening the drain hose
When installing the drain hose, protect it against damage and kinks!
Fasten the drain hose before plugging in the mains cable.

- Remove pump cover A.
- Fasten drain hose B to nozzle D using the hose clip C.
- Put back the pump cover A.

- Fix drain hose B to the two lugs E with cable ties.
- Plug in the mains cable.
Connecting condensate drain
The drain hose for the tumble dryer must not be lengthened!
Otherwise water from the drain hose of the tumble dryer can flow into the condensate tank of the tumble dryer when the con-densate pump is switched off.
Never connect the drain hose from a tumble dryer to the drain hose from a washing machine so that it is watertight (hydraulically)!
Otherwise water from the drain hose of the washing machine can flow into the condensate tank of the tumble dryer!
Do not immerse the end of the drain hose from the tumble dryer in the water in the drain trap!
Otherwise water in the drain-trap bend can flow into the condensate tank when the condensate pump is switched off.
Single connections
| Drainage into fixed upright outflow pipe (W56298) | Connection to sink drain trap (W53070) | Work steps |
![]() ![]() |
| |
| Max. pumping height: 1200 mm | Max. pumping height: 1200 mm | |
Tumble dryer positioned next to washing machine (open-top fixed upright outflow pipe)
| Fixed upright outflow pipe with separately routed drainage pipe | Fixed upright outflow pipe with combi drainage set (W55969) | Work steps |
![]() | ![]() |
|
| Max. pumping height: 1200 mm | Max. pumping height: 700 mm |
Tumble dryer positioned next to washing machine (GEBERIT concealed drain trap)
Cannot be connected to a concealed double drain trap! There must be a separate concealed drain trap for each appliance.

- Washing machine: Use concealed drain trap GEBERIT UP Y (GEBERIT art. no. 152.236.00.1).
- Tumble dryer: Use concealed drain trap GEBERIT UP X (GEBERIT art. no. 152.237.00.1).
Washer-dryer towers
| Fixed upright outflow pipe with separately routed drainage pipe | Fixed upright outflow pipe with combi drainage set (W55969) | Work steps |
![]() | ![]() |
|
| Max. pumping height: 700 mm | Max. pumping height: 700 mm |
Using for the first time
When the appliance is connected to the power supply for the first time, it is possible to carry out a function test. The purpose of the function test is to check the installation. It takes about 3 minutes. As the heat pump is not tested, the function test can be started immediately after installation. It cannot be aborted by interrupting the power supply. Once the function test has been run or aborted, it can no longer be selected and the appliance enters the normal operating mode.
| Carrying out the function test | Interrupting the function test | Aborting/skipping the function test |
|
|
|
- Select the user language, see the operating instructions.
- Select viewing angle, see the operating instructions.
- Select V-ZUG-Home mode, see the operating instructions.





























