Monogram Fresh-Food Refrigerator Bar Refrigerator with Icemaker

Safety Information
BEFORE YOU BEGIN
Read these instructions completely and carefully.
- IMPORTANT – Save these instructions for local inspector’s use. Observe all governing codes and ordinances.
- Note to Installer – Be sure to leave these instructions with the Consumer.
- Note to Consumer – Keep these instructions with your Owner’s Manual for future reference.
If you received a damaged refrigerator, you should immediately contact your dealer or builder. Skill Level – Installation of this refrigerator requires basic mechanical, carpentry and plumbing skills. Proper installation is the responsibility of the installer. Product failure due to improper installation is not covered under the GE Appliance Warranty. See the Owner’s Manual for warranty information.
WARNING
- Explosion Hazard. Keep flammable materials and vapors away from the refrigerator. Failure to do so can result in fire, explosion, or death.
- To reduce the risk associated with choking, do not allow children under 3 years of age to have access to small parts during the installation of this product.
- For Monogram local service in your area, call 800.444.1845 or visit monogram.com.
- For Monogram service in Canada, call 888.880.3030
- For Monogram Parts and Accessories, call 800.444.1845 or visit monogram.com.
- For Monogram Parts and Accessories in Canada, call 888.880.3030 or visit monogram.ca.
CONNECTING ELECTRICITY
WARNING
Electrical Shock Hazard.
- Plug into a grounded 3-prong outlet.
- Do not remove the ground prong.
- Do not use an adapter.
- Do not use an extension cord.
- Failure to follow these instructions can result in death, fire, or electrical shock.
Do not, under any circumstances, cut or remove the third (ground) prong from the power cord. For personal safety, this appliance must be properly grounded.
The power cord of this appliance is equipped with a 3-prong (grounding) plug which mates with a standard 3-prong (grounding) wall outlet to minimize the possibility of electric shock hazard from this appliance. Have the wall outlet and circuit checked by a qualified electrician to make sure the outlet is properly grounded? Where a standard 2-prong wall outlet is encountered, it is your personal responsibility and obligation to have it replaced with a properly grounded 3-prong wall outlet. Do not use an adapter.
The refrigerator should always be plugged into its own individual electrical outlet which has a voltage rating that matches the rating plate. A 115 Volt AC, 60 Hz, 15- or 20-amp fused, grounded electrical supply is required. This provides the best performance and also prevents overloading house wiring circuits which could cause a fire hazard from overheated wires.
Never unplug your refrigerator by pulling on the power cord. Always grip plug firmly and pull straight out from the outlet. Immediately discontinue use of a damaged supply cord. If the supply cord is damaged it must be replaced by a qualified service professional with an authorized service part from the manufacturer. When moving the refrigerator away from the wall, be careful not to roll over or damage the power cord.
ZIFI240 AND ZIBI240 MODELS ONLY
PARTS REQUIRED
- Custom handle
- Assembled overlay panel
- Screws
PARTS SUPPLIED
- Handle side trim
- Optional black or stainless steel toekick
TOOLS/HARDWARE REQUIRED
- Adjustable wrench
- Carpenter’s glue (ZIFI240 and ZIBI240 models only)
- Screwdriver (ZIFI240 and ZIBI240 models only)
WARNING CUT HAZARD
Cabinet edges along stamp/cut-out areas may be sharp. Avoid placing hands, fingers, or other appendages near these areas. Failure to do so can result in cuts.
STAINING WOOD PANEL FRONTS
The drawer fronts are unfinished cherry wood. During use, oil from hands may accumulate and stain the wood.
- The drawer fronts may be stained and sealed to match adjacent cabinetry.
- Apply the stain and sealer according to the manufacturer’s instructions. To avoid unpleasant odor, keep the door open to ventilate and allow the stain/sealer to dry completely before using the product.
CARING FOR YOUR STAINLESS STEEL
Before installation or first use, we strongly advise that you polish the stainless steel exterior and handle with a commercially available stainless steel cleaner such as Stainless Steel Magic.™ To preserve and protect the fine finish, we also strongly advise that you apply stainless steel cleaner monthly.
REFRIGERATOR LOCATION
- Do not install the refrigerator/freezer where the temperature will go below 55°F (13°C). It will not run often enough to maintain proper temperatures.
- Do not install the refrigerator/freezer where temperatures will go above 100°F (37°C). It will not perform properly.
- Do not install the refrigerator/freezer in a location exposed to water (rain, etc.) or direct sunlight.
- Install it on a floor strong enough to support it fully loaded.
INSTALL WATER LINE (ZIBI240 AND ZIBS240 MODELS ONLY)
WARNING Connect to potable water supply only.
- A cold water supply is required for automatic icemaker operation. The water pressure must be between 20 and 120 p.s.i. (137-827 kPa).
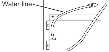
- The water line can enter the opening through the floor or back wall. Route 1/4” O.D. copper tubing or SmartConnect™ kit between the cold water line and water connection location, long enough to extend to the front of the refrigerator.
- Install an optional water filter in the water line near the refrigerator. A water filter is recommended in areas where the water supply contains sand and particles. Installation Instructions are packed with the filter.
NOTE:
The only GE-approved plastic tubing is supplied in the SmartConnect™ Refrigerator Tubing kits. Do not use any other plastic water supply line because the line is under pressure at all times. Other types of plastic may crack or rupture with age and cause water damage to your home.
Shut off the main water supply.
Turn on the nearest faucet long enough to clear the line of water.
- Install a shut-off valve (required) between the ice maker water valve and cold water pipe in a basement or cabinet. The shut-off valve should be located where it will be easily accessible.
- Turn on the main water supply and flush debris. Run about a quart of water through the tubing into a bucket. Shut off water supply at the shut-off valve.
NOTE:
Saddle-type shut-off valves are included in many water supply kits, but are not recommended for this application.
NOTE:
Commonwealth of Massachusetts Plumbing Codes 248CMR shall be adhered to. Saddle valves are illegal and use is not permitted in Massachusetts. Consult with your licensed plumber.
Design Guide
THE INSTALLATION SPACE
NOTE:
Custom Handles may vary. Monogram Handle Depths see D-Handle Depth Range.
SINGLE PRODUCT INSTALLATION

For models ZIFI240, ZIFS240, ZIBI240, ZIBS240
THE INSTALLATION SPACE
All models may be used freestanding.
NOTE:
If installing between frameless cabinets, a 1/2” wide filler strip or side panel may be needed on the hinge side. The filler strip will act as a spacer between the door case and adjacent cabinet and will prevent interference with the cabinet door swing. The width of the opening must include the filler panels.
Additional Specifications
- A 120 volt 60Hz., 15 or 20 amp power supply is required. An individual properly grounded branch circuit or circuit breaker is recommended. Install a properly grounded 3-prong electrical receptacle recessed into the back wall as shown. Electrical must be located on rear wall as shown.
NOTE: GFCI (ground fault circuit interrupter) is not recommended. - Products must operate from separate, properly grounded receptacles.
Black or Stainless Steel Toekick Options
These products are shipped with a stainless steel toe-kick and a black toe kick. For shipping purposes, one of the toe kicks will be secured to the back of the unit, and the second will be installed on the unit. Keep the unused toe-kick and any unused parts for future use.
SIDE-BY-SIDE INSTALLATIONS
For a complete refreshment center, Install a fresh food refrigerator beside a Double-Drawer refrigerator, Beverage Center, or Wine Chiller/Wine Reserve.
- A side-by-side installation requires minimum width openings depending on if the product will be flush or standard mounted and if there are stainless or custom panels. See the chart below.
- For a standard installation: The product must be installed so that the product front will project forward of the adjacent cabinets by the dimensions T or U according to the model in the chart. This position will allow a full door swing and prevent interference with adjacent cabinetry. The opening between cabinets must be a minimum of dimension K.

NOTE:
To minimize interference when products are placed side by side, adjust door swing to put hinges farthest away from each other and handles closest to each other.
THE INSTALLATION SPACE
For a flush installation
Install a 1/4”-wide filler strip on the hinge side. The filler strip will act as a spacer between the door case and adjacent cabinets and will prevent interference with the cabinet door swing. Recess the filler strip 1-5/8” back from the front face of the refrigerator, or even with the front edge of the product case (behind the gasket). The width of the opening must be 24” (including the 1/4” filler strip).
For a standard installation
The product must be installed so that the product front will project forward of the adjacent cabinets by the dimensions T or U according to the model in the chart. This position will allow a full door swing and prevent interference with adjacent cabinetry. The opening between cabinets must be a minimum of dimension K.
PRODUCT CLEARANCES
The Fresh-Food Refrigerator or Bar Refrigerator with Icemaker is factory set for a 110° door swing.
When installed in a corner:
- Allow 14” minimum clearance on the hinge side for a full 110° door swing.
- Allow 4” min. clearance on the hinge side for the 90°door swing and to allow racks to slide out.

- NOTE: Clearances are based on the recommended 2-1/4” handle standoff depth.
- NOTE: Right-hand models illustrated. Allow the same clearances on the opposite side for left hand fresh food model ZIFS240 only. Model ZIBS240 is not available with a left-hand door swing.
- Test the door swing. Carefully open and close the door. The door should not rub or catch on adjacent cabinetry.
Choose the location:
- These products may be closed in on the top and three sides as long as the front is unobstructed for air circulation and proper access to the door.
- Do not install these products where the temperature will go below 55°F (13°C) or above 100°F (37°C).
- These products are not designed to be stacked one over the other.
Flush Installation not allowed with custom Door Panels and Handles
Standard installation
The product must be installed so that the product front will project forward of the adjacent cabinets by the dimensions T or U according to the model in the chart. This position will allow a full door swing and prevent interference with adjacent cabinetry. The opening between cabinets must be a minimum of dimension K.
PRODUCT CLEARANCES
The Fresh-Food Refrigerator or Bar Refrigerator with Icemaker is factory set for a 110° door swing.
When installed in a corner:
- Allow 16” minimum clearance on the hinge side for a full 110° door swing.
- Allow 4-1/2” min. clearance on the hinge side for the 90° door swing and to allow racks to slide out.

- NOTE: Custom handle clearances may vary.
- NOTE: Right-hand models illustrated. Allow the same clearances on the opposite side for left hand fresh food model ZIFI240 only. Model ZIBI240 is not available with a left-hand door swing.
- Test the door swing. Carefully open and close the door. The door should not rub or catch on adjacent cabinetry.
NOTE:
When installing a custom panel and handle, use the above clearances as a general guide but adjust according to the installation.
Choose the location:
- These products may be closed in on the top and three sides as long as the front is unobstructed for air circulation and proper access to the door.
- Do not install these products where the temperature will go below 55°F (13°C) or above 100°F (37°C).
- These products are not designed to be stacked one over the other.
Installation Instructions
REMOVE PACKAGING AND INSTALLATION PARTS
- Remove corner blocks and foam drawer stops.
- Remove all packing material, tape and protective plastic coverings.
- Remove the toekick attached to the back of the unit.
- Remove the custom panel attached to the front of the unit.
WARNING Small objects are a choke hazard for children. Remove and discard any parts not used.
REVERSING THE DOOR (ZIFI240 model only)
WARNING
Follow all steps when reversing the door swing. Failure to follow these instructions, leaving off parts, or over-tightening screws, can lead to the door falling off and result in injury and property damage.
- Remove top hinge and discard. Hold the door in place.
- Remove the black screw-hole cover from top left of the cabinet and insert in top right.

- Remove the top trim cover and discard.

- Remove 4 screws to remove the top door trim (do NOT discard).

- Remove the top hinge pin (do NOT discard it).
- Flip the door 180 degrees.

- Remove 3 screws to remove the bottom door trim (do NOT discard)

- Remove 2 screws to remove the door stop and discard door stop.

- Remove 1 screw to remove the bottom hinge pin and discard hinge pin.
NOTE: Make sure the door is upside down so what was the bottom is now the top. - Insert the top hinge pin.

- Install top door trim onto the new top side of the door.

- Install the new top trim cover that snaps into place.

- Flip the door 180 degrees.
- Install the new left bottom hinge pin and new door stop that are enclosed in the hardware bag.

- Install the bottom trim onto the new bottom side of the door.

- Remove 2 screws to remove the toe kick (do NOT discard).

- Remove 4 screws to remove the bottom right hinge (discard the hinge).
- Install bottom left hinge that is enclosed in hardware bag with existing screws.

- Remove the plastic cap from the top left corner of the toe kick and discard.
- Attach the new plastic cap that is enclosed in the hardware bag to the top right corner of the toe kick.
- Reinstall toe kick to unit with 2 existing screws.
- To install the door, set the door onto the left bottom hinge pin. Holding the door in place, insert the new top left hinge pin into the door and secure the hinge to the case with screws.

WARNING
Follow all steps when reversing the door swing. Failure to follow these instructions, leaving off parts, or over-tightening screws, can lead to the door falling off and result in injury and property damage.
- Remove top hinge and discard. Hold the door in place.
- Remove the black screw-hole cover from top left of the cabinet and insert in top right.

- Remove 2 screws tor remove the toekick (do not discard).

- Remove bottom right hinge and discard the hinge. Keep the screw for installation of the new hinge.

- Attached the bottom left hinge with the screw from the previous step.

- Move the plug on the toe kick from the left to the right and reattach toekick to the unit.

- Remove top plug/bushing from the door using a flat head screwdriver. Discard the bushing.

- Rotate the door 180°.
- Remove the screw from the plug/bushing on the bottom of the door. Discard the plug/bushing but keep the screw.

- Remove the black screw post from the bottom of the door using a flat head screwdriver. Keep the screw post.

NOTE: The top will now be the bottom of the door and the bottom is now the top. - Insert the new top plug/bushing in the new top of the door.

- Rotate the door 180°.
- Re-insert the black screw post in the new bottom of the door.

- Insert the new bottom plug/bushing in the new bottom of the door. Secure with the screw removed from the old plug/bushing.

- To install the door, set the door onto the left bottom hinge pin. Holding the door in place, insert the new top left hinge pin into the door and secure the hinge to the case with screws.

INSTALL CUSTOM 3/4” DOOR PANEL AND HANDLE (ZIFI240 and ZIBI240 models only)
3/4” Overlay Panel Dimensions
Model ZIFI240 and ZIBI240 require a field-installed overlay door panel.
- The overlay panel must be secured to a 1/4” thick backer panel that slides into the trim. A .10” thick spacer panel must be placed between the overlay and backer panel.
- A custom handle of your choice, supplied by your cabinetmaker, must be installed on this overlay panel. Countersink all screws into the backer panel. Screws cannot protrude from the backer panel.

IMPORTANT NOTE:
The maximum total weight for a custom door panel is 25 pounds.
Assemble overlay panels with glue and screws.
- Center spacer panel on the backer panel, left to right and top to bottom. Secure the panels with glue.
- Center the spacer/backer panel on the overlay panel. Secure with glue and screws. Countersink all screws into the backer panel.

Custom Panel Hinge Routing Dimensions
Use a 3/4” router bit to cut a notch into the back side of the assembled panel 3/8” toward the front of the overlay panel, 3/4” deep and 7/8” wide.
NOTE:
Right-hand models illustrated. Cut notches on the opposite side for left-hand fresh food door swing models ZIFI240 and ZIFS240.
Install custom door panel and handle:
- Open door to 90°.
- Remove 5 screws holding trim; lift off trim. Retain screws.
NOTE:
Right-hand models illustrated. Follow the same instructions on the opposite side for left-hand fresh food door swing models ZIFI240 and ZIFS240. - A custom handle of your choice, supplied by your cabinetmaker, must be installed onto the overlay panel before the panels are slid into the trim. Countersink all screws into the backer panel. Screws cannot protrude from the backer panel.

- Slide overlay panel into the door trim.

- Reinstall the side trim using the trim screws removed earlier.

- Place the brushed decorative cover over the side trim to hide the screw heads. Ensure side trim is aligned top to bottom and front to back. Snap into place.

NOTE:
For shipping purposes, the brushed decorative cover will be secured to the front of the unit.
LEVEL
Use an adjustable wrench to turn the leveling legs and raise or lower the product. For built-in installation, adjust the leveling legs slightly below the bottom of the countertop.
INSTALLATION TIP:
Measure floor to underside of countertop inside the opening. If the room floor is higher than the opening floor, adjust the rear leveling legs approximately 1/8” less than the opening height. Screw front legs all the way in to shorten the height at the front. This will allow you to slightly tip the unit into the opening. Once in the correct position, the front legs can be adjusted to level the product.
CONNECT WATER SUPPLY (ZIBI240 and ZIBS240 models only)
WARNING
Connect to potable water supply only.
Electrical Shock Hazard
Attach tubing clamp using existing hole only. DO NOT drill into the refrigerator.
- Locate and bring the water line tubing to the rear of the cabinet.

- Turn the water on to flush debris from the line. Run about a quart of water through the tubing into a bucket, then shut off the water.
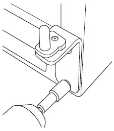
Copper Tubing:
- Slip a 1/4” nut and ferrule over both ends of the copper tubing. Insert the tube into the refrigerator connection on the unit and tighten the nut.
- Turn on the water to check for leaks.
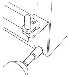
GE SmartConnect™ Tubing:
Follow the instructions provided with the tubing. Over tightening may cause leaks. Turn on the water to check for leaks.
NOTE: Coil excess tubing behind the unit.
CONNECT POWER
- Connect power cord plug to a properly grounded receptacle.
- Check to make sure power is on by opening the door to see if the interior light turns on.
- Bar Refrigerator with Icemaker – The interior fan runs all the time except during defrost cycle when the door is open.
- Fresh-Food Refrigerator – The interior fan runs all the time except when the door is open. See the Owner’s Manual for further explanation of the fan.
SLIDE THE PRODUCT INTO THE CUTOUT
NOTICE:
Do not push against the door panel with your knees. Do not push or lift the unit by the door handle. Damage may occur.
- Open the door and gently push the unit back into the opening with your hands against the sides. Be careful not to entangle power cord.
- In a standard 24” opening, the front face of the stainless steel door will be flush with adjacent cabinetry. A custom panel door may protrude 1-3/4” beyond the surrounding cabinets.
- Check again to be sure the unit is level.
- If the unit is installed under a countertop, adjust the leveling legs until the unit is resting firmly against the underside of the countertop.
- If alignment with adjacent cabinetry is an issue, use a shim to secure the unit against the underside of the countertop.
SET TEMPERATURE CONTROLS
The temperature controls are preset. Refer to the Owner’s Manual for more information. Allow 12–24 hours for the temperature to stabilize.
NOTE:
- The Fresh-Food Refrigerator or Bar Refrigerator with Icemaker operates very quietly. You may not notice the unit running, and when first installed, the fans and motor may not come on immediately – this is normal. If the display is lit and the light is working, the unit is operating.
- NOTE: While performing installations described in this book, safety glasses or goggles should be worn.
- NOTE: Product improvement is a continuing endeavor at Monogram. Therefore, materials, appearance and specifications are subject to change without notice.

































NOTE:





















