

Laser Karaoke LED Microphone Manual
-MIC-AKLED
Specification
- Product Name: Laser Karaoke LED Microphone
- Model Number: MIC-AKLED
- Source Input: micro SD Card/USB/BT/ Flashing Light/LINE-OUT
- Input: DC5V; 500mA
- Output Power: 5W*1
- Bluetooth version: V4.2
- Wireless frequency: 2404-2480MHz
- Product size: 80*74*277mm
- Weight: 407.6g
- LED power: 800mw
- Distortion: <1%
- Battery capacity: 1200mAh
- Material: ABS
- Charging Time: About 4 hours
- Playing Time: About 6 hours (The playing time depends on volume and LED)
- Transmission distance: about 10m
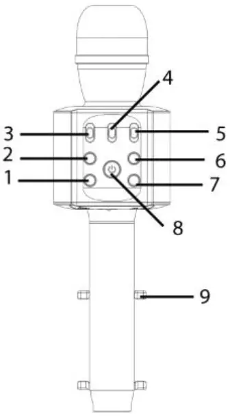
Illustration


1. Play/pause button
2. Previous song
3. Mic volume +/-,slide switch
4. Echo+/-,slide switch
5. Music volume +/-,slide switch
6. Next song
7. LED lights on/off
8. Power on/off; mode: Bluetooth/micro SD card/USB reader
9. Phone holder
10. USB charging socket
11. micro SD card socket
12. Line-out socket
13. USB driver socket
Charging
Please make sure that the MIC-AKLED karaoke speaker is fully charged before first use.
- Connect the product with a USB cable.
- The indicator will show a red light when charging.
- The indicator will turn off when fully charged.
Bluetooth Pairing
- Turn on Microphone (Long press
button ), LED light will come on and will “Bluetooth mode”. - Search “MIC-AKLED” on your device’s Bluetooth mode to pair. Once connected successfully there will be a sound indicating that the device is connected.
- Enter ‘0000’ and click OK if the password is required.
- Compatible with any karaoke App or just simply play a song on your connected device’s music player.
card mode micro SD
1. Turn on MIC-AKLED, insert card preloaded with songs. The microphone will indicate “SD card mode” and start playing songs from card automatically.
2. To select the next song: Short press
the button.
3. To select the previous song: Short press
the button.
4. To Pause the Track: Short press
the button.
5. To Play the Track: Short press
the button.
USB mode
1. Turn on MIC-AKLED, insert USB preloaded with songs. Microphone will indicate “USB mode” and start playing songs from USB automatically.
2. To next song: Short press
the button.
3. To previous song: Short press
the button.
4. To Pause the Track: Short press
the button.
5. To Play the Track: Short press
the button.
Line-out mode
Insert 3.5mm connector to line-out port, MIC-AKLED can output music to earphones or other speakers.
Magic sound
Turn on MIC-AKLED, double click
button to enable magic sound function. Short press
again
Change to next magic sound (total four of magic sound). double click
button again to disable magic sound function.
Warranty Against Defects
Laser Corporation Pty Ltd (“Laser”) warrants your new product to be free from defects in materials and workmanship for 12 months, from the date of purchase, provided that the product is used in accordance with accompanying recommendations or instruction where provided. The benefit of this warranty is in addition to your rights under the Australian Consumer Law and to other rights and remedies of the consumer under a law in relation to the goods or services to which the warranty relates. Through a network of retailers and resellers, Laser will provide you with your choice of a repair, exchange (where possible), or refund (within the Dead on Arrival period) for this product if it becomes defective within the warranty period. This warranty will no longer apply where the defect is a result of alteration, accident, misuse, abuse, normal wear and tear, neglect, or improper storage. Please retain your receipt as proof of purchase.
How to make a product warranty claim:
Step 1: Find your receipt which proves the date of purchase. where the date of purchase cannot be verified, your place of purchase of laser will make an assessment based on the date of manufacture, the condition of the Laser Product, and the type of defect.
Step 2a): Contact your place of purchase. They will assess the nature of the fault and repair, replace or fund the product as per their store refund or warranty policy.
Step 2b): If your place of purchase cannot be contacted, then you can contact Laser. Customer Service with details of your defective Laser Product:
Phone: (02) 9870 3340; or Email: [email protected] or online www.laserco.com.au/warranty (click on “Consumers (End Users)”).
Step 3: The laser will issue you with a Return Authorisation (RA) number within 48 hours. When requested, send us the defective Product and a copy of your receipt. The laser will cover the cost of the return delivery.
Step 4: Wait for us to contact you. Once we have received your defective Laser Product for inspection, we will inform you of our assessment of your claim within 7 days, when we contact you, will firstly let you know whether you have a valid claim under this Warranty, and if so, we will inform you whether your defective Laser Product will be replaced or repaired, together with the number of days you can expect to wait to receive your replaced or repaired Laser Product.
Step 5: For further details on warranty coverage and returns, please check the Terms and Conditions for Warranty Returns section on ww.laserco.com.au/warranty
Our goods come with guarantees that cannot be excluded under the Australian Consumer Law. You are entitled to a replacement or refund for a major failure and compensation for any other reasonably foreseeable loss or damage. You are also entitled to have the goods repaired or replaced if the goods fail to be of acceptable quality and the failure does not amount to a major failure.




















