![]()
Quick Start
UC-SB1 and UC-SB1-CAM
UC Video Conference Smart Soundbars
Crestron® UC Video Conference Smart Soundbars (UC-SB1 and UC-SB1-CAM) are designed to provide speakerphone capabilities for use in a Bring Your Own Device (BYOD) small to medium-sized meeting space. The soundbars feature a built-in microphone, speakers, and camera (UC-SB1-CAM only).
NOTE: With the exception of the integrated camera, the UC-SB1 and UC-SB1-CAM have similar features. For simplicity within this guide, the term “soundbar” is used for both models except where noted.
>> Check the Box
| Item | Qty |
| UC-SB1 and UC-SB1-CAM | 1 |
| Anchor, Drywall, Plastic, 3/8 in. x 1/2 in. (P/N 2052565) | 4 |
| Cable, USB 3.0, A – B, 6 ft (1.83 m) (P/N 2053077) | 1 |
| Foot, 2.3 in. x 0.96 in. x 0.15 in., Rubber (P/N 2052169) | 2 |
| Key, Anchor (P/N 4529654) | 1 |
| Power Cord (P/N 2052498) | 1 |
| Screw, 8-AB x 1-1/2 in., Pan Head, Combo (P/N 2052567) | 4 |
| Template, Overlay (P/N 4529513) | 1 |
>> Install the Soundbar
The soundbar can be placed on a flat surface or mounted on a wall. The soundbar has the following dimensions:
Dimensions (UC-SB1-CAM shown)

Place on a Flat Surface
If placing the soundbar on a flat surface, attach the included rubber feet to the bottom of the soundbar as shown in the following diagram.
Attach Rubber Feet (UC-SB1 shown)

![]()
Mount on a Wall
The soundbar includes anchors that are suitable for use on sheetrock walls up to 1/2 in. thickness. Masonry and other materials may require additional installer-supplied mounting hardware.
NOTES:
- For optimal viewing results, the UC-SB1-CAM should be mounted in a location that places the camera approximately 12 in. above the plane of the room’s conference table.
- When mounting on a wall beneath a display device, leave 3/4 in. (minimum) clearance above the top of the soundbar. Use the included template to allow for sufficient clearance between the soundbar and display device.
The following tools are required to mount the soundbar:
- Drywall saw (not included)
- Drill with 5/16 in. bit (not included)
To mount the soundbar on a wall:
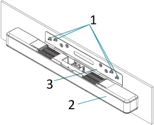
1. The included template provides drill hole locations for the wall mount hardware. Using the center reference hole of the template as a guide, attach the template to the desired mounting location with the center reference line of the template at the center of the desired location.
NOTE: The cutout in the center of the template should provide adequate access for all of the required cabling.

- Drill one of these two holes
- Cutout for soundbar cables
- Center reference hole
- Center reference line
2. Drill two pilot holes on each side of the center reference line as shown in the diagram above. Each side should have one pilot hole drilled in each row of the template.
3. Use a drywall saw to make a cutout for the soundbar cables.
4. Install the four included anchors into the drilled pilot holes.
a. Fold the anchor in the middle and pinch the ends together.

b. Insert the anchor in the hole and tap flush with the wall.

c. Insert the included anchor key to pop the anchor open and lock it behind a hollow wall.
WARNING: Do not force or hammer the key.

d. Drive the screw part of the way into the anchor, leaving approximately 1/4 in. of the screw exposed.

e. Repeat steps a through d for the other 3 anchors.
5. Pivot the soundbar away from the wall bracket.
Pivot the Soundbar

- Wall bracket
- Soundbar
6. Place the wall bracket over the screws, and hand tighten the screws until the wall bracket is secured to the wall.
Place and Secure the Wall Bracket

- 8-AB x 1-1/2 in. screws (x4)
- Soundbar
- Wall bracket
7. Route the cables through the cable cutout, and connect the cables as described in “Hardware Hookup.”
NOTE: The included power cord is typically routed from the wall opening, through the cable cutout, and to the soundbar.
>> Connect the Device
Make the necessary connections as called out in the following diagram. Connect power last.
Soundbar, Rear Panel Connections

- PC
Audio and video to PC - 100-240V~, 0.5A, 50/60Hz
From AC power outlet - AUDIO IN and OUT
Line-level audio input and output - CAMERA
From USB camera
(Pre-connected on UC-SB1-CAM)
- PC: Connect the included USB cable to the PC port and a USB port on the PC.
- CAMERA: Connect a USB camera (sold separately) to the CAMERA port.
NOTE: On the UC-SB1-CAM, the integrated camera is already connected from the factory.
- 100-240V~ 0.5A, 50/60Hz: Connect the included power cord to the 100-240V~, 0.5A, 50/60Hz power input and an AC power outlet.
The soundbar also provides unbalanced, stereo analog input and output jacks (AUDIO IN and OUT, 3.5 mm TRS mini-phone). The input accommodates a line-level audio source, which feeds to the internal amplifier and speakers with no volume control or other signal processing. The output can feed an assistive listening system, and carries the same audio signal as the soundbar speakers.
>> Complete the Installation
Once all connections are made, pivot the soundbar up to the wall bracket until the soundbar locks into place.
>> Operation
Status
The front panel status bar illuminates to provide operational information.
- A green status bar indicates the volume level. Increasing the volume increases the illumination. Decreasing the volume decreases the illumination. When the volume = “0”, the status bar is dark.
Volume on

- Muting the microphone turns the center of the status bar red. Muting the microphone and speaker turns the two outer segments of the status bar red.
Microphone muted

Microphone and speaker muted

System Control
Each soundbar can be used in a BYOD scenario where the soundbar is connected to an end-user’s PC over USB. The soundbar will pass both camera and bi-directional (mic and speaker) audio across a single USB connection.
NOTE: The UC-SB1 supports USB 2.0 and USB 3.0 speeds while the UC-SB1-CAM supports only USB 3.0 speeds.
>> For Additional Information
Scan or click the QR code for detailed product information.
UC-SB1 UC-SB1-CAM
Compliance and Legal
Original Instructions: The U.S. English version of this document is the original instructions. All other languages are a translation of the original instructions.
Regulatory Model: UC-SB
As of the date of manufacture, the product has been tested and found to comply with specifications for CE marking.

This product is listed to applicable UL® Standards and requirements tested by Intertek® services.

Federal Communications Commission (FCC) Compliance Statement
This device complies with part 15 of the FCC Rules. Operation is subject to the following conditions: (1) This device may not cause harmful interference and (2) this device must accept any interference received, including interference that may cause undesired operation.
CAUTION: Changes or modifications not expressly approved by the manufacturer responsible for compliance could void the user’s authority to operate the equipment.
NOTE: This equipment has been tested and found to comply with the limits for a Class A digital device, pursuant to part 15 of the FCC Rules. These limits are designed to provide reasonable protection against harmful interference in a residential installation. This equipment generates, uses and can radiate radio frequency energy and, if not installed and used in accordance with the instructions, may cause harmful interference to radio communications. However, there is no guarantee that interference will not occur in a particular installation. If this equipment does cause harmful interference to radio or television reception, which can be determined by turning the equipment off and on, the user is encouraged to try to correct the interference by one or more of the following measures:
- Reorient or relocate the receiving antenna.
- Increase the separation between the equipment and receiver.
- Connect the equipment into an outlet on a circuit different from that to which the receiver is connected.
- Consult the dealer or an experienced radio/TV technician for help.
Industry Canada (IC) Compliance Statement
CAN ICES-3 (B)/NMB-3(B)
The product warranty can be found at www.crestron.com/warranty.
The specific patents that cover Crestron products are listed at www.crestron.com/legal/patents.
Certain Crestron products contain open source software. For specific information, please visit www.crestron.com/opensource.
Crestron and the Crestron logo are either trademarks or registered trademarks of Crestron Electronics, Inc. in the United States and/or other countries. Intertek is either a trademark or registered trademark of Intertek Group in the United States and/or other countries. The ETL logo is either a trademark or registered trademark of Intertek Testing Services NA in the United States and/or other countries. UL is either a trademark or registered trademark of Underwriters Laboratories, Inc. in the United States and/or other countries. Other trademarks, registered trademarks, and trade names may be used in this document to refer to either the entities claiming the marks and names or their products. Crestron disclaims any proprietary interest in the marks and names of others. Crestron is not responsible for errors in typography or photography.
©2019 Crestron Electronics, Inc.
Crestron Electronics, Inc.
15 Volvo Drive, Rockleigh, NJ 07647
Tel: 888.CRESTRON
Fax: 201.767.7576
www.crestron.com
Quick Start – Doc. 8417C
(2052941)
05.19
Specifications subject to change without notice.





















