ozone LiveX50 1080P Pro Webcam

PRODUCT OVERVIEW
- Omni directional microphone x 2
- Autofocus HD 1080p lens
- Privacy shutter
- Flexible Base / Clip
- Activity light
- Tripod Screw Hole
- USB Cable
- User Manual

System Requirements
- Operating system:
Windows XP / VISTA / Win7 / Win8 / Win10
Linux 2.6.24 and above / Ubuntu
Mac OS 10.6 and above / Android 5.1 and above - 32MB memory or higher
- Direct X VGA card support
INSTALLATION
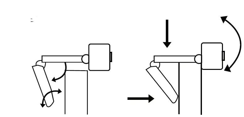
- Webcam placement
Put the webcam where you want it, wether it is on top of a computer screen, desktop or tripod*.
Note: Tripod not included
Placement on a computer screen:
Unfold the webcam clip and follow the steps and methods shown in the figure below to properly place the webcam on top of a screen. Please make sure the clip gets firmly mounted.
- Webcam connection
Connect the camera to the computer through its USB connector.
Warm Tip: For a more convenient user experience on desktop PC, it is recommended to connect the webcam to a PC rear USB connection.

When installation is finished, webcam will be ready for its use and your enjoyment.
Directives
STATEMENT OF COMPLIANCE WITH EUROPEAN UNION DIRECTIVES
Ozone declares that this product is in compliance with the essential requirements and other relevant provisions from the following Directive: 2014/30/EU, as applicable. The technical documentation required by the Conformity Evaluation process is in Ozone´s possession and can be requested through [email protected]
DISPOSAL OF BATTERIES AND ELECTRICAL OR ELECTRONIC EQUIPMENT WASTE
The existence of this symbol on the product, batteries or respective packaging, signifies that this product and the contained batteries can not be disposed as domestic waste. It is the user´s responsibility to deliver this product at a batteries, electrical or electronic recycling pick-up point. The pick-up and separate recycling contributes for the preservation of natural resources and suppresses potential negative consequences for the human health and the environment resultant of inadequate disposal of dangerous substances contained in batteries and electrical or electronic equipment. For additional informations regarding batteries, electrical or electronic recycling pick-up points, please contact your local municipal services.
Warranty
Who the warranty Protects:
This warranty is valid to the original purchaser only.
What the warranty protects:
For your warranty claims, please contact Ozone gaming overseas distribution partners in your country.
Find the distribution partner list at www.ozonegaming.com
Warranty: 2 years from purchasing date. (Depending on the laws of each country)
URL: www.ozonegaming.com
E-mail: [email protected]
What the warranty does not cover:
- Any product, on which the serial number has been defaced, modified or removed.
- Accident, misuse, neglect, fire, water, lightning, or other acts of nature, unauthorized product tion, or failure to follow instructions supplied with the product.
- Repair or attempted repair by anyone not authorized by Ozone gaming.
- Damage to or loss of any programs, data or removable storage media.
- Software or data loss occurring during repair or replacement.
- Any damage of the product due to shipment.
- Removal or installation of the product.
- External causes, such as electric power fluctuations or failure.
- Use of supplies or parts not meeting Ozone gaming´s specifications.
- Normal wear and tear.
- Any other cause which does not relate to a product defect.
Ozone reserves the right for any modifications in text and/or images. If you have any questions regarding technical problems, please contact us via our website: www.ozonegaming.com

Note: Tripod not included



















