Ion Technologies EXP50
Sump Pumps used in Hazadrous
Locations Class 1, Division 1, Group D
OPERATION MANUAL
Dated: 06/17/2022
Document Name: EXP50_OM
SAFETY WARNINGS
Thank you for purchasing your Ion Technologies Pump. To help ensure years of trouble-free operation, please read the following manual carefully.
CAUTION: Read these safety warnings first before installing, servicing, or operating any pump.
This manual contains important information for the safe use of this product. Read this manual completely and follow the instructions carefully. Reasonable care and safe methods relating to the installation and operation of this product should be practiced. Check local codes and requirements before installation.
WARNING: Risk of electrical shock or electrocution. May result in serious injury or death or fire hazard. Installer must disconnect all electrical sources prior to installation, handling or servicing. Only qualified personnel may install this system. NFPA 70/National Electric Code (NEC) or local codes must be followed. System must be properly grounded according to NEC. Do not lift pump by power cord.
WARNING: Biohazard risk. Once waste water source has been connected to system, biohazard risk exists. Installer(s) and/or service personnel must use proper personal protective equipment and follow handling procedures per OSHA 29 CFR 1910.1030 when handling equipment after waste water source has been connected to system.
WARNING: Risk of Asphyxiation. Installer(s) and/or service personnel must use proper personal protective equipment and follow OSHA 29 CFR 1910.146 or OSHA 29 CFR 1926. Pump may be installed in a location classified by as a confined space.
WARNING: Risk of fire or explosion. Do not smoke or use open flames in or around this system. This system is not intended for use in hazardous locations per NFPA 70 National Electric Code. Do not pump flammable liquids. Consult factory for optional equipment rated for hazardous location use.
WARNING: Cutting risk. Risk of serious cutting or amputation exists. Disconnect all power sources prior to servicing pump. Pump may start without warning.
CAUTION: Do not modify the cord and plug. When using the cord plug into a grounded outlet only. When wiring to a system control, connect the pump ground lead to the system ground.
CAUTION: Do not run the pump dry. Dry running can overheat the pump (causing burns to anyone handling it) and will void the warranty.
The pump normally runs hot. To avoid burns, allow it to cool for 30 minutes after shut down before handling it.
Submersible sump pumps are not approved for use in swimming pools, recreational water installations, decorative fountains or any installation where human contact with the pumped fluid is common.
Do not throw away or lose this manual. Keep it in a safe place so that you may refer to it often for the continued safe operation of the product.
OVERVIEW
Motor HP & Voltages
The MSP-EXP50H sump pumps are offered in single and three phase. Voltages will vary according to the application and can be seen in the tables in this manual.
Electrical Controls
All of these pump models must be used with a control panel. Ion Technologies built control panels are designed to supply the correct electrical controls, motor starting equipment and include the circuitry for moisture and heat sensors. It is recommended that a Ion Technologies built control panel be used so that all warranties apply.
General Construction
The MSP-EXP50H motor construction is designed to meet CSA requirements for Class 1, Group D sewage applications. These models are approved and name plated with a CSA file number. The motor chamber and seal chamber are filled with a high dielectric type oil for improved lubrication and heat transfer of the bearings and motor. The oil should never require replacement under normal operating conditions. An air space above the oil level in both the seal and motor chambers is provided to allow for the expansion of the oil when at operating temperature. The power and control lines are sealed and strain relieved on the outside entrance with a standard cord grip, and internally through the use of a dielectric potting resin surrounding the electrical wires.
Internal connection wiring diagrams are shown in Figure 3. All of the pump fasteners and shafts are made from corrosion resistant stainless steel, while the pump castings are made of ASTM A-48 Class 30 cast iron, and the multi vane vortex impellers are made from Class 20 cast iron.
General Installation
Various configurations and methods of plumbing this series of sump pumps may be used.
Note: If the MSP-EXP50H hazardous location pumps are used in conjunction with a rail lift-out system, it must be a non sparking system for hazardous locations.
CAUTION: If the following guidelines are not followed, the CSA hazardous location listing is void.
These pumps are to be used for handling septic tank effluent, sewage, storm water, waste water removal, sump drainage and de-watering only. Do not use in other hazardous locations. These motors must be repaired and serviced only at a Ion Technologies authorized service center. Any unauthorized field repair voids warranty and the hazardous location rating.
Motor
Each motor is provided with heat sensor thermostats attached directly to the motor windings. The thermostats open if the motor windings see excessive heat and, in turn, open the motor contactor in the control panel, breaking the power to the pump. When the motor is stopped due to an overheat condition, the control panel may require a manual restart after the motor has cooled. This circuitry is provided in the control panel designs.
The MSP-EXP50H pumps are equipped with internal thermostats. The MSP-EXP50H models are designed to meet Class B heat rise of 266°F (130°C).
Note: Failure to use proper circuitry and to connect the motor overheat protection in the control panel would negate all warranties and CSA Listings.
Motor Seal Failure
WARNING: The seal chamber is oil filled and provided with moisture sensing probes to detect water leakage through the lower shaft seal.
The probes can also detect moisture present in the upper motor housing.
The presence of water energizes a red seal leak warning light at the control panel. This is a warning light only, and does not stop the motor. It indicates a leak has occurred and the pump must be repaired. Normally, this indicates the outboard seal has leaked. Allowing the unit to operate too long after the warning could cause upper seal leakage along with motor failure.
The resistance across the moisture sensing (seal failure) probes should be checked after a seal leak warning light has lit. This can be done by disconnecting the red and orange control wires from the control panel, and measuring the resistance with an ohmmeter between the wires. The MSP-EXP50H reading should be above 30,000 ohms. If the measured values are below those indicated above, the pump may have a lower seal failure and require service.
On the Ion Technologies control panels the seal leak test switch tests the seal leak circuit continuity. When pushed the seal leak test bulb should light. If the test bulb does not light it means either the wiring circuitry to the seal leak probes has been broken or the bulb has burned out.
Note: Ion Technologies built control panels supply the correct circuitry for moisture and heat sensor connections. Failure to install the correct circuitry with proper connection would negate warranty and CSA Listing. See Figure 2.
Motor Power Cord, Control Cord and Cord Cap Assembly
Each motor power cord has 4 conductors – white, black, red and green. For a single phase motor the black is connected to the common lead, the white is connected to the main lead, while the red is connected to the start circuitry, and the green is attached to an approved ground per national and/or local code. The rotation of a single phase pump is set properly at the factory.
For three phase motor, the black, white, and red conductors are power leads and the green is ground. Note: Rotation should be clockwise when observed from the top of the pump. This can be checked by noting which direction the pump torques upon initial starting. A properly rotating pump will torque counter clockwise upon start.
WARNING: Always check three phase pumps for proper rotation before installing pumps.
The control cable has 5 conductors – black, white, red, orange and green. White and black connect to the heat sensor terminals in the control panels; red and orange connect to the seal failure terminals in the control panel; and the green connects to the ground in the control panel.
The cord cap is epoxy potted. This allows the cord cap, with cords, to be removed from the motor. With this arrangement, the cords can be permanently installed in a sealed fitting in the sump. This should be an approved junction box for the specific hazardous locations. The control and power cables cannot be spliced!
Note: Each cable has a green ground wire and must be properly grounded per the National Electric Code and local codes.
Electrical Motor Controls
All electrical controls and motor starting equipment should be as specified in these instructions. Consult Ion Technologies for any acceptable alternatives. For hazardous locations the controls and control panel must be installed outside the hazardous area. Only approved controls that are intrinsically safe may be used with these pumps.
Junction Box
If a junction box is used in a hazardous location, it must be an approved type with approved cord connectors. Wires from the junction box must pass through an approved seal connector for hazardous locations.
Level Sensing Controls
Intrinsically safe-type float controls are recommended for all applications and required for hazardous locations. An intrinsically safe control panel relay will limit the current and voltage to the level controls. A Ion Technologies control panel can be supplied with this type circuitry.
Electrical Connections
All electrical wiring must be in accordance with local code and only qualified electricians should make the installations. Complete wiring diagrams are included for use in making the installation. All wires should be checked for shorts to ground with an ohmmeter or megger after the connections are made. This is important, as one grounded wire can cause failure of the pump, control panel or personal injury.
CHECK LIST FOR ISSUES
Checking for Moisture in Motor
Use an ohmmeter or a megger and set on highest scale. Readings on the large power cord between any of the conductors red, black or white to the green conductor or to the motor housing should be greater than 1,000,000 ohms (megohm). A motor will probably run with a lower reading, but if the pump is out of service and the value of the reading is below 1,000,000 ohms (1 megohm), the motor housing and stator should be removed and baked in a drying oven at 220°F. This service work should be done only at an authorized service station.
Note: Readings should be taken with line leads disconnected from the control panel.
Resistance of Windings Every motor winding has a fixed resistance. The windings must check close to the values given in the tables to operate properly.
See the motor electrical data chart (page 5). Use an ohmmeter and set to the one ohm scale. Read the resistance with the motor leads disconnected from the pump control panel.
TROUBLESHOOTING
If control panel indicates malfunction, consult qualified electrician.
Pump fails to operate.
- Impeller may be partially clogged causing pump to operate at very reduced capacity.
- Gate valve or check valve may be clogged causing low pump flow.
- Pump may be air locked.
Circuit breaker trips
- Reset breaker by pushing completely down on handle then back to On position. If breaker trips again in few seconds it indicates excessive load probably caused by a short in the motor or control box. Check out instructions given with control box before pulling pump.
- If this condition happens after an electrical storm, motor or control box may be damaged by lightning.
- Resistance reading of the motor with lead wires disconnected from the control box can determine if trouble is in motor or control box.
Pump is noisy and pump rate is low.
- Impeller may be partially clogged with some foreign objects causing noise and overload on the motor.
Grease and solids have accumulated around pump and will not pump out of basin.
- Lower control switch may be set too high.
- Run pump on hand operation for several minutes with small amount of water running into basin to clean out solids and grease. This allows pump to break suction and surge which will break up the solids. If level switch is set properly this condition generally will not occur.
- Trash and grease may have accumulated around floats causing pump to operate erratically.
CAUTION: Pump should be thoroughly cleaned of trash and deposits before starting disassembly operations.
CAUTION: Disconnect all power and control wires to motor at control panel before starting maintenance. Never rely on opening circuit breaker only.
DIMENSIONS

MOTOR ELECTRICAL DATA
| Standatd | HP | Volts | Phase | Hertz | Run Amps | Service Factor Amps | Service Factor |
| MSP-EXP5OH-21 | 230 | 1 | 60 | 5. | 6. | 1.2 1.2 | |
| MSP-EXP5OH-23 | 230 | 3 | 60 | 3. | 4. |
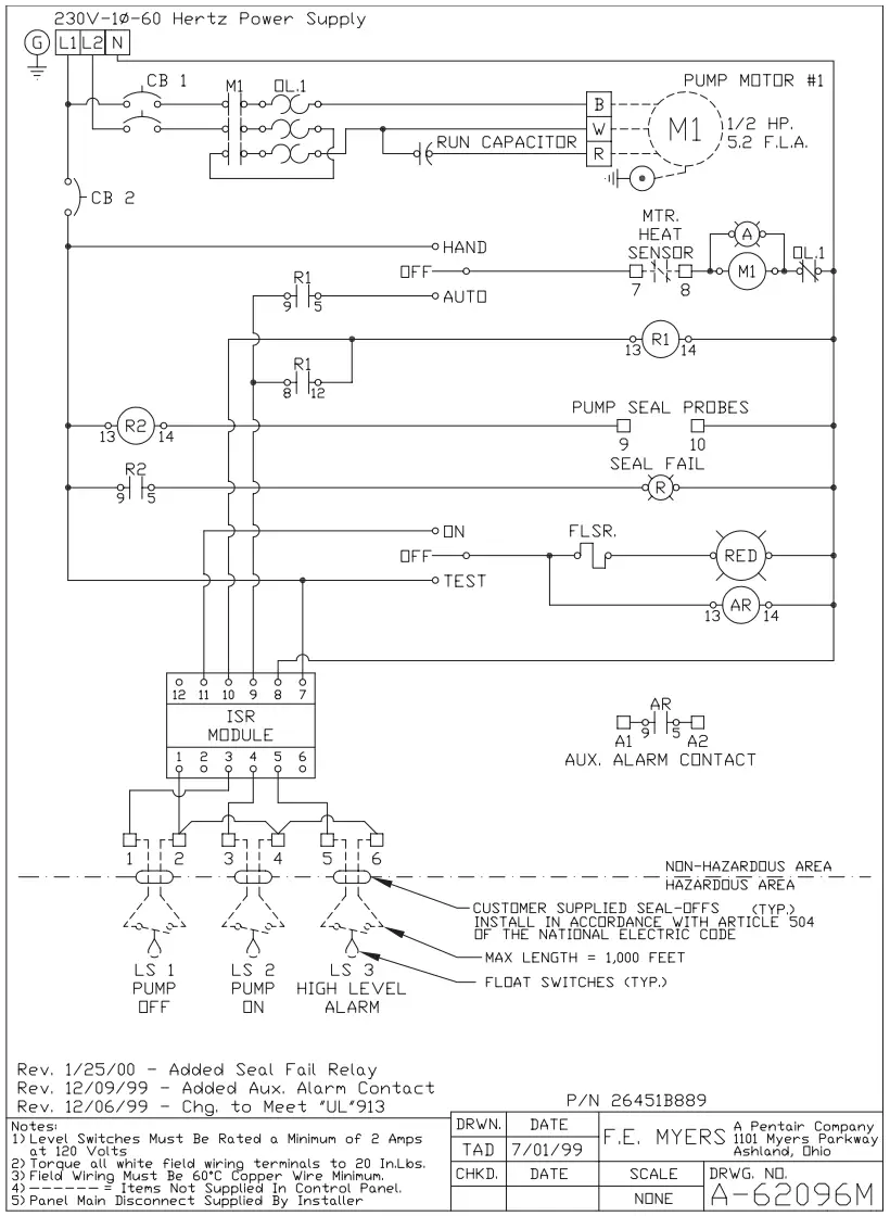
Wiring Diagram 230V, 1Ø




NOTES:
- Level switches must be rated a minimum of 2 amps @ 120V.
- Torque all white field wiring terminals to 8 in. lbs.
- Field wiring must be 60°C copper wire minimum.
- ———- = items not supplied in panel.
1 Year Residential Warranty
- Coverage and Term. Metropolitan Industries, Inc. (“Metropolitan”) warrants to the original purchaser (the “Buyer”) of each Ion® product (the “product”), that any part thereof which proves to be defective in material or workmanship within one (1) year from date of manufacture, will be replaced at no charge with a new or remanufactured part, F.O.B. factory. Buyer shall be responsible for all freight charges and all costs of fi eld labor or other charges incurred in the removal and/or reinstallation of any product, part or component thereof.
- Exclusions. THE WARRANTY IS SUBJECT TO THE FOLLOWING CONDITIONS AND EXCLUSIONS:
(a) The Warranty excludes products or workmanship which becomes defective as a result of: (i) earthquake, fi re, storms, the elements or any other acts of God; (ii) normal wear and tear from use; (iii) accident, misuse, abuse or neglect; (iv) modifi cations made by Buyer or any third party, other than Metropolitan; and (v) Buyer’s failure to properly install, maintain, service and/or operate the product under normal conditions and according to manufacturer’s instructions.
(b) Metropolitan shall not be responsible for, and the Warranty shall not cover, extended damage which occurs because of Buyer’s failure to notify Metropolitan promptly in writing of apparent defects.
(c) Any part or component designated as manufactured by anyone other than Metropolitan shall be covered only by the express warranty of the manufacturer thereof.
(d) The Warranty shall lapse upon Buyer’s failure to fully comply with the terms and conditions of its contract with Metropolitan, including Buyer’s failure to pay the purchase price for the product or any portion thereof. Buyer’s subsequent compliance with the terms and conditions of any such contract, will not cause the term of the Warranty to extend beyond the time period set forth above.
(e) No actions taken by Metropolitan to correct a defect in a product shall extend the Warranty beyond the period set forth above. Metropolitan shall not be obligated to remedy any defect, where otherwise required pursuant to the Warranty unless and until Buyer notifi es Metropolitan in writing of the defect and then only if such notifi cation is made prior to the expiration of the period set forth above. - Process of Claims and Repairs. Metropolitan agrees that if the product or any part or component thereof shall fail to conform to the terms of this Warranty, Metropolitan shall replace such nonconforming product, part or component at the original point of delivery and furnish instruction for its disposition. Any transportation charges involved in such disposition and all costs of fi eld labor or other charges incurred in the removal and/or reinstallation of any product, part or component thereof shall be the responsibility of Buyer.
- Limitation on Liability. Notwithstanding any provision to the contrary, Metropolitan’s entire liability under this Warranty shall not in the aggregate exceed, and Buyer’s exclusive and sole remedies are, to the extent permitted by law, shall be to secure replacement of the defective product. UNDER NO CIRCUMSTANCES SHALL METROPOLITAN BE LIABLE UNDER THE WARRANTY FOR ANY INDIRECT, PUNITIVE, SPECIAL, EXEMPLARY, CONSEQUENTIAL OR INCIDENTAL DAMAGES (INCLUDING LOST PROFITS, REVENUE, USE OR ECONOMIC ADVANTAGE).
- Express Waiver of Any Other Warranties. THE EXPRESS WARRANTY SET FORTH IN THIS WRITTEN WARRANTY IS THE ONLY WARRANTY MADE BY METROPOLITAN, OR ANY OTHER PARTY, IN CONNECTION WITH ANY PRODUCT PURCHASED FROM METROPOLITAN. NEITHER METROPOLITAN, NOR ANY OTHER PARTY, MAKES ANY OTHER EXPRESS OR IMPLIED WARRANTY WHICH IS NOT SET FORTH HEREIN, AND METROPOLITAN HEREBY DISCLAIMS AND BUYER HEREBY WAIVES ALL IMPLIED WARRANTIES, INCLUDING THE IMPLIED WARRANTY OF MERCHANTABILITY AND THE IMPLIED WARRANTY OF FITNESS FOR A PARTICULAR PURPOSE.
- Not Transferable. The Warranty may not be transferred and shall be void on the sale or other transfer of the product.
- Products and Warranty Subject to Change. Metropolitan reserves the right to make revisions to its products and their specifi cations, and to revise this Warranty and related information without notice.



















