K2 PUMPS SPP03301K Pedestal Sump Pump

PERFORMANCE
SKU | HP | GPH of Water @ Total Feet of Lift | Max. Lift | |||
0 ft. | 5 ft. | 10 ft. | 15 ft. | |||
| SPP03301K | 1/3 | 3550 | 3000 | 2400 | 1680 | 20 ft. |
| SPP05001K | 1/2 | 4600 | 4100 | 3420 | 2400 | 22 ft. |
SAFETY INSTRUCTIONS
- Do not pump flammable or explosive liquids such as oil, gasoline, kerosene, ethanol, etc. Do not use in the presence of flammable or explosive vapors. Using this pump with or near flammable liquids can cause an explosion or fire, resulting in property damage, serious personal injury, and/or death.
- ALWAYS disconnect the power to the pump before servicing.
- Do not touch the motor housing during operation. The motor is designed to operate at high temperatures. Do not disassemble the motor housing.
- Do not handle the pump or pump motor with wet hands or when standing on a wet or damp surface, or in water before disconnect the power.
- Release all pressure and drain all water from the system before servicing any component.
- Secure the discharge line before starting the pump. An unsecured discharge line will whip, possibly causing personal injury, and/or property damage.
- Extension cords may not deliver sufficient voltage to the pump motor. Extension cords present a life threatening safety hazard if the insulation becomes damaged or the connection ends fall into water. The use of an extension cord to power this pump is not permitted.
- Wear safety goggles at all times when working with pumps.
- This unit is designed only for use on 115 volts (single phase), 60 Hz, and is equipped with an approved 3- conductor cord and 3-prong grounded plug. Do not remove the ground pin under any circumstances. The 3-prong plug must be directly inserted into a properly installed and grounded 3-prong, grounding-type receptacle. Do not use this pump with a 2-prong wall outlet. Replace the 2-prong outlet with a properly grounded 3-prong receptacle (a GFCI outlet) installed in accordance with the National Electrical Code and local codes and ordinances. All wiring should be performed by a qualified electrician.
- Protect the electrical cord from sharp objects, hot surfaces, oil, and chemicals. Avoid kinking the cord. Do not use damaged or worn cords.
- Failure to comply with the instruction and designed operation of this unit may void the warranty. ATTEMPTING TO
USE A DAMAGED PUMP can result in property damage, serious personal injury, and/or death. - Ensure that the electrical circuit to the pump is protected by a 15 Amp fuse or circuit breaker.
- Do not lift the pump by the power cord.
- Know the pump and its applications, limitations, and potential hazards.
- Secure the pump to a solid base. This will aid in keeping the pump in a vertical orientation. This is critical in keeping the pump operating at maximum efficiency. It will also help prevent the pump from clogging resulting in premature failure.
- Periodically inspect the pump and system components to ensure the pump suction screen is free of mud, sand, and debris. Disconnect the pump from the power supply before inspecting.
- Follow all local electrical and safety codes, along with the National Electrical Code (NEC). In addition, all Occupational Safety and Health Administration (OSHA) guidelines must be followed.
- The motor of this pump has a thermal protector that will trip if the motor becomes too hot. The protector will reset itself once the motor cools down and an acceptable temperature has been reached. The pump may start unexpectedly if it is plugged in.
- Ensure the electrical power source is adequate for the requirements of the pump.
- This pump is made of high-strength, corrosion-resistant materials. It will provide trouble-free service for a long time when properly installed, maintained, and used. However, inadequate electrical power to the pump, dirt, or debris may cause the pump to fail. Please carefully read the manual and follow the instructions regarding common pump problems and remedies.
PRE-INSTALLATION
APPLICATION
- The non-submersible pedestal sump pump is designed for sump water removal applications. It is not engineered to be run continuously as a “fountain” or “waterfall” pump.
TOOLS REQUIRED
- Flathead Screwdriver

- Phillips Screwdriver

- Channel Locks

- Pipe wrench

- Hacksaw

- Cable Ties

- Safety goggles

- Tape Measure

MATERIALS REQUIRED (NOT INCLUDED)
NOTE: Parts shown below not to scale.
- Threaded Adapter (Pipe to Pump)

- 1-1/4’’ or 1-1/2’’ ABS or PVC Pipe

- Thread Tape

- 1-1/4” or 1-1/2”. check valve

- ABS or PVC Cement (to match the pipe)

- 1-1/4”. or 1-1/2”.90° Elbow

SPECIFICATIONS
Power supply | 115V, 60 HZ., 15 Amp Circuit |
| Liquid temp. range | 32°F to 77°F (0°- 25°C) |
| Discharge size | SPP05001K: 1-1/2 in. FNPT or 1- 1/4 in. FNPT (with adaptor) SPP03301K: 1-1/4 in. FNPT |
| Sump basin | Minimum 12 in. (30.4cm) diameter, 18 in. (45.7cm) depth |
| Switch on/off (SPP03301K) | Preset: On: 11 in. (280 mm), Off: 4.3 in. (110 mm) |
| Switch on/off (SPP05001K) | Preset: On: 12.6 in. (320 mm),Off: 4.7 in. (120 mm) |
Float switch is factory preset to optimize performance and product life.
Only adjust the float on and off position if necessary through the steps below:
INSTALLATION
Attaching the discharge pipe to the pump discharge
- Attach the discharge pipe to the pump discharge.
- Drill an 1/8” anti-airlock hole as shown. The hole must be in the sump.
NOTE: If the discharge pipe has thread, you can thread the pipe into the pump discharge. If the discharge pipe does not have thread, you can thread an adaptor (thread-slip adaptor sold separately) into the pump discharge.
Connecting a check valve to the discharge pipe
- Install a check valve (not included) (1) in the vertical discharge pipe (2). Be sure the flow is away from the pump.

Lowering the pump into the sump pit
- Install the pump (1) on a solid, level foundation, as near as possible to the center of the sump pit (2).

Ready for operation
- After all piping and controls have been installed, the unit is ready for operation.

OPERATION
Plug the pump power cord plug into a 115V power outlet. Check the pump by filling the sump pit with water and observe the pump’s operation through one complete cycle. Make sure the pump cannot move in the sump pit and the float switch moves freely up and down.
When the float switch moves up to the pump “On” position, the pump will start operating. When the water lowers to a certain level, the float switch will turn off the pump.
WARNING: Do not handle the pump or pump motor with wet hands or when standing on a wet or damp surface, or in
water.
CAUTION: Do not run the pump dry. Operating the pump without water will cause damage to the seals and will cause the pump to fail, thereby voiding the pump’s warranty.
NOTE: Place upright on a solid base.
CARE AND CLEANING
CAUTION: Never use the power cord to lift the pump. To avoid skin burns, unplug the pump and allow time for it to
cool after periods of extended use.
Do
- Periodically unplug the pump, making certain your hands are dry, and you are not standing in water. When the power is disconnected, inspect the pump inlets and remove all debris, then plug pump back into the grounded (GFCI) outlet.
Do Not
- Disassemble the motor housing. This motor has NO repairable internal parts, and disassembly may cause leakage or dangerous electrical wiring issues.
- Lift up the pump by the power cord.
To clean a pump clogged with debris:
- Unplug the pump from electrical power.
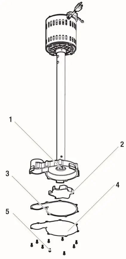
- Unscrew the stainless screws (5), and remove the seal plate (4).
- Use a flathead screwdriver to hold the shaft (1), then turn the impeller counter clockwise to release the impeller (2).
- Remove debris from around the shaft and on/under the impeller.
- Reassemble the pump

TROUBLESHOOTING
| Problem | Possible Cause | Corrective Action |
| The pump does not start or run. |
|
|
| The pump operates but pumps little or no water. |
|
|
| The pump starts and stops too often. |
|
|
| The pump will not shut off. |
|
|
WARRANTY
K2 Pumps Limited Warranty
WHAT THIS WARRANTY COVERS
This Limited Warranty is effective September 1, 2020 and replaces all undated warranties dated prior to September 1, 2020.
K2 Pumps (K2) warrants to the original consumer purchaser (You) that its products are free from original defects in material and workmanship for at least one year (warranty varies depending on model; see box or K2 website for specific warranty information) from the date of purchase (the Warranty Period). Repair Parts and Accessories are warranted for 90 days from the date of purchase. During the Warranty Period, K2 will repair or replace, at no cost to you, products that have been examined by K2 and found to be defective in materials or workmanship
Do not return product to the retail store.
For technical support and parts, call K2 Customer Service at 844-242-2475.
WHAT THIS WARRANTY DOES NOT COVER
This Warranty does not cover use of the product in a non-residential application, improper installation and/or maintenance of the product, damage due to misuse, acts of God, nature, vandalism or other acts beyond control of K2, owner’s acts or omissions, use outside the country in which the product was initially purchased and resale of the product by the original owner. This warranty does not cover pick up, delivery, transportation or house calls. However, if you mail your product to a K2 Sales and Service Center for warranty service, cost of shipping will be paid one way. This warranty does not apply to products purchased outside of the United States, including its territories and possessions, outside of U.S. Military Exchange and outside of Canada. This warranty does not cover products purchased from a party that is not an authorized retailer, dealer or distributor of K2 products
OTHER IMPORTANT TERMS
This warranty is not transferable and may not be assigned. This Warranty shall be governed and construed under laws of the state of Michigan. The Warranty Period will not be extended by any replacement or repair performed under this Warranty. THIS WARRANTY IS THE EXCLUSIVE WARRANTY AND REMEDY PROVIDED BY K2. ALL OTHER WARRANTIES, EXPRESSED OR IMPLIED, INCLUDING WARRANTIES OR MERCHANTABILITY OR FITNESS FOR PARTICULAR PURPOSE, ARE DISCLAIMED. IN NO EVENT WILL K2 BE LIABLE FOR ANY SPECIAL, INDIRECT, INCIDENTAL OR CONSEQUENTIAL DAMAGES OF ANY KIND OR NATURE TO OWNER OR ANY PARTY CLAIMING THROUGH OWNER WHETHER BASED IN CONTRACT, NEGLIGENCE, TORT, OR STRICT PRODUCTS LIABLITY OR ARISING FROM ANY CAUSE WHATSOEVER. Some states do not allow for the exclusion of consequential damages, so the above exclusion may not apply to you. This warranty gives you specific rights. You may also have other rights that vary from state to state
Customer Support
Questions, problems, missing parts? Before returning to the store call
K2 Customer Service 8 a.m. – 6 p.m., EST, Monday-Friday
1-844-242-2475
www.K2pumps.com
GP Enterprises Co., Ltd. 1436 Brook Drive, Downers Grove, IL 60515
Phone: 844-242-2475 / Web: www.K2pumps.com

































